Наличие полуглинистых грунтов на трассе газопровода и в особенности влажной глины (вызывает пучение грунта, т.к. он в осенний морозный период увеличивается в объеме до 8,3 %), сложный рельеф местности, наличие перпендикулярно проходящих различных инженерных коммуникаций требует размещения запорной арматуры в глубоких (рис. 8.9) и мелких (рис. 8.10) колодцах.
Для возможности управления задвижкой с поверхности земли шток последней удлиняется и выводится под ковер. При установке колодцев в водонасыщенных грунтах производится их гидроизоляция: наружные стены колодца оклеиваются борулином, бризолом или штукатурятся водонепроницаемым цементом.

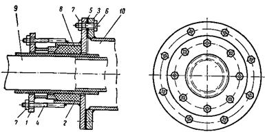
Рис. 8.9. Глубокий колодец для задвижки с компенсатором:
1 – колодец; 2 – люк; 3 – задвижка; 4 – приямок (для воды); 5 – компенсатор линзовый

Рис. 8.10. Установка крана на гнутых отводах в мелком колодце:
1 – гнутый отвод двойной; 2 – кран; 3 – колодец
Для снятия монтажных и температурных напряжений с фланцев задвижки в колодце после нее, считая по ходу газа, устанавливается линзовый компенсатор. Наличие компенсатора облегчает монтаж и демонтаж задвижек в процессе эксплуатации. На рис. 8.11 показан двухлинзовый компенсатор, рассчитанный на давление до 6 ат.

Рис. 8.11. Двухлинзовый компенсатор с одним фланцем
1 – полулинза; 2 – кронштейн; 3 – рубашка; 4 – патрубок; 5 – тяга; 6 – царга;
7 – фланец; 8 - гайка
При пересечении железных и шоссейных дорог, коллекторов и колодцев при необходимости прокладки газопроводов в непосредственной близости от жилых и общественных зданий или на малой глубине применяются футляры. Футляры используют также при производстве работ закрытым способом. В этом случае футляр предварительно продавливают через грунт, а потом в него укладывают газопровод.
На рис. 8.12 показан футляр, предназначенный для газопроводов с давлением до 3 ат при пересечении железных дорог, трамвайных путей и т.д. Футляр оборудуется контрольной трубкой, выводимой под ковер. С помощью трубок по наличию или отсутствию газа контролируется плотность газопровода. Пример конструкции опоры газопровода в футляре показан на рис. 8.13. При наличии блуждающих токов применяются диэлектрические опоры.

Рис. 8.12. Конструкция конца футляра
1 – битумная эмаль; 2 – промасленная пенька; 3 – контрольная трубка;
4 – муфта 2”; 5 – пробка; 6 – ковер малый; 7 – подушка под ковер; 8 – опора

Рис. 8.13. Конструкция опоры газопровода в футляре
1 – скоба; 2 – крепежная проволока; 3 – полоз; 4 – планка; 5 – обертки из гидроизола
Футляры для газопроводов высокого давления имеют сальниковые уплотнения и трубопровод, отводящий газ из футляра в атмосферу при неплотности газопровода или при разрыве стыка. Этот трубопровод отводится от пересекаемого препятствия в безопасное место и оборудуется дефлектором. На рис. 8.14 показано сальниковое уплотнение для футляров.

Рис. 8.14. Сальниковое уплотнение для футляра
1 – грундбукса; 2 – корпус; 3 – фланец; 4 – шпилька; 5 – паронитовая прокладка;
6 – болт; 7 – гайка; 8 – набивка из промасленной пеньки или аналогичного материала;
9 – газопровод; 10 – футляр
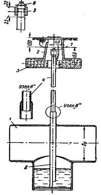
При использовании влажного газа в нижних точках газопроводов устанавливаются сборники конденсата. Конструкция и размеры сборников конденсата зависят от давления газа и количества конденсирующейся влаги. Конденсатосборники небольшой емкости целесообразно устанавливать и при применении осушенного газа. В этом случае они используются для удаления влаги, попавшей в газопровод при строительстве, при эксплуатационных промывках и т.д. Кроме того, трубки конденсатосборников используются при продувках газопроводов и выпуске газа из них при ремонте.
На рис. 8.15 показан сборник конденсата для газопроводов низкого давления при использовании осушенного газа. Конденсат периодически удаляют через трубку с помощью насоса или вакуум-цистерны. На трубке имеется электрод для измерения разности потенциалов между трубой и землей.

Рис. 8.15. Сборник конденсата для больших газопроводов осушенного газа низкого давления:
1 – корпус; 2 – ковер; 3 – подушка под ковер; 4 – трубка 34/4 для удаления конденсата; 5 – стальная муфта ø1”; 6 – пробка из ковкого чугуна; 7 – пруток для замера разности потенциалов труба – грунт; 8 – труба внутри корпуса для удаления конденсата 42/3,5
Контрольные проводники (рис. 8.16) предназначены для замера электрического потенциала газопровода. Это необходимо для своевременного обнаружения утечки постоянного тока с рельсов трамвая, метрополитена и других источников на подземные газопроводы. Токи утечки вызывают электрохимическую коррозию газопроводов. Для замера потенциала газопровода необходимо плюс вольтметра подсоединить к центральному проводу, приваренному к газопроводу, а минус – к защитному кожуху проводника, который нижней неизолированной частью сообщается с грунтом.

![]() |
Коверы предназначены для защиты выводных трубок конденсатосборников, гидрозатворов, контактных головок контрольных проводников и контрольных трубок от механических повреждений. Ковер представляет собой чугунный или стальной колпак с крышкой. Устанавливают коверы на бетонные или железобетонные основания, обеспечивающие их устойчивость и исключающие просадку. Крышка ковера на проезжей части улицы находится заподлицо с дорожным покрытием и открывается против движения транспорта. В непроезжей части улицы, например на газонах, крышку ковера следует располагать выше поверхности земли на 5 см.
Для быстрого нахождения коверов, люков колодцев и трасс подземных газопроводов устанавливают настенные знаки.
1. Какие стальные трубы применяют для строительства газопроводов?
2. Стали труб для газопроводов, сколько должны содержать углерода, серы и фосфора?
3. Какую минимальную толщину стальных труб для газопроводов допустимо принимать при подземной, наземной и надземной прокладке?
4. Какую длину труб рекомендуется применять, и какие требования к сварным швам?
5. В каких случаях применяют гибкие газопроводы, из каких материалов их изготавливают?
6. Из каких металлов сооружают магистральные газопроводы и трубопроводы сжиженного природного газа?
7. Какие преимущества перед стальными имеют пластмассовые трубы для газопроводов?
8. Какие недостатки имеют пластмассовые трубы?
9. Что Вы знаете о прочности пластмассовых труб, и на какое давление их применяют?
10. Как определить номинальную толщину стенки пластмассовой трубы в зависимости от давления в газопроводе?
11. Какие способы соединения пластмассовых труб в нитку газопровода Вы знаете?
12. Какие преимущества имеют пластмассовые газопроводы при строительстве?
13. Что Вы знаете об углеродистых сталях?
14. Что Вы знаете о легированных сталях?
15. Как обозначаются марки легированных сталей, и какие элементы используются для их легирования?
16. Что Вы знаете о цветных металлах, и в каких случаях они используются?
17. Что вы знаете о пластических массах?
18. В каких случаях применяют винипласт, полиэтилен и почему?
19. Для чего применяют набивочные материалы и из чего их изготавливают?
20. Какие методы соединения труб Вы знаете?
21. По какому признаку выбирается тот или иной тип соединения труб газопроводов?
22. Каким видом сварки соединяют трубы газопроводов? Какие основные требования предъявляются к сварным соединениям?
23. Каким видом соединяют винипластовые и полиэтиленовые трубы газопроводов?
24. Что Вы знаете об обычных фланцевых соединениях и изолирующих фланцах?
25. Представьте схемутрех типов запорных органовпо принципу их действия. В чем их отличия?
26. Что Вы знаете о клиновых задвижках?
27. В каких случаях применяют шаровые краны, а в каких гидрозатворы? Дайте их схему.
28. В каких случаях применяют глубокие, а в каких мелкие колодцы для размещения запорных органов?
29. Для каких целей применяют компенсаторы в колодцах наряду с запорными органами?
30. Расскажите о гидрозатворах двойного и тройного назначения.
31. Назовите основные элементы гидрозатвора тройного назначения.
