Лабораторная работа № 1.1
ИЗУЧЕНИЕ ПОГРЕШНОСТЕЙ ИЗМЕРЕНИЯ УСКОРЕНИЯ
СВОБОДНОГО ПАДЕНИЯ С ПОМОЩЬЮ МАТЕМАТИЧЕСКОГО МАЯТНИКА
Цель работы:1) изучение колебаний математического маятника: измерение периода его колебаний и определение ускорения свободного падения;
2) оценка случайной и приборной погрешностей измерения; изучение зависимости ширины доверительного интервала от числа опытов и доверительной вероятности.
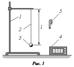
Схема экспериментальной установки

1 – штатив;
2 – нить длиной l;
3 – груз;
4 – секундомер;
Теория метода
Известно, что математический маятник представляет собой небольшой массивный груз, подвешенный на длинной легкой нити (рис. 1). При малых углах отклонения нити от вертикали колебания груза близки к гармоническим и их период Т определяется формулой
, (1)
где l – длина нити; g – ускорение свободного падения. Выразим из формулы (1) величину g:
. (2)
Таким образом, измерив длину нити и период колебаний маятника, можно опытным путем найти ускорение свободного падения. Для получения более точного результата следует измерять не время одного полного колебания (период) Т, а время нескольких (N) колебаний t. Учитывая, что
, преобразуем выражение (2) к виду
|
|
|
. (3)
Из формулы (1) следует, что при фиксированной длине нити l период колебаний маятника Т представляет собой постоянную величину (g = const для данной географической точки). Поэтому при неоднократном измерении времени t одного и того же количества N колебаний, казалось бы, должен получаться неизменный результат. Однако даже при использовании сравнительно точного прибора (например, электронного секундомера) можно убедиться в том, что от опыта к опыту значение t изменяется то в большую, то в меньшую сторону. Различия в результатах измерения одной и той же величины объясняются случайными погрешностями. Изучение погрешностей является одной из главных целей данной лабораторной работы.
Если при многократных измерениях количество колебаний N брать неизменным, то расчетную формулу (3) для определения ускорения свободного падения удобнее представить в виде
, (4)
где
C = (2 p N)2 l. (5)
Порядок измерений и обработки результатов
Упражнение 1. ОЦЕНКА ПОГРЕШНОСТЕЙ РЕЗУЛЬТАТА 25 ИЗМЕРЕНИЙ
1. С помощью сантиметровой ленты измерьте длину нити l, т.е. расстояние от точки подвеса до центра тяжести груза. Выразив величину l в метрах, по формуле (5) рассчитайте константу С (значение N указывается преподавателем). Запишите полученный результат (в метрах) в тетрадь.
2. Выведите маятник из положения равновесия и отпустите, наблюдая начавшиеся колебания. Помните, что максимальный угол отклонения нити от вертикали при этом должен быть малым (менее 10°). Следите за тем, чтобы колебания маятника происходили в вертикальной плоскости (груз не должен описывать круги или «восьмерки»).
|
|
|
3. Не останавливая колебаний маятника, измерьте время t, в течение которого он совершает N полных колебаний. Занесите результат измерений в таблицу 1.
4. Повторив пункты 2,3; заполните первые два столбца табл. 1.
Таблица 1
| Номер опыта | t, c | g, м/с 2 | D g, м/с 2 | (D g)2, (м/с 2)2 |
| … | … | … | … | … |
= | = |
5. Для каждого опыта рассчитайте ускорение свободного падения по формуле (4); результаты расчетов занесите в третий столбец табл. 1.
6. Рассчитайте среднее значение
и запишите его в табл. 1.
7*. Для каждого i -го опыта найдите отклонение значения от среднего
, а также квадрат отклонения (D gi)2. Результаты расчетов занесите в два последних столбца табл. 1.
8*. Вычислите среднеквадратичную ошибку s и занесите ее в табл. 1.
9*. Выберите из таблицы (справочные материалы) значение коэффициента Стьюдента tn,a для n = 25 опытов и доверительной вероятности a = 0,95. Рассчитайте и запишите в тетрадь случайную погрешность измерения D s g.
10*. Определите абсолютные приборные погрешности прямых измерений длины нити d l и времени d t; оцените относительные ошибки
Запишите полученные значения в тетрадь и сравните их между собой.
11*. Оцените абсолютную приборную погрешность косвенного измерения ускорения свободного падения d g. При необходимости используйте формулу
.
12. Оцените полную абсолютную D и относительную Е ошибки. Приведите точность вычисления среднего значения
в соответствие с найденной погрешностью. Запишите окончательный результат измерений.
Упражнение 2*. ОЦЕНКА ПОГРЕШНОСТЕЙ РЕЗУЛЬТАТА 5 ИЗМЕРЕНИЙ
1*. По указанию преподавателя выберите из табл. 1 пять значений ускорения свободного падения g и перепишите их во второй столбец табл. 2.
Таблица 2
| Номер опыта | g, м/с 2 | D g, м/с 2 | (D g)2, (м/с 2)2 |
| … | … | … | … |
= | = |
2*. Выполните пп. 6,7,8 упражнения 1.
3*. Для доверительной вероятности a = 0,95 и числа опытов п = 5 оцените случайную погрешность измерения D s g.
4*. Используя найденное в пп. 10 и 11 первого упражнения значение абсолютной приборной ошибки d g, найдите полную погрешность измерений и запишите окончательный результат.
5*. Повторите пп. 3 и 4 упражнения 2 для другого значения доверительной вероятности a (указывается преподавателем).
6*. По результатам проведенных измерений и расчетов сделайте выводы.
Контрольные вопросы
1. Как и почему изменяется ускорение свободного падения в зависимости от географического положения?
2. При каких условиях колебания математического маятника можно считать гармоническими?
3. Составьте дифференциальное уравнение гармонических колебаний математического маятника.
4. Составьте уравнение гармонических колебаний маятника при заданных преподавателем начальных условиях колебаний.
5. Абсолютная и относительная ошибки измерений.
6. Случайная и приборная погрешности.
7. Оценка случайной ошибки. Доверительный интервал.
8. Способы определения приборных ошибок.
9. Погрешности косвенных измерений.
10. Полная ошибка. Запись окончательного результата измерений.
Литература:
[2]; [3]-§47, 61, 62, 64-67; [13]-п.п.: 3.1, 3.3, 3.7.
Лабораторная работа № 1.2
ОПРЕДЕЛЕНИЕ КОЭФФИЦИЕНТА ВЯЗКОСТИ ЖИДКОСТИ
ПО МЕТОДУ СТОКСА
Цель работы:1)изучение законов движения тела в вязкой среде;
2) экспериментальное определение коэффициента вязкости жидкости.
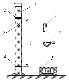
Схема экспериментальной установки
1 – цилиндрический сосуд с глицерином;
2 – свинцовый шарик;
3 – верхняя метка;
4 – нижняя метка;
5 – секундомер;
6 – сантиметровая лента;
7 – микрометр
|
|
|
Теория метода
Рассмотрим движение тяжелого шарика в вязкой жидкости. Будем считать, что плотность материала шарика rш больше плотности жидкости rж. Очевидно, что в этом случае шарик начнет тонуть. Характер его движения определяется тремя действующими на него силами (рис. 2): силой тяжести
, выталкивающей (архимедовой) силой
и силой внутреннего (вязкого) трения
. Уравнение основного закона динамики (второго закона Ньютона) в данном случае имеет вид:
,
где т – масса шарика;
– ускорение его движения;
– ускорение свободного падения. В проекциях на ось 0 х (т.е. на направление движения шарика) имеем:
. (1)
Особенность силы вязкого трения заключается в том, что ее величина зависит от скорости движения тела относительно жидкости. При малых скоростях эта зависимость прямо пропорциональная. Если тело имеет сферическую форму (как используемые в данной работе шарики), то модуль силы вязкого трения определяется формулой Стокса:
, (2)
где h – коэффициент вязкости жидкости; r – радиус шарика; v – скорость его движения относительно жидкости. Коэффициент вязкости имеет единицы измерения Н× с/м 2 = Па× с; он является свойством данной жидкости и зависит от ее природы, концентрации растворенных веществ и температуры – поэтому в условиях лабораторной работы величину h можно считать постоянной.
Выразим массу шарика через его плотность rш и объем Vш:
, (3)
а также запишем известное выражение для архимедовой силы:
. (4)
Подставляя выражения (2)-(4) в уравнение (1), после простых преобразований получим
, (5)
где
. (6)
Учитывая, что ускорение представляет собой первую производную скорости по времени t, преобразуем (5) к виду дифференциального уравнения
. (7)
Пусть в начальный момент времени t = 0 скорость шарика (вернее, ее проекция на ось 0 х) равна v 0. С учетом этого начального условия решение уравнения (7) позволяет найти зависимость скорости от времени:
, (8)
где
. (9)
Анализ выражения (8) показывает, что с течением времени скорость тела асимптотически приближается к постоянному (установившемуся) значению vуст , определяемому соотношением (9). Движение приобретает установившийся характер тем скорее, чем больше значение коэффициента b, т.е., как следует из (6), чем больше вязкость жидкости, меньше плотность и размеры шарика.
|
|
|
Таким образом, в вязкой среде шарик, начав двигаться с ускорением (при v < vуст – ускоренно, при v > vуст – замедленно), по истечении некоторого времени будет двигаться практически равномерно со скоростью vуст .
К этому выводу можно прийти более простым способом, не прибегая к методам высшей математики. Для простоты положим начальную скорость шарика равной нулю. При этом согласно (2), и сила внутреннего трения FC = 0. Тогда, в соответствии с уравнением (1), начальное ускорение шарика определяется разностью между силой тяжести и архимедовой силой. При условии rш > rж проекция ускорения на направление движения положительна, – следовательно, скорость шарика начинает расти. Однако это приводит к увеличению силы сопротивления движению FC. Так как величина FC входит в правую часть уравнения (1) с минусом, сумма проекций сил на направление движения уменьшается, – значит, уменьшается и ускорение. Поскольку оно остается положительным, скорость все еще растет, а ускорение уменьшается и т.д. Это продолжается до тех пор, пока величина FC не уравновесит разность mg – FA ; тогда сумма проекций сил обращается в ноль, ускорение – тоже, и движение шарика приобретает равномерный характер. Уравнение (1) в этом случае имеет вид:
mg – FA – (FC) уст = 0; (10)
с учетом (2)-(4) имеем:
.
Выражая из последнего уравнения скорость установившегося движения vуст , придем к ранее полученному выражению (9).
Приведенные выше рассуждения лежат в основе одного из методов экспериментального определения коэффициента вязкости жидкости – метода Стокса.
Для этой цели применяется установка, схема которой изображена на рис. 1. На сосуде 1, заполненном жидкостью с известной плотностью rж и неизвестным коэффициентом вязкости h, нанесены метки. Верхняя метка 3 расположена ниже уровня жидкости таким образом, чтобы по достижении ее движение тонущего шарика 2 заведомо было установившимся, т.е. чтобы выполнялось условие (10). Нижняя метка 4 удалена от верхней на расстояние l. Измерив это расстояние, а также время t его прохождения шариком, легко определить скорость установившегося движения
. (11)
В опытах используются шарики, изготовленные из материала с известной плотностью rш > rж; диаметр каждого шарика D также легко измерить. Таким образом, полученная выше формула (9) позволяет выразить неизвестный коэффициент вязкости через известные или измеряемые величины. Подставляя в эту формулу соотношения
, а также (11), находим
. (12)
Для получения более достоверного результата необходимо провести опыты с несколькими шариками; при этом величины g, l, rш и rж остаются неизменными от опыта к опыту. Поэтому формулу (12) для удобства расчетов целесообразно представить в виде
, (13)
где
. (14)
Порядок измерений и обработки результатов
1. Используя справочные материалы, запишите в тетрадь значения плотности материала шарика (свинец) rш и жидкости (глицерин) rж .
2. Измерьте сантиметровой лентой расстояние l между метками на сосуде, выразите его значение в метрах и запишите в тетрадь. Рассчитайте по формуле (14) константу С; полученное значение (в Н/м 4) также запишите в тетрадь.
3. Трижды измерьте микрометром диаметр одного из шариков; результаты измерений занесите во второй столбец таблицы. Рассчитайте среднее из трех значений D и запишите его в тот же столбец таблицы под чертой.
| Номер опыта | D, мм | t, с | h, Па×с | D h, Па×с | (D h)2, (Па×с)2 |
| D 1 = D 2 = D 3 = | |||||
| D = | |||||
| … | D 1 = … | … | … | … | … |
| D 1 = D 2 = D 3 = | |||||
| D = | |||||
= | = |
4. Приготовьте к работе секундомер. Аккуратно опустите шарик в сосуд с глицерином; в момент прохождения им верхней метки включите секундомер, в момент прохождения нижней метки – выключите. Время движения между метками t занесите в третий столбец таблицы.
5. Повторите пп. 3 и 4 еще четыре раза с новыми шариками.
6. Для каждого из пяти опытов вычислите по формуле (13) коэффициент вязкости h, используя при расчетах среднее из трех значение диаметра шарика D, выраженное в метрах. Результаты запишите в следующий столбец таблицы.
7. Найдите среднее значение коэффициента вязкости
. Выполните все расчеты, необходимые для оценки случайной погрешности определения величины h. Задаваясь доверительной вероятностью a = 0,95, рассчитайте погрешность D sh.
8*. Определите абсолютные приборные ошибки прямых измерений расстояния между метками d l, диаметра шарика d D и времени его падения d t, а также относительные ошибки El , ED и Et .
9*. Найдите абсолютную приборную погрешность косвенного измерения коэффициента вязкости dh. Для этого, если потребуется, используйте формулу
.
10. Оцените полную абсолютную D и относительную Е погрешности. Сделав необходимые округления, запишите окончательный результат измерения коэффициента вязкости. Сравните полученное значение с табличным (см. справочные материалы).
Контрольные вопросы:
1. Каков физический смысл коэффициента вязкости жидкости? От чего он зависит?
2. Объясните механизм внутреннего трения для жидкостей и газов.
3. Распишите силы, действующие на тело (в частности шарик), падающий в жидкости.
4. Объясните причины, приводящие к равномерному (установившемуся) падению шарика в жидкости.
5. Оцените время падения шарика в жидкости из состояния покоя до приобретения скорости установившегося движения, какой путь при этом будет пройден?
6. Получите формулу (12) для коэффициента вязкости жидкости.
7. Как зависит скорость падения шарика в жидкости от его диаметра?
8. Приведите примеры других методов измерения вязкости жидкости, изложите их суть.
Литература:
[3]- §14, 53, 58-60; [13]-п.п.: 1.9, 1.42, 1.43.
Лабораторная работа № 1.3
ИЗУЧЕНИЕ ЗАКОНОВ ВРАЩАТЕЛЬНОГО ДВИЖЕНИЯ
НА МАЯТНИКЕ ОБЕРБЕКА
Цель работы:1) изучение кинематических и динамических характеристик вращательного движения;
2) экспериментальное определение момента инерции крестовины маятника Обербека и момента сил трения;
3) проверка справедливости закона сохранения (превращения) энергии механической системы.
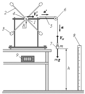
Схема экспериментальной установки

1 – ось вращения;
2 – стержень;
3 – груз-насадка;
4 – шкив;
5 – нить;
6 – блок;
7 – груз;
8 – линейка;
9 – секундомер
Описание установки
Основным элементом маятника Обербека (рис. 1) является крестовина, способная свободно вращаться вокруг неподвижной горизонтальной оси 1. Крестовина состоит из четырех стержней 2 с грузами-насадками 3, расположенными симметрично относительно оси вращения. С крестовиной жестко скреплен шкив 4 радиусом R. На шкив намотана нить 5, перекинутая через легкий блок 6. К свободному концу нити привязан груз 7, массу которого m можно изменять в процессе опытов. Для измерения высоты h расположения груза над полом служит линейка 8, а для измерения времени его падения – секундомер 9.
Теория метода
Если поднятый на высоту h груз отпустить, то он начнет падать с ускорением
, которое определяется вторым законом Ньютона. На груз действуют две силы: сила тяжести
и сила натяжения нити
(сопротивлением воздуха в данном случае можно пренебречь). Уравнение основного закона динамики:

в проекциях на направление движения груза имеет вид:
ma = mg – Fн,
откуда:
Fн = т (g – a). (1)
Пренебрегая массами нити 5 и блока 6, можно считать, что нить действует на поверхность шкива касательной силой
, равной по модулю силе
: |
| = |
| = Fн. Касательная сила создает вращающий момент
, по модулю равный произведению модуля силы на ее плечо, т.е. на радиус шкива R: Мн = Fн R. С учетом (1) вращающий момент силы натяжения нити равен
Мн = т (g – a) R. (2)
Под действием момента
крестовина начинает вращаться с угловым ускорением
. При этом на оси вращения возникают, хотя и незначительные, силы трения. Эти силы создают тормозящий момент
, направленный противоположно угловому ускорению. С учетом направления моментов сил натяжения и трения алгебраическая запись уравнения основного закона динамики вращательного движения имеет вид
Je = Мн – Мтр, (3)
где J – момент инерции крестовины маятника Обербека относительно оси вращения.
Известно, что момент инерции зависит только от распределения массы тела относительно оси. Для крестовины маятника величина J определяется в основном положением грузов-насадок 3 на стержнях 2. Если их положение в ходе опытов не изменяется, то и момент инерции остается постоянным. Момент сил трения также можно считать практически неизменным. Поэтому зависимость углового ускорения e от момента силы натяжения Мн , согласно уравнению (3), имеет линейный характер. Определив опытным путем значения e при различных Мн и обработав соответствующим образом полученную экспериментальную зависимость e (Мн), с помощью этого уравнения можно найти неизвестные величины J и Мтр . Рассмотрим теперь методику измерения углового ускорения e и момента силы натяжения Мн .
Так как нить 5 практически нерастяжима, все ее точки, включая точки на поверхности шкива, движутся с одинаковым ускорением
, равным по модулю ускорению падающего груза
: |
| = |
| = a. Груз падает с высоты h равноускоренно; при этом за время t он проходит путь
.
Измерив высоту h и время падения груза t, можем найти ускорение
. (4)
Если известны масса груза т и радиус шкива R, то по формуле (2) можно рассчитать момент силы натяжения нити Мн .
Угловое ускорение вращения шкива, а следовательно, и крестовины и тангенциальное (касательное) ускорение точек на поверхности шкива связаны известным соотношением
. (5)
Таким образом, зная массу груза т, радиус шкива R и высоту h, с которой падает груз, а также измерив время его падения t, можно экспериментально определить величины e и Мн .
Рассмотрим теперь превращение энергии в вышеописанном опыте. Поднятый на высоту h груз обладает потенциальной энергией
Wp = mgh; (6)
кинетическая энергия системы «груз + крестовина» при этом равна нулю. В момент падения груза на пол его потенциальная энергия обращается в ноль, но за счет ее уменьшения груз приобретает кинетическую энергию
, (7)
а крестовина – кинетическую энергию вращения
, (8)
где v – скорость груза в момент падения; w – угловая скорость вращения крестовины к этому моменту.
Итак, начальное значение полной механической энергии рассматриваемой системы равно W 0 = Wp , а конечное W = Wk 1 + Wk 2. Изменение энергии:
.
Как известно, изменение полной механической энергии консервативной системы равно нулю, а при наличии неконсервативных сил – их работе. В данной системе действуют неконсервативные силы трения, работа которых равна
Атр = – Мтрj, (9)
где j – угол поворота крестовины за время падения груза. Знак «–» отражает тот факт, что работа сил трения и сопротивления всегда отрицательна (угол между направлениями силы и перемещения равен 180°). Итак, закон сохранения (превращения) энергии в данном случае можно записать как

или
. (10)
С учетом соотношений (6)-(9) уравнение (10) примет вид:
. (11)
Для экспериментальной проверки справедливости уравнения (11) необходимо знать все входящие в него величины. К ним относятся, во-первых, заранее известные ускорение свободного падения g, масса груза т и высота h; во-вторых, определяемые путем обработки экспериментальной зависимости момент инерции крестовины J и момент сил трения Мтр ; в-третьих, кинематические характеристики системы v, w и j. Остановимся на определении последних.
Скорость груза в момент его падения на пол найдем исходя из закономерностей равноускоренного движения:
. (12)
Такую же по величине скорость имеют и точки на поверхности шкива. Используя связь между линейной и угловой скоростями, получим
. (13)
Так как линейное расстояние, пройденное точками на поверхности шкива, равно перемещению груза за тот же промежуток времени, угол j (в радианах) может быть рассчитан как
. (14)
Порядок измерений и обработки результатов
1. Запишите радиус шкива R, выразив его в метрах, в тетрадь (R =17мм).
2. Занесите во второй столбец таблицы 1 значение массы груза т (в кг).
Таблица 1.
| Номер опыта | т, кг | t, c | а, м/с 2 | Мн , Н×м | e, с – 2 | Мн 2, (Н×м)2 | Мн×e, Н×м/с 2 |
| t 1 = t 2 = t 3 = | |||||||
| t = | |||||||
| … | … | t 1 = … | … | … | … | … | … |
| t 1 = t 2 = t 3 = | |||||||
| t = | |||||||
| S = |
3. Вращая крестовину, намотайте нить на шкив так, чтобы нижняя поверхность груза 7 оказалась на заданной высоте h над полом, запишите значение высоты в тетрадь (значение h задает преподаватель или спишите с экрана монитора).
4. Отпустив крестовину, одновременно включите секундомер, а в момент касания грузом пола – выключите. Запишите время падения в третий столбец таблицы 1.
5. Повторите пп. 3 и 4 с тем же грузом еще два раза. Рассчитайте и занесите в таблицу среднее из трех значений времени t.
6. Увеличивая массу груза согласно рекомендациям, выполните пп. 2-5 еще пять раз.
7. Для каждого из шести проделанных опытов рассчитайте ускорение а по формуле (4), подставляя в нее среднее из трех измеренных значений времени падения t. Величину а (с точностью не менее чем до трех значащих цифр) запишите в четвертый столбец таблицы 1.
8. По формулам (2) и (5) вычислите значения момента силы натяжения нити Мн и углового ускорения e. Результаты занесите в соответствующие столбцы табл. 1.
9. Руководствуясь правилами [1], постройте график зависимости углового ускорения от момента силы натяжения (в данной работе необходимо, чтобы начало координат совпадало с нулевыми значениями откладываемых величин e и Мн). Нанесите на график экспериментально полученные точки.
10. Одним из описанных ниже способов* обработайте линейную экспериментальную зависимость e (Мн) и найдите значения момента инерции крестовины J и момента сил трения Мтр. Запишите эти значения в тетрадь.
11. Для одного из проделанных опытов рассчитайте по формулам (12)-(14) скорость груза v, угловую скорость вращения w и угол поворота j крестовины маятника Обербека в момент падения груза на пол.
12. Вычислите значения левой и правой частей уравнения закона сохранения энергии (11). Сравнив эти значения между собой, сделайте выводы.
Обработка зависимости e (Мн)
Угловое ускорение крестовины e и момент силы натяжения нити Мн связаны уравнением основного закона динамики вращательного движения (3). Зависимость e (Мн) можно представить в виде
, (15)
где
. Таким образом, определив коэффициенты линейной зависимости (15) K и b, легко найти момент инерции J и момент сил трения Мтр :
. (16)
Обработку экспериментальной зависимости e (Мн) можно провести либо графически, либо методом наименьших квадратов.
Графический способ. По экспериментальным точкам проведите сглаживающую прямую. Из уравнения (3) следует, что угловое ускорение e обращается в нуль при Мн = Мтр . Таким образом, момент сил трения Мтр определяется (с учетом масштаба!) отрезком, отсекаемым проведенной прямой на оси абсцисс (рис. 2).
Величина K в уравнении (15) представляет собой угловой коэффициент прямой, т.е. тангенс угла ее наклона к оси абсцисс. Согласно (16), момент инерции J есть величина, обратная K, – значит, его можно найти как котангенс этого угла. Выбрав на сглаживающей прямой две достаточно удаленные друг от друга точки, рассчитайте значение J как отношение отрезков
,
причем величины отрезков D Мн и D e должны быть взяты с учетом масштаба графика и выражены в соответствующих единицах измерения: D Мн – в Н×м, а D e – в рад/с 2 или в с – 2. Только в этом случае результат будет правильным, и момент инерции будет иметь размерность кг×м 2.
Метод наименьших квадратов. (Подробно этот метод рассмотрен в [1]). Изучив данный материал, заполните два последних столбца табл. 1. Найдите суммы значений величин в последних четырех столбцах и занесите их в строку «S =». Вычислите коэффициенты K и b зависимости (15); результаты расчетов запишите в тетрадь. Для определения момента инерции крестовины J и момента сил трения Мтр воспользуйтесь соотношениями (16). На графике зависимости e (Мн) проведите прямую по двум точкам, координаты которых рассчитайте по найденным значениям коэффициентов. Убедитесь в правильности проведенных расчетов (прямая должна «наилучшим» образом пройти через экспериментальные точки).
Контрольные вопросы
- Какие величины характеризуют вращательное движение?
- Что характеризует момент инерции твердого тела относительно оси вращения? Как он рассчитывается?
- Сформулируйте и докажите теорему Штейнера.
- Как изменится кинетика опускания гири, если грузы на крестовине передвинуть ближе (дальше) к оси вращения.
- Дайте определение момента силы. Какие моменты сил действуют на крестовину маятника Обербека в этой работе.
- Запишите математически и сформулируйте главный закон динамики вращательного движения.
- Покажите, что в пренебрежении трением, расчетная формула для момента инерции маятника Обербека будет иметь вид:
. - Запишите и поясните закон сохранения (превращения) механической энергии в этой работе.
Литература:
[3]- §36-41; [6]- §5.4; [13]-п.п.: 1.31-1.34.
=
=
=