Следы от орудий взлома и инструментов подразделяются на виды:
- следы давления,
- следы трения (скольжения),
- следы разреза или разруба.
Следы давления образуются при нажиме или ударе, в результате которого следовоспринимающий объект, деформируясь, отображает форму, размеры и детали орудия взлома. Это статические следы.

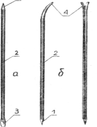
Рис. 12. Ломы: а — обыкновенный; б — лапчатый: 1 — острый конец; 2 — стержень; 3 — лопаточный конец; 4 — лапчатый конец.
Следы трения (скольжения) возникают при движении орудия взлома по поверхности преграды. При этом происходит уплотнение материала следовоспринимающего объекта, либо частичное соскабливание его поверхности или то и другое одновременно. Это динамические следы.
Следы трения представляют собой продольные трассы (линии) в виде валиков и бороздок. Их форма, размеры и взаимное расположение зависят от величины и особенностей рельефа контактной поверхности следообразующего объекта и положения орудия взлома относительно преграды.
Следы разреза (разруба) - образуются режущей кромкой орудия взлома на поверхности следовоспринимающего объекта. Это динамические следы.
|
|
|

Рис.13. А. Топор: 1 – носок; щека клина; 3 – клин; 4- головка; 5 – обух; 6 – боковая стенка головки; 7 – топорище; 8 – бородка; 9 – пятка; 10 – лезвие клинка. Б. Топорище: 1 – закрепительная часть; 2 - средняя часть; 3 – захватная часть; 4 – хвост.
Следы разреза представляют собой систему валиков и бороздок, передающих особенности режущей кромки орудия взлома. Четкость передачи индивидуальных особенностей орудия взлома зависит и от скорости резания.
К следам взлома относятся следы распила и сверления.
По следам сверления можно установить с какой стороны производилось сверление. Если отверстие не сквозное или только начальное, то на дне следа можно обнаружить особенности от режущей кромки сверла, которые в отдельных случаях используются для идентификации. След сверления – динамический.

Рис. 14. Сверла. А. Детали спирального сверла: 1 — режущая часть; 2 — ленточка; 3 — конический хвостовик; 4 — шейка; 5 — рабочая часть; 6 — передний конус; 7 — спинка; 8 — канавка; 9 — лапка; 10 — зуб.
Б. Сверла по дереву: 1 — ложечное; 2 — ложечное улитообразное; 3 — центровое; 4 — центровое скрученное; 5 — буравчик цельностальной; 6 — центровое червячное; 7 — центровое шнековое; 8 — центровое штопорное; 9 — спиральное.
Следы распила, как правило, для идентификации не пригодны, но по ним можно установить ширину развода пилы и с какой стороны производился распил.

Рис. 15. A. Поперечная пила. Б. Пила-ножовка с металлической ручкой: 1 — ручка; 2 — заклепка крепления полотна; 3 — полотно; 4 — спинка полотна; 5 — режущий край. B. Элементы зуба пилы: 1 — основание; 2 — передняя режущая кромка; 3 — вершина зуба; 4 — задняя грань зуба; 5 — передняя грань зуба; 6 — пазухи; 7 — боковые режущие кромки.
|
|
|
При обнаружении следов взлома, они должны быть подробно описаны в протоколе, тщательно осмотрены.
При изучении следов выясняются:
-обстоятельства взлома,
-первоначальное положение взломанной преграды,
-механизм образования следов.
Используются в качестве орудий взлома:
-бытовые инструменты: в зависимости от рода преград всевозможные ломики, долота, дрели, кусачки, строительные скобы, молотки и т.д.
- специальные воровские устройства: «фомки», «гусиные лапки» и т.д.
- промышленная аппаратура и механизмы: электросварочных или газовых аппаратов, лебедок и т.д.
При осмотре места происшествия и следов взлома обращается внимание на отыскание частей от орудия взлома или самих орудий оставленных преступниками на месте преступления.
Изымать следы рекомендуется с частью преграды, на которой они обнаружены. Если это сделать невозможно, то со следов необходимо изготовить масштабные фотоснимки и слепки. Для изготовления слепков применяются пластилин, гипс, слепочная масса "Стенс" или силиконовая паста «К».
При изъятии с места происшествия следов орудий взлома и самого орудия взлома в протоколе осмотра, места происшествия указывается:
- место обнаружения следа или орудия взлома;
- на какой преграде обнаружены следы взлома;
- материал и поверхность преграда;
- вид обнаруженных следов и наименование обнаруженных орудий излома;
- расположение следов,
- их размеры, форма и наличие особенностей, а также форма и размеры обнаруженного орудия взлома;
- наличие на орудии взлома или в следе частиц посторонних веществ и их цвет;
- характер и оформление упаковки.
Частыми объектами взлома являются замки и другие запирающиеся устройства. Способы их взлома разнообразны и в основном применяются в зависимости от особенностей устройства замка.
Замки подразделяются по назначению:
- мебельные;
- дверные;
специальные (для сейфов).
По способу крепления подразделяются:
- постоянные - могут быть прирезными (накладными) или врезными;
- навесные. Постоянные замки могут быть прирезными (накладными) или врезными.
По устройству механизма замки бывают:
- пружинными;
- сувальдными;
- цилиндровыми.
Обычно взлом и отпирание замков и запорных устройств совершается одним из следующих способов:
- вырыванием или разрушением (распиливанием) дужки;
- разрушением короба;
- отпиранием при помощи поддельных и подобранных ключей или отмычек;
- разрушение запорных устройств (запорных петель, дверных накладок и т.д.);
- отжим ригеля.

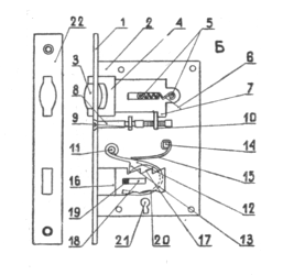
Рис. 16. Схема пружинного замка: 1 — лицевая планка; 2 — основание короба; 3 — ролик (каток) фиксатора; 4 — скоба фиксатора; 5 — стойки для пружины; 6 — пружина; 7 — ограничитель фиксатора; 8 — винт регулировки фиксатора; 9 — стойка регулятора; 10 — ограничитель; 11 — ось сныча; 12 — сныч; 13 — зуб сныча; 14 — ось пружины; 15 — пружина сныча; 16 — ригель; 17 — верхние вырезы ригеля; 18 — вырез в ригеле для направляющей стойки; 19 — направляющая стойка; 20 — вырезы в ригеле
для бородки ключа; 21 — скважина для ключа; 22 — запорная планка.

Рис. 17. А. Устройство врезного сувальдного замка: 1 — запорная планка; 2 — косой засов (защелка); 3 — лицевая планка; 4 — рычаг для отвода защелки ключом; 5 — пружина поводка для отвода защелки фалевой ручкой; 6 — поводок; 7 — пружина хвостовика косой защелки; 8 — короб замка; 9 — пружины сувальд; 10 — сувальды; 11 — скважина; 12 — головка ригеля; а — ключ однобородковый с круглым стержнем: I — головка; 2 — ушко; 3 — круглый стержень; 4 — профиль бородки; 5 — вырезы бородки.
Б. Устройство врезного цилиндрового замка: 1 — косая защелка; 2 — лицевая планка; 3 — короб замка; 4 — хвостовик защелки; 5 — пружина поводка; 6 — поводок для отвода защелки фалевой ручкой; 7 — пружина хвостовика защелки; 8 — основание ригеля; 9 — сдвоенный цилиндровый механизм с фасонным корпусом; 10 — разобщающая пружина; 11 — закрепляющий винт цилиндрового механизма; 12 — головка ригеля; 13 — сныч; 14 — пружина сныча.
|
|
|






