Струйная технология является на сегодняшний день самой распространенной для реализации цветных устройств вывода. Упрощенная схема струйного устройства вывода представлена на рисунке 1:
лист бумаги
Рисунок 1
В эмиттере под давлением из сопла поступают чернила. Ускоряющий блок электризует и ускоряет капельный поток, при этом каждой из капель сообщается определенный электрический заряд. В блоке управления изменяется траектория полета капель с помощью отклоняющих пластин, а также выполняется включение и отключение струи. Блок синхронизации синхронизует работу остальных устройств.
Струйные устройства вывода подразделяются на устройства непрерывного и дискретного действия. Последние, в свою очередь, делятся на две категории: с нагреванием чернил («пузырьковая» технология) и основанные на действии пьезоэффекта.
В простейшем случае принцип действия устройства по технологии непрерывного действия основан на том, что струя чернил, постоянно испускаемая из сопла печатающей головки, направляется либо на бумагу (для нанесения изображения), либо в специальный приемник, откуда чернила снова попадают в общий резервуар. В рабочую камеру чернила подаются микронасосом, а элементом, задающим их движение, является, как правило, пьезодатчик. Данный принцип действия использует сегодня очень небольшое количество устройств вывода.
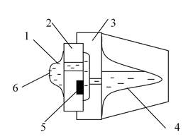
При реализации дискретного метода с нагреванием чернил в каждом сопле печатающей головки находится маленький нагревательный элемент (например, тонкопленочный резистор). При пропускании тока через тонкопленочный резистор последний за несколько микросекунд нагревается до температуры около 500 градусов и отдает выделяемое тепло непосредственно окружающим его чернилам. При резком нагревании образуется чернильный паровой пузырь, который старается вытолкнуть через выходное отверстие сопла каплю жидких чернил. Поскольку при отключении тока тонкопленочный резистор также быстро остывает, паровой пузырь, уменьшаясь в размерах, «подсасывает» через входное отверстие сопла новую порцию чернил, которые занимают место «выстреленной» капли. Схема термоструйной головки показана на рисунке 2:

1 – сопловая пластина;
2 – тонкопленочная плата;
3 – корпус;
4 – резервуар для чернил;
5 – микрорезистор;
6 – сопловое отверстие.
Рисунок 2
Второй метод для управления соплом при дискретной технологии основан на действии диафрагмы, соединенной с пьезоэлектрическим элементом. Пьезоэффект заключается в деформации пьезокристалла под воздействием электрического поля. Изменение размеров пьезоэлемента, расположенного сбоку выходного отверстия сопла и связанного с диафрагмой, приводит к выбрасыванию капли и приливу через входное отверстие новой порции чернил.
Сопла (канальные отверстия) на печатающей головке струйных устройств вывода, через которые разбрызгиваются чернила, соответствуют «ударным» иглам матричных принтеров. Поскольку размер каждого сопла существенно меньше диаметра иглы (тоньше человеческого волоса), а количество сопел может быть больше, то получаемое изображение теоретически должно быть в этом случае четче. К сожалению, на практике это достигается только применением специальных чернил.






