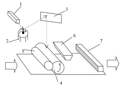
Примером устройства вывода, использующего электрографическую технологию, является лазерный принтер (плоттер). Схема лазерного принтера приведена на рисунке 1:

1 – источник лазерного луча, включающийся и выключающийся управляющим микропроцессором;
2 – шестигранное зеркало, разворачивающее луч в строку;
3 – отражающее зеркало;
4 – печатающий барабан;
5 – валик, подающий из специального контейнера красящий материал (тонер) на барабан;
6 – очиститель валика от тонера;
7 – узел фиксации изображения.
Рисунок 1
Наиболее важными частями лазерного принтера можно считать фотопроводящий барабан (4), полупроводниковый лазер (1) и прецизионную оптико-механическую систему, перемещающую луч (2). Лазер формирует электронное изображение на светочувствительном фотоприемном покрытии барабана последовательно для каждого цвета тонера (CMYK). Перед приемом строки изображения барабан заряжается с помощью облегающей его сетки (на рисунке 7 не показана), которая под напряжением вызывает возникновение ионизированной области вокруг барабана, которая его и заряжает. Попадающий на барабан луч разряжает некоторые участки. После формирования строки изображения шаговый двигатель поворачивает барабан для формирования следующей строки. Когда изображение на фоточувствительном слое полностью построено, подаваемый лист заряжается таким образом, чтобы тонер из устройства 5 попадал на барабан, а затем с барабана притягивался к бумаге. После этого изображение закрепляется на ней за счет нагрева частиц тонера до температуры плавления (это осуществляется в блоке 7): тонер содержит легко плавящееся вещество (полимер или смолу); при нагревании и повышении давления порошок плавится и соединяется с бумагой. Окончательную фиксацию изображения осуществляют специальные валики, прижимающие расплавленный тонер к бумаге (не показаны).
|
|
|






