Проветривание тупиковых забоев должно обеспечивать:
− удаление из выработки в расчетное время ядовитых газообразных продуктов разложения взрывчатых веществ (ВВ);
− разбавление и удаление из выработок ядовитых и взрывчатых газов, выделяющихся из пород и полезного ископаемого;
− создание нормальной температуры воздуха в забое и во всей выработке.
Проветривание осуществляется за счет совместного действия вентиляторов главного проветривания и естественной тяги, а также местных побудителей вентиляции: вентиляторов местного проветривания (ВМП), эжекторов и т.п. Выработки, проводимые парным забоем, в большинстве случаев проветриваются за счет общешахтной вентиляции и работы ВМП.
При составлении схем проветривания необходимо учитывать требования ПБ: вентилятор местного проветривания должен быть установлен в выработке со свежей струей на расстоянии не менее 10м от струи, выходящей из устья тупиковой выработки; производительность ВМП не должна превышать 70% от дебита струи, из которой вентилятор забирает свежий воздух. При проведении выработок на вентиляционном горизонте с разрешения главного инженера шахты допускается установка ВМП на исходящей струе, но при условии, что содержание метана в ней не превышает 0,5%, а содержание ядовитых газов находится в пределах установленных санитарных норм.
Различают следующие способы проветривания: нагнетательный, всасывающий и несколько видов комбинированного.
Нагнетательный способ (рис.19.1) применяется в выработках, где из стенок, кровли или почвы выделяются горючие (метан, водород) или ядовитые (сероводород, сернистый газ, окись углерода) газы, а также обескислороженный воздух. В остальных случаях можно применять любой способ проветривания.

Рисунок 19.1 – Нагнетательное проветривание
Достоинства этого способа заключаются в интенсивном перемешивании воздуха в призабойном пространстве и разбавлении его свежим воздухом, поступающим из конца воздухопровода. Исходящая из забоя струя выходит по выработке к устью, захватывая по пути все вредные и взрывчатые газообразные примеси, выделяющиеся из стенок, кровли и почвы выработки. К достоинствам следует отнести и то, что возможно применение гибких (матерчатых, прорезиненных и иных) трубопроводов, удобных в эксплуатации.
Основной недостаток способа - загазирование всей выработки и необходимость постепенного разбавления этих газов до санитарных норм, что при большом объеме (длине) выработок требует установки вентиляторов значительной производительности и труб большого диаметра.
Всасывающий способ проветривания (рис. 19.2) может применяться, когда из стенок, кровли и почвы выработки не выделяются взрывчатые и ядовитые газы.
![]() |
Рисунок 19.2 – Всасывающее проветривание
Достоинства этого способа заключаются в том, что высасываемый из призабойного пространства воздух, содержащий продукты разложения ВВ, удаляется по вентиляционным трубам, а по выработке от устья к забою движется свежая струя, поэтому работы могут не прекращаться. В первые минуты проветривание происходит интенсивно, вследствие засасывания в трубы воздуха с очень высокой концентрацией ядовитых газов, определяемой количеством взорванного ВВ и объемом зоны отброса газов от забоя. Однако, затем интенсивность проветривания снижается, вследствие засасывания в трубы относительно чистого воздуха, несмотря на то, что в призабойной части застаивается воздух, содержащий взрывные газы высокой концентрации. Этот способ проветривания очень эффективен в тех случаях, когда конец вентиляционных труб отстоит от забоя на расстояние 2÷3м, но последнее осуществить трудно. Зависимость эффективности всасывающего проветривания от длины выработки невелика, поэтому данный способ рекомендуется для проветривания выработок большой протяженности.
Основной недостаток способа – невозможность применения гибких трубопроводов. Этот недостаток может быть устранен, если вентилятор устанавливать не в выработке со свежей струей, а непосредственно в тупиковой выработке близ забоя (рис. 19.3). В этом случае трубопровод состоит из отрезка жесткого трубопровода l1, наращиваемого по мере проведения выработки, и гибкого трубопровода l2. Через некоторое расстояние вентилятор переносится ближе к забою, а часть жесткого трубопровода, оказавшуюся при этом на стороне нагнетания, заменяют гибким.
![]() |
Рисунок 19.3 – Всасывающее проветривание призабойным венти-
лятором
Достоинства этого способа заключаются в том, что высасываемый из призабойного пространства воздух, содержащий продукты разложения ВВ, удаляется по вентиляционным трубам, а по выработке от устья к забою движется свежая струя, поэтому работы могут не прекращаться. В первые минуты проветривание происходит интенсивно, вследствие засасывания в трубы воздуха с очень высокой концентрацией ядовитых газов, определяемой количеством взорванного ВВ и объемом зоны отброса газов от забоя. Однако, затем интенсивность проветривания снижается, вследствие засасывания в трубы относительно чистого воздуха, несмотря на то, что в призабойной части застаивается воздух, содержащий взрывные газы высокой концентрации. Этот способ проветривания очень эффективен в тех случаях, когда конец вентиляционных труб отстоит от забоя на расстояние 2÷3м, но последнее осуществить трудно. Зависимость эффективности всасывающего проветривания от длины выработки невелика, поэтому данный способ рекомендуется для проветривания выработок большой протяженности.
Основной недостаток способа – невозможность применения гибких трубопроводов. Этот недостаток может быть устранен, если вентилятор устанавливать не в выработке со свежей струей, а непосредственно в тупиковой выработке близ забоя (рис. 19.3). В этом случае трубопровод состоит из отрезка жесткого трубопровода l1, наращиваемого по мере проведения выработки, и гибкого трубопровода l2. Через некоторое расстояние вентилятор переносится ближе к забою, а часть жесткого трубопровода, оказавшуюся при этом на стороне нагнетания, заменяют гибким.
При такой установке вентилятора сочетаются преимущества всасывающего проветривания с возможностью применения гибких трубопроводов. Расчеты показывают, что при этом на участке выработки l2 в результате утечек воздуха из гибкого трубопровода несколько повышается содержание окиси углерода, но, как показывает практика, концентрация газа не превышает допустимых санитарных норм. Основная часть газов выбрасывается из конца трубопровода в исходящую струю.
Комбинированное проветривание может осуществляться одним вентилятором (рис. 19.4), работающим сразу после взрывания ВВ на всасывание, а затем через некоторое время переключаемым на нагнетание. На расстоянии от забоя, не превышающем 50м, устанавливается перемычка.
![]() | |||
![]() |
Рисунок 19.4 – Комбинированное проветривание одним венти-
лятором с установкой перемычки
Достоинство такого способа проветривания заключается в том, что за время всасывающей работы вентилятора, определяемое расчетом, по вентиляционным трубам выносится основная масса ядовитых газов, а за последующее время (режим нагнетания) газы, в небольшом количестве оставшиеся в призабойном пространстве, рассредоточиваются по части выработки, прилегающей к забою, не доходя до ее устья, вследствие чего исключается рециркуляция воздуха. Недостаток способа – необходимость применения жесткого трубопровода и реверсирование вентилятора, что усложняет его установку.
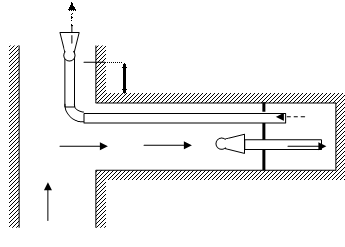
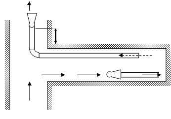
Комбинированное проветривание двумя вентиляторами с перемычкой (рис. 19.5) или без перемычки (рис. 19.6) заключается в том, что основной вентилятор, устанавливаемый в устье выработки, работает на всасывание, а вспомогательный, меньшей производительности, работает в нагнетательном режиме и предназначен для перемещения воздуха в заперемыченном пространстве или, при работе без перемычки, в пространстве, определяемом зоной активного действия вспомогательного вентилятора, с тем, чтобы ядовитые газы были распределены по этому объему как можно равномернее.
![]() |
Рисунок 19.5 – Комбинированное проветривание двумя вентиля-
торами с установкой перемычки
![]() |
Рисунок 19.6 – Комбинированное проветривание двумя вентилято-
рами без перемычки
Достоинство такого способа проветривания заключается в том, что выработка заполнена свежим воздухом, проветривание осуществляется быстро, что позволяет использовать этот способ при большой длине выработок, применяя относительно небольшие вентиляторы, а также при скоростном проведении выработок.
Штреки, бремсберги и уклоны большой протяженности, как правило, проводят в виде парных выработок (рис. 19.7) и не более чем через 30 м сбивают печами или просеками. Печи, кроме последней, закрывают чураковыми или каменными перемычками, в качестве временных устанавливают дощатые перемычки с засыпкой и промазкой их глиной.
В газовых шахтах, где необходима подача большого количества воздуха, проветривание осуществляется, как правило, за счет общешахтной депрессии, а в тупиковые забои от последней печи воздух подается вентиляторами местного проветривания.
![]() | |||||
![]() | |||||
![]() |
Рисунок 19.7 – Проветривание за счет общешахтной депрессии
длинных выработок, проводимых по газоносным
пластам















