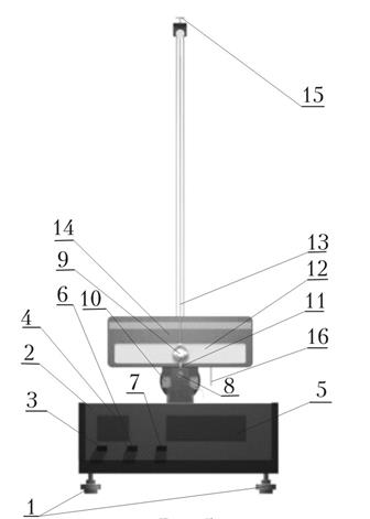
Для определения коэффициента трения используется установка ФПМ-02, общий вид которой приведен на рис. 5.

Рис. 5
Она состоит из следующих частей:
1. Регулируемые опоры, позволяющие обеспечить вертикальность первоначальной установки плоскости колебаний маятника.
2. Электронный блок с секундомером и счетчиком числа колебаний.
3. Клавиша включения электронного блока.
4. Индикатор счетчика числа колебаний маятника.
5. Индикатор электронного секундомера.
6. Клавиша обнуления индикаторов.
7. Клавиша остановки счетчика и секундомера (STOP).
8. Осветитель.
9. Шарик маятника.
10. Фотоэлемент, фиксирующий момент прохождения маятником положения равновесия.
11. Стержень, скрепленный с шариком. В момент прохождения маятником положения равновесия стержень перекрывает световой поток, падающий от осветителя на фотоэлемент.
12. Пластина, по которой катится шарик маятника.
13. Нить маятника.
14. Шкала углов a отклонения маятника.
15. Регулировочный винт для изменения длины нити.
16. Механизм установки угла b наклона плоскости колебаний маятника.






