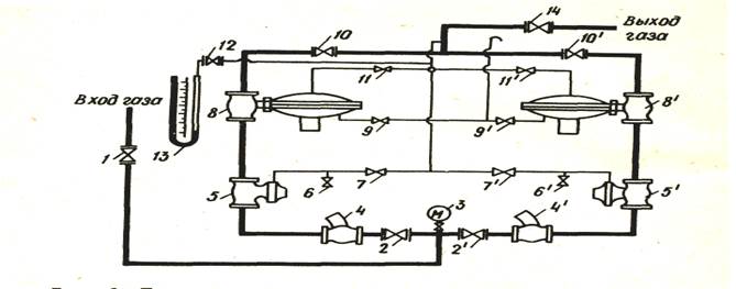
ГРП, смонтированный в специальном шкафу, называется шкафным и состоит из двух параллельных ветвей (рис. 2). На входе в ШРП устанавливается общий запорный вентиль I. Далее на каждой из ветвей размещены входные запорные вентили 2,2, газовые фильтры 4,4*, запорно-предохранительные клапаны 5,5, регуляторы давления 8,8*, запорные устройства на выходе 10,10. На выходном газопроводе устанавливается общий запорный вентиль 14.

Рис. 2. Принципиальная схема шкафного регуляторного пункта (ШРП)
На входе в ШРП давление контролируется манометром 3, на входе – «U»-образным манометром 13 с запорным устройством 12. Давление газа после ШРП через вентили 11,111 поступает на регуляторы.
Для сброса давления на свечу служат вентили 9,91. Вентили 7,71 отключают выходное давление от клапана-отсекателя 5,5 1.
Сброс давления после запоряо-предохраяительяого клапана осуществляется посредством вентилей 6,61






