г – с колонной; 1, 6 - закладные детали; 2 – соединительная деталь; 3 – ригель;
4– колонна; 5 – упругая прокладка; 7 – подкрановая балка; 8 – болты;
Фундамент; 10 – бетон замоноличивания; 11 – раствор; 12 – соединительная деталь

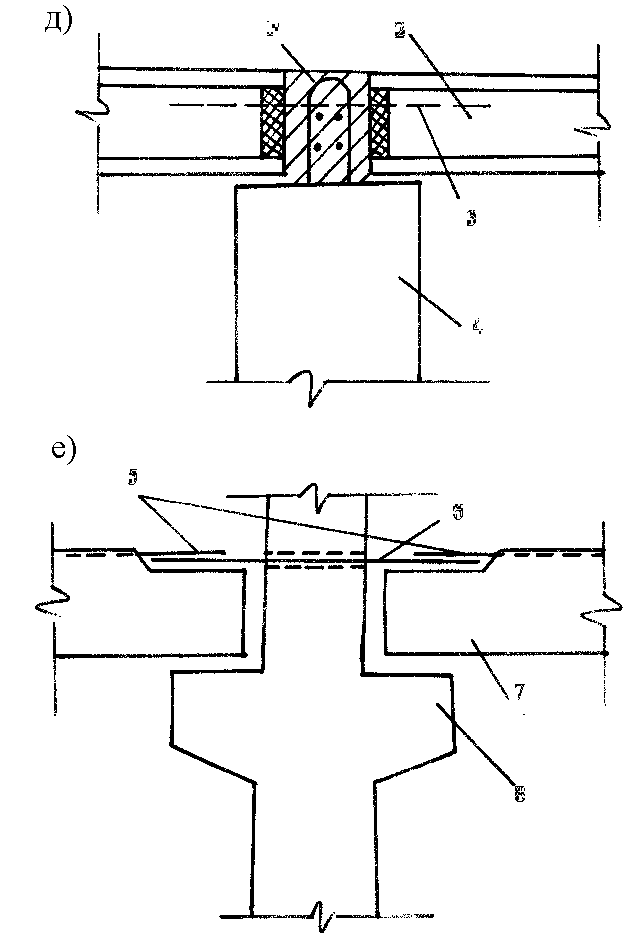
Рис. 8.3 д, е. Стык:
д – пустотных плит перекрытия с балкой, е – ригелей с двухконсольной колонной;
Бетон омоноличивания; 2 – пустотная плита перекрытия; 3 – сквозной арматурный стержень; 4 – балка; 5 – арматурные выпуски; 6 – стержни в сквозных отверстиях; 7 – ригель; 8 – колонна

Рис. 8.4. Вертикальный (а) и горизонтальный (б) стыки крупнопанельных зданий:
1 –наружная стеновая панель, 2 – внутренняя стеновая панель,
3 – панель перекрытия, 4 – термовкладыш, 5 – мастика,
6 – пароизоляция, 7 – упругая прокладка, 8– бетон






