При сборке конструкций здания из отдельных элементов в месте их соединения образуется стык. Одни стыки обеспечивают прочность соединения деталей, другие – герметичность.
Конструкции стыков, обеспечивающих прочность, применяемых в унифицированных каркасных системах, отличаются большим разнообразием. Условно можно выделить следующие основные типы стыков, выполняемых посредством:

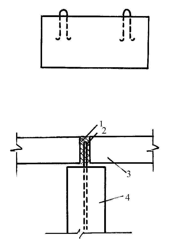
Рис. 8.1. Монтажные петли в панели внутренней стены:
1 – замоноличивание стыка; 2 – монтажные петли;






