1. Выписать основные сведения о тормозной системе автомобиля заданной модели:
Модель автомобиля: _____________________________________
Тип колесных тормозных механизмов: а) передних ___________
б) задних _____________
Количество контуров в приводе ____________________________
Тип усилителя ___________________________________________
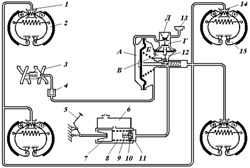
2. Объяснить принцип действия гидровакуумного усилителя тормозов.

3. Объяснить принцип действия рабочей тормозной системы автомобиля.

Тема: Тормозные системы с пневматическим и комбинированным приводом
Цель работы:
1. Изучить назначение тормозной системы, типы тормозных систем.
2. Изучить назначение и конструкцию элементов тормозного пневматического привода.
3. Изучить схемы и компоновки многоконтурных тормозных приводов.
4. Провести информационный обзор новейших достижений в области конструкции тормозных систем с пневматическим и комбинированным приводом, на основе патентного, литературного и WWW анализов.






