Обработка конических поверхностей (рис.2) отличается от обработки цилиндрических поверхностей только направлением подачи инструмента. Необходимо, чтобы вершина резца или режущая кромка перемещались под некоторым углом a к оси центров.
Обтачивание наружных и растачивание внутренних конических поверхностей осуществляют несколькими способами.
1. Широким резцом (рис.2,а). Обтачивают короткие конические поверхности длиной до 15 мм. Главную режущую кромку резца устанавливают под требуемым углом a к оси конуса (в данном случае под углом 450). Точение проводят с поперечной или продольной подачей. Точность выполнения угла конуса невысокая. Способ часто используют при снятии фасок на поверхностях вращения.
2. Поворотом каретки верхнего суппорта с резцедержателем (рис.2,б) на требуемый угол a. Движение подачи DS обеспечивается вручную вращением рукоятки винта. Способ применяют при обработке наружных и внутренних конических поверхностей длиной до 50 мм.
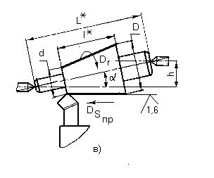
3. Смещением корпуса задней бабки (рис. 2,в) относительно ее основания в поперечном направлении на величину
h= L× sina.
При смещении в сторону резцедержателя (на себя) образуется коническая поверхность, у которой большее основание будет находиться у передней бабки. В противном случае большее основание расположится у центра задней бабки. Способ используют при установке заготовки в центрах. Обычно допускаемая величина смещения h не превосходит 1/50 часть длины детали L.
4. С применением конусной линейки. Этот способ подробно будет рассмотрен при изучении специальных дисциплин.
На чертежах деталей коническую поверхность часто задают че-
рез диаметры d, D и длину l (см. рис.2,б и в), а также через конусность K, выраженную с помощью соотношений 1:10, 1:50, 1:1,866 (см. рис.1). Для изготовления детали, соответствующей требо-


Р и с. 2. Схемы обработки наружных конических поверхностей
ваниям чертежа, необходимо произвести расчеты недостающих размеров конуса по формулам, приведенным в таблице 3.
Таблица 3