Как производится выбор основания и фундаментов?

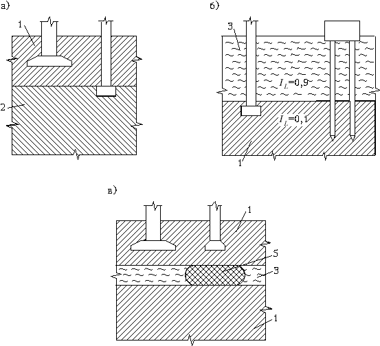
Выбор основания заключается в определении несущего слоя грунта, исходя из инженерно-геологических условий строительной площадки. На рис. Ф.8.5 показаны три типа различных инженерно-геологических условий и приведены показатели, по которым можно косвенно судить о прочности грунтов основания.

При однородном основании выбор несущего слоя однозначен, но подобные грунтовые условия встречаются редко. Более часто основание бывает сложено разнородными грунтами, например такими, как показано на рис. Ф.8.5,а,б,в. Во втором случае более прочным является второй слой (показатель текучести IL имеет минимальное значение), а в третьем  первый и третий слои грунта.

Рис. Ф.8.5. Различные схемы напластований грунтов и варианты рекомендуемых типов фундаментов: а - прочный грунт (1) подстилается еще более прочным (2); б - слабый грунт сверху (3) подстилается прочным (1); в - слой слабого грунта (3) находится между более прочными слоями (1): в этом случае можно предложить закрепление (5)

В общем случае, если стоимость фундаментов не имеет определяющего значения, в качестве несущего слоя могут приниматься любые грунты, но не рекомендуется для него использовать ил, торф, рыхлые песчаные и текучепластичные глинистые грунты.

При выборе типа фундаментов определяющим является конструктивное решение здания или сооружения. Как правило, для жилых зданий применяются ленточные сборные или монолитные фундаменты, а для промышленных зданий  отдельно стоящие сборные или монолитные фундаменты. В том случае, если несущий слой грунта находится на расстоянии более 3-5 м от поверхности, применяют свайные фундаменты. Для специальных сооружений типа элеваторов, градирен, дымовых труб, АЭС и ТЭЦ могут применяться фундаменты в виде сплошных железобетонных плит с глубиной заложения не более 5 м. При неоднородном основании в некоторых случаях для жилых и административных зданий может оказаться более эффективным применение фундаментов в виде перекрестных лент и сплошных плит.





Подборка статей по вашей теме: