Глубина заложения фундаментов является одним из основных факторов, обеспечивающих необходимую несущую способность и деформации основания, не превышающие предельных по условиям нормальной эксплуатации.
Глубина заложения фундаментов определяется:
а) конструктивными особенностями зданий или сооружений (например, жилое здание с подвалом или без него), нагрузок и воздействий на их фундаменты;
б) глубиной заложения фундаментов примыкающих сооружений, а также глубиной прокладки инженерных коммуникаций;
в) инженерно-геологическими условиями площадки строительства (физико-механические свойства грунтов, характер напластования и пр.);
г) гидрогеологическими условиями площадки и возможными их изменениями в процессе строительства и эксплуатации зданий и сооружений;
д) глубиной сезонного промерзания грунтов.
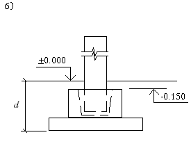
Глубина заложения фундаментов исчисляется от поверхности планировки (рис.Ф.9.3,а) или пола подвала до подошвы фундамента (рис.Ф.9.3,б), а при наличии бетонной подготовки до ее низа.
При выборе глубины заложения фундаментов рекомендуется[1]:
а) предусматривать заглубление фундаментов в несущий слой грунта не менее чем на 10-15 см;
б) избегать наличия под подошвой фундамента слоя грунта, если его прочностные и деформационные свойства значительно хуже свойств подстилающего слоя грунта;
в) стремиться, если это возможно, закладывать фундаменты выше уровня грунтовых вод для исключения необходимости применения водопонижения при производстве работ.
|
| Рис.Ф.9.3. Схемы к определению глубины заложения фундаментов d: а - фундамент внешней оси здания; б - фундамент внутри здания |






