1. Осадка основания s c использованием расчетной схемы в виде линейно-деформируемого полупространства (п.2.40) определяется методом послойного суммирования по формуле
, (1)
где b - безразмерный коэффициент, равный 0,8;
szp,i - среднее значение дополнительного вертикального нормального напряжения в i -м слое грунта, равное полусумме указанных напряжений на верхней zi- 1 и нижней zi границах слоя по вертикали, проходящей через центр подошвы фундамента (см. пп. 2-4);
hi и Еi - соответственно толщина и модуль деформации i- го слоя грунта;
n - число слоев, на которые разбита сжимаемая толща основания.
При этом распределение вертикальных нормальных2 напряжений по глубине основания принимается в соответствии со схемой, приведенной на рис. 1.
______________
1 В настоящем приложении, кроме специально оговоренных случаев, приняты следующие единицы:
для линейных величин - м (см), для сил - кН (кгс); для напряжений, давлений и модулей деформации - кПа (кгс/см2); для удельного веса - кН/м3 (кгс/см3).
2 Далее для краткости слово «нормальное» опускается.
Примечание. При значительной глубине заложения фундаментов расчет осадки рекомендуется производить с использованием расчетных схем, учитывающих разуплотнение грунта вследствие разработки котлована.
2. Дополнительные вертикальные напряжения на глубине z от подошвы фундамента: szp - по вертикали, проходящей через центр подошвы фундамента, и szp,c - по вертикали, проходящей через угловую точку прямоугольного фундамента, определяются по формулам:
szp = ap 0; (2)
szp,c = ap 0/4, (3)
где a - коэффициент, принимаемый по табл.1 в зависимости от формы подошвы фундамента, соотношения сторон прямоугольного фундамента и относительной глубины, равной: о = 2 z/b при определении уzp и о = z/b при определении уzp,c;
p 0 = p - szg, 0 - дополнительное вертикальное давление на основание (для фундаментов шириной b ³ 10 м принимается р 0 = р);
р - среднее давление под подошвой фундамента;
szg, 0 - вертикальное напряжение от собственного веса грунта на уровне подошвы фундамента (при планировке срезкой принимается szg, 0 = gd, при отсутствии планировки и планировке подсыпкой szg, 0 = gdn, где g/ - удельный вес грунта, расположенного выше подошвы, d и dn - обозначены на рис.1).

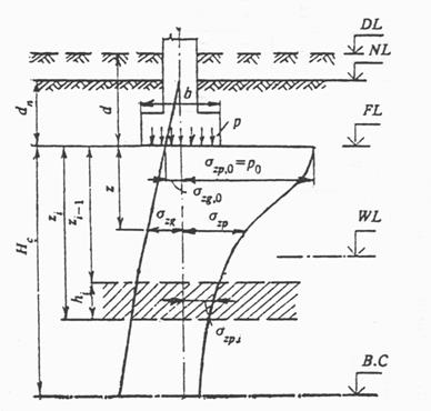
Рис. 1. Схема распределения вертикальных напряжений в линейно-деформируемом полупространстве
DL - отметка планировки; NL - отметка поверхности природного рельефа; FL - отметка подошвы фундамента; WL - уровень подземных вод; В,С - нижняя граница сжимаемой толщи; d и dn глубина заложения фундамента соответственно от уровня планировки и поверхности природного рельефа; b - ширина фундамента; р - среднее давление под подошвой фундамента; р 0 - дополнительное давление на основание; szg и szg, 0 - дополнительное вертикальное напряжение от внешней нагрузки на глубине z от подошвы фундамента и на уровне подошвы; szp и szр, 0 - дополнительное вертикальное напряжение от внешней нагрузки на глубине z от подошвы фундамента и на уровне подошвы; Нс - глубина сжимаемой толщи
Таблица 1
Коэффициент a
| x = 2 z / b | Коэффициент a для фундаментов | |||||||
| круглых | прямоугольных с соотношением сторон h = l / b, равным | ленточных (h ³ 10) | ||||||
| 1,0 | 1,4 | 1,8 | 2,4 | 3,2 | ||||
| 1,000 | 1,000 | 1,000 | 1,000 | 1,000 | 1,000 | 1,000 | 1,000 | |
| 0,4 | 0,949 | 0,960 | 0,972 | 0,975 | 0,976 | 0,977 | 0,977 | 0,977 |
| 0,8 | 0,756 | 0,800 | 0,848 | 0,866 | 0,876 | 0,879 | 0,881 | 0,881 |
| 1,2 | 0,547 | 0,606 | 0,682 | 0,717 | 0,739 | 0,749 | 0,754 | 0,755 |
| 1,6 | 0,390 | 0,449 | 0,532 | 0,578 | 0,612 | 0,629 | 0,639 | 0,642 |
| 2,0 | 0,285 | 0,336 | 0,414 | 0,463 | 0,505 | 0,530 | 0,545 | 0,550 |
| 2,4 | 0,214 | 0,257 | 0,325 | 0,374 | 0,419 | 0,449 | 0,470 | 0,477 |
| 2,8 | 0,165 | 0,201 | 0,260 | 0,304 | 0,349 | 0,383 | 0,410 | 0,420 |
| 3,2 | 0,130 | 0,160 | 0,210 | 0,251 | 0,294 | 0,329 | 0,360 | 0,374 |
| 3,6 | 0,106 | 0,131 | 0,173 | 0,209 | 0,250 | 0,285 | 0,319 | 0,337 |
| 4,0 | 0,087 | 0,108 | 0,145 | 0,176 | 0,214 | 0,248 | 0,285 | 0,306 |
| 4,4 | 0,073 | 0,091 | 0,123 | 0,150 | 0,185 | 0,218 | 0,255 | 0,280 |
| 4,8 | 0,062 | 0,077 | 0,105 | 0,130 | 0,161 | 0,192 | 0,230 | 0,258 |
| 5,2 | 0,053 | 0,067 | 0,091 | 0,113 | 0,141 | 0,170 | 0,208 | 0,239 |
| 5,6 | 0,046 | 0,058 | 0,079 | 0,099 | 0,124 | 0,152 | 0,189 | 0,223 |
| 6,0 | 0,040 | 0,051 | 0,070 | 0,087 | 0,110 | 0,136 | 0,173 | 0,208 |
| 6,4 | 0,036 | 0,045 | 0,062 | 0,077 | 0,099 | 0,122 | 0,158 | 0,196 |
| 6,8 | 0,031 | 0,040 | 0,055 | 0,064 | 0,088 | 0,110 | 0,145 | 0,185 |
| 7,2 | 0,028 | 0,036 | 0,049 | 0,062 | 0,080 | 0,100 | 0,133 | 0,175 |
| 7,6 | 0,024 | 0,032 | 0,044 | 0,056 | 0,072 | 0,091 | 0,123 | 0,166 |
| 8,0 | 0,022 | 0,029 | 0,040 | 0,051 | 0,066 | 0,084 | 0,113 | 0,158 |
| 8,4 | 0,021 | 0,026 | 0,037 | 0,046 | 0,060 | 0,077 | 0,105 | 0,150 |
| 8,8 | 0,019 | 0,024 | 0,033 | 0,042 | 0,055 | 0,071 | 0,098 | 0,143 |
| 9,2 | 0,017 | 0,022 | 0,031 | 0,039 | 0,051 | 0,065 | 0,091 | 0,137 |
| 9,6 | 0,016 | 0,020 | 0,028 | 0,036 | 0,047 | 0,060 | 0,085 | 0,132 |
| 10,0 | 0,015 | 0,019 | 0,026 | 0,033 | 0,043 | 0,056 | 0,079 | 0,126 |
| 10,4 | 0,014 | 0,017 | 0,024 | 0,031 | 0,040 | 0,052 | 0,074 | 0,122 |
| 10,8 | 0,013 | 0,016 | 0,022 | 0,029 | 0,037 | 0,049 | 0,069 | 0,117 |
| 11,2 | 0,012 | 0,015 | 0,021 | 0,027 | 0,035 | 0,045 | 0,065 | 0,113 |
| 11,6 | 0,011 | 0,014 | 0,020 | 0,025 | 0,033 | 0,042 | 0,061 | 0,109 |
| 12,0 | 0,010 | 0,013 | 0,018 | 0,023 | 0,031 | 0,040 | 0,058 | 0,106 |
Примечания: 1. В табл. 1 обозначено: b - ширина или диаметр фундамента, l - длина фундамента.
2. Для фундаментов, имеющих подошву в форме правильного многоугольника с площадью А, значения a принимаются как для круглых фундаментов радиусом
3. Для промежуточных значений x и h коэффициент a определяется по интерполяции.
3. Дополнительные вертикальные напряжения szp,u на глубине z по вертикали, проходящей через произвольную точку А (в пределах или за пределами рассматриваемого фундамента с дополнительным давлением по подошве, равным р 0), определяются алгебраическим суммированием напряжений szр,ci в угловых точках четырех фиктивных фундаментов (рис.2) по формуле
. (4)
4. Дополнительные вертикальные напряжения szg,nf на глубине z по вертикали, проходящей через центр рассчитываемого фундамента, с учетом влияния соседних фундаментов или нагрузок на прилегающие площади определяются по формуле
, (5)
где k - число влияющих фундаментов.
5. Вертикальное напряжение от собственного веса грунта szg на границе слоя, расположенного на глубине z от подошвы фундамента, определяется по формуле
, (6)
где g / - удельный вес грунта, расположенного выше подошвы фундамента;
dn - обозначение - см. рис. 1;
gi и hi - соответственно удельный вес и толщина i -го слоя грунта.
Удельный вес грунтов, залегающих ниже уровня подземных вод, но выше водоупора, должен приниматься с учетом взвешивающего действия воды.
При определении szg в водоупорном слое следует учитывать давление столба воды, расположенного выше рассматриваемой глубины.
6. Нижняя граница сжимаемой толщи основания принимается на глубине z = Hc, где выполняется условие szр = 0,2 szg (здесь szр - дополнительное вертикальное напряжение на глубине по вертикали, проходящей через центр подошвы фундамента, определяемое в соответствии с указаниями пп. 2 и 4; szg - вертикальное напряжение от собственного веса грунта, определяемое в соответствии с п. 5).
Если найденная по указанному выше условию нижняя граница сжимаемой толщи находится в слое грунта с модулем деформации Е < 5 МПа (50 кгс/см2) или такой слой залегает непосредственно ниже глубины z = Hc, нижняя граница сжимаемой толщи определяется исходя из условия szр = 0,1 szg.

Рис. 2. Схема к определению дополнительных вертикальных напряжений szр,а в основании рассчитываемого фундамента с учетом влияния соседнего фундамента методом угловых точек
а - схема расположения рассчитываемого 1 и влияющего фундамента 2; б - схема расположения фиктивных фундаментов с указанием знака напряжений szр,cj в формуле (4) под углом i- го фундамента.
7. Осадка основания с использованием расчетной схемы линейно деформируемого слоя (см. п. 2.40 и рис. 3) определяется по формуле
, (7)
где р - среднее давление под подошвой фундамента (для фундаментов шириной b < 10 м принимается p = p 0 - см. п. 2);
b - ширина прямоугольного или диаметр круглого фундамента;
kc и km - коэффициенты, принимаемые по табл. 2 и 3;
n - число слоев, различающихся по сжимаемости в пределах расчетной толщи слоя Н, определяемой в соответствии с указаниями п. 8;
ki и ki- 1 - коэффициенты, определяемые по табл. 4 в зависимости от формы фундамента, соотношения сторон прямоугольного фундамента и относительной глубины, на которой расположены подошва и кровля i -го слоя соответственно
Еi - модуль деформации i- го слоя грунта.
Примечание. Формула (7) служит для определения средней осадки основания, загруженного равномерно распределенной по ограниченной площади нагрузкой. Эту формулу допускается применять для определения осадки жестких фундаментов.
Таблица 2
Коэффициент kc
| Относительная толщина слоя z / = 2 H / b | Коэффициент kc |
| 0 < z / £ 0,5 | 1,5 |
| 0,5 < z / £ 1 | 1,4 |
| 1 < z / £ 2 | 1,3 |
| 2 < z / £ 3 | 1,2 |
| 3 < z / £ 5 | 1,1 |
| z / > 5 | 1,0 |
Таблица 3
Коэффициент km
| Среднее значение модуля деформации грунта основания Е, МПа (кгс/см2) | Значения коэффициента km при ширине фундамента b, м, равной | ||
| b < 10 | 10 £ b £ 15 | b > 15 | |
| E < 10 (100) | |||
| E ³ 10 (100) | 1,35 | 1,5 |
Таблица 4
Коэффициент k
| x = 2 z / b | Коэффициент k для фундаментов | |||||||
| круглых | прямоугольных с соотношением сторон h = l / b, равным | ленточных (h ³ 10) | ||||||
| 1,0 | 1,4 | 1,8 | 2,4 | 3,2 | ||||
| 0,000 | 0,000 | 0,000 | 0,000 | 0,000 | 0,000 | 0,000 | 0,000 | |
| 0,4 | 0,090 | 0,100 | 0,100 | 0,100 | 0,100 | 0,100 | 0,100 | 0,104 |
| 0,8 | 0,179 | 0,200 | 0,200 | 0,200 | 0,200 | 0,200 | 0,200 | 0,208 |
| 1,2 | 0,266 | 0,299 | 0,300 | 0,300 | 0,300 | 0,300 | 0,300 | 0,311 |
| 1,6 | 0,348 | 0,380 | 0,394 | 0,397 | 0,397 | 0,397 | 0,397 | 0,412 |
| 2,0 | 0,411 | 0,446 | 0,472 | 0,482 | 0,486 | 0,486 | 0,486 | 0,511 |
| 2,4 | 0,461 | 0,499 | 0,538 | 0,556 | 0,565 | 0,567 | 0,567 | 0,605 |
| 2,8 | 0,501 | 0,542 | 0,592 | 0,618 | 0,635 | 0,640 | 0,640 | 0,687 |
| 3,2 | 0,532 | 0,577 | 0,637 | 0,671 | 0,696 | 0,707 | 0,709 | 0,763 |
| 3,6 | 0,558 | 0,606 | 0,676 | 0,717 | 0,750 | 0,768 | 0,772 | 0,831 |
| 4,0 | 0,579 | 0,630 | 0,708 | 0,756 | 0,796 | 0,820 | 0,830 | 0,892 |
| 4,4 | 0,596 | 0,650 | 0,735 | 0,789 | 0,837 | 0,867 | 0,883 | 0,949 |
| 4,8 | 0,611 | 0,668 | 0,759 | 0,819 | 0,873 | 0,908 | 0,932 | 1,001 |
| 5,2 | 0,634 | 0,683 | 0,780 | 0,844 | 0,904 | 0,948 | 0,977 | 1,050 |
| 5,6 | 0,635 | 0,697 | 0,798 | 0,867 | 0,933 | 0,1981 | 1,018 | 1,095 |
| 6,0 | 0,645 | 0,708 | 0,814 | 0,887 | 0,958 | 1,011 | 1,056 | 1,138 |
| 6,4 | 0,653 | 0,719 | 0,828 | 0,904 | 0,980 | 1,041 | 1,090 | 1,178 |
| 6,8 | 0,661 | 0,728 | 0,841 | 0,920 | 1,000 | 1,065 | 1,122 | 1,215 |
| 7,2 | 0,668 | 0,736 | 0,852 | 0,935 | 1,019 | 1,088 | 1,152 | 1,251 |
| 7,6 | 0,674 | 0,744 | 0,863 | 0,948 | 1,036 | 1,109 | 1,180 | 1,285 |
| 8,0 | 0,679 | 0,751 | 0,872 | 0,960 | 1,051 | 1,128 | 1,205 | 1,316 |
| 8,4 | 0,684 | 0,757 | 0,881 | 0,970 | 1,065 | 1,146 | 1,229 | 1,347 |
| 8,8 | 0,689 | 0,762 | 0,888 | 0,980 | 1,078 | 1,162 | 1,251 | 1,376 |
| 9,2 | 0,693 | 0,768 | 0,896 | 0,989 | 1,089 | 1,178 | 1,272 | 1,404 |
| 9,6 | 0,697 | 0,772 | 0,902 | 0,998 | 1,100 | 1,192 | 1,291 | 1,431 |
| 10,0 | 0,700 | 0,777 | 0,908 | 1,005 | 1,110 | 1,205 | 1,309 | 1,456 |
| 11,0 | 0,705 | 0,786 | 0,922 | 1,022 | 1,132 | 1,233 | 1,349 | 1,506 |
| 12,0 | 0,720 | 0,794 | 0,933 | 1,037 | 1,151 | 1,257 | 1,384 | 1,550 |
Примечание. При промежуточных значениях x и h коэффициент k определяется по интерполяции
8. Толщина линейно-деформируемого слоя Н (рис. 3) в случае, оговоренном в п. 2.40а, принимается до кровли грунта с модулем деформации Е ³ 100 МПа (1000 кгс/см2), а при ширине (диаметре) фундамента b ³ 10 м и среднем значении модуля деформации грунтов основания Е ³ 10 МПа (100 кгс/см2), вычисляется по формуле
, (8)
где H 0 и j - принимаются соответственно равными для оснований, сложенных: пылевато-глинистыми грунтами 9 м и 0,15; песчаными грунтами - 6 м и 0,1;
kp - коэффициент, принимаемый равным: kp = 0,8 при среднем давлении под подошвой фундамента р = 100 кПа (1 кгс/см2); kp = 1,2 при р = 500 кПа (5 кгс/см2), а при промежуточных значениях - по интерполяции.

Рис. 3. схема к расчету осадок с использованием расчетной схемы основания в виде линейно деформируемого слоя.
Если основание сложено пылевато-глинистыми и песчаными грунтами, значение Н определяется по формуле
, (9)
где Нs - толщина слоя, вычисленная по формуле (8) в предположении, что основание сложено только песчаными грунтами;
Hcl - суммарная толщина слоев пылевато-глинистых грунтов в пределах от подошвы фундамента до глубины, равной Hcl – значению H, вычисленному по формуле (8) в предположении, что основание сложено только пылевато-глинистыми грунтами.
Значение Н, вычисленное по формулам (8) и (9), должно быть увеличено на толщину слоя грунта с модулем деформации Е < 10 МПа (100 кгс/см2), если этот слой расположен ниже Н и толщина его не превышает 0,2 Н. При большей толщине слоя такого грунта, а также если вышележащие слои имеют модуль деформации Е < 10 МПа (100 кгс/см2), расчет деформаций основания выполняется по расчетной схеме линейно деформируемого полупространства.






