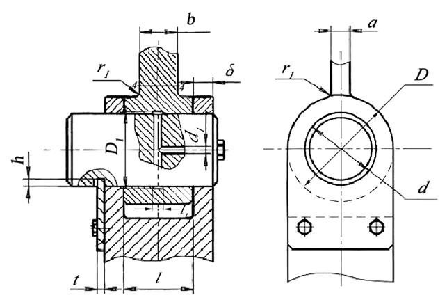
Принципиальная схема узла представлена на рисунке в Прил. 2. В дополнение к изложенному выше расчету шарнира необходимо определить размеры штока a, b и r 1.
В расчете предельных напряжений для штока σ lim по формуле (7):
- коэффициент
находят по табл. 3, принимая ориентировочно размер штока
;
- коэффициент Кσ к находят по табл. 5 в зависимости от рекомендованного радиуса галтели r 1 / b = 0,06...0,1;
- коэффициент Кσ п определяют по табл. 4 для необработанной поверхности (литьё или поковка).
В остальном расчет [ σ р] и σ lim аналогичен п.5.2.
В опасном сечении штока 5 - 5 развиваются напряжения растяжения, рассчитываемые аналогично формуле (14). Для выполнения проектировочного расчета штока по формуле (15) следует принять рекомендованное в Прил. 2 отношение размеров поперечного сечения b/а. Найденное значение а округляют до большего стандартного значения из ряда, указанного в разд. 3. Так же поступают и с уточненными значениями остальных размеров:
b = а (b/а); r 1 =b (r 1/ b).
РЕКОМЕНДУЕМАЯ ЛИТЕРАТУРА
1. Анурьев В.И. Справочник конструктора-машиностроителя. Т.1,2,3 – М.: Машиностроение, 2001.
2. Детали машин. Атлас конструкций / Под ред. Д.Н. Решетова. –
М.: Машиностроение, 1979.
3. Дунаев П.Ф. Конструирование узлов и деталей машин – М.: Высш. шк., 1998.
Приложение 1
Шарнирный узел механизма машины для литья под давлением
| Вариант | F max, H | RF | l/d | b/a | N Ц |
| 200·103 | 0,7 | 1,7 | 104 | ||
| 150·103 | 0,75 | 1,75 | 2·104 | ||
| 125·103 | 0.8 | 1,8 | 4·104 | ||
| 100·103 | 0,85 | 1,85 | 6·104 | ||
| 75·103 | 0.9 | 1,9 | 8·104 | ||
| 50·103 | 0.95 | 1,95 | 105 | ||
| 25·103 | 1.0 | 2,0 | 2·105 | ||
| 20·103 | 1,05 | 2,05 | 4·105 | ||
| 15·103 | 1,1 | 2,1 | 6·105 | ||
| 10·103 | 1,15 | 2,15 | 8·105 | ||
| 8·103 | 1,2 | 2,2 | 106 | ||
| 6·103 | 1,25 | 2,2 | 4∙106 |

Приложение 2
Шарнирный узел механизма рессорного молота
| Вариант | F max, H | RF | l/d | b/a | N Ц |
| 10·103 | 0,5 | 0,7 | 1,7 | 104 | |
| 12·103 | 0,5 | 0,75 | 1,75 | 2·104 | |
| 15·103 | 0,5 | 0,8 | 1,8 | 4·104 | |
| 18·103 | 0,5 | 0,85 | 1,85 | 6·104 | |
| 20·103 | 0,5 | 0,9 | 1,9 | 8·104 | |
| 25·103 | 0,5 | 0,95 | 1,95 | 105 | |
| 30·103 | 0,5 | 1,0 | 2,0 | 2 ·105 | |
| 33·103 | 0,5 | 1,05 | 2,05 | 4 ·105 | |
| 38·103 42·103 | 0,5 0,5 | 1,1 1,15 | 2,1 2,15 | 6 ·105 8 ·103 | |
| 47·103 50·103 | 0,5 0,5 | 1,2 1,25 | 2,2 2,25 | 2 ·106 4 ·106 |


СОДЕРЖАНИЕ
1. Общие указания. 3
2. Выбор материалов и вида термообработки. 4
3. Определение диаметра пальца шарнира из условия износостойкости. 6
3.1 Предварительный расчёт диаметра пальца. 6
3.2 Проверка шарнира по критерию износостойкости. 7
4. Определение допускаемых напряжений. 10
4.1. Общие условия прочности. 10
4.2. Предельные напряжения. 10
5. Проверка диаметра пальца по условиям прочности. 14
5.1. Расчет пальца на срез. 14
5.2. Расчет пальца на изгиб. 15
6. Определение размеров проушины. 16
6.1. Расчет проушины на растяжение. 16
6.2. Расчет проушины по Ляме. 17
6.3. Расчет проушины на смятие. 17
7. Указания к проектированию вариантов задания. 18
7.1. Общие для всех вариантов указания. 18
7.2. Шарнирный узел механизма машины для литья под давлением. 19
7.3. Шарнирный узел механизма рессорного молота. 20
Рекомендуемая литература. 20
Приложение 1. 21
Приложение 2. 22






