Контакторы – это аппараты дистанционного действия, предназначенные для частых включений и отключений электрических цепей при нормальных режимах работы.

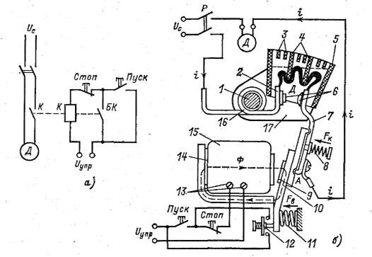
Рисунок 1.3 – Условная схема контактора.
а – электрическая схема однополюсного контактора; б – условная конструктивная схема.
Контакторы состоят из системы главных контактов, дугогасительного устройства, электромагнитной системы и вспомогательных контактов.
На конструктивной схеме (рисунок 1.3 б) контактор изображен в момент отключения, когда напряжение с катушки 15, установленной на сердечнике 14, снято и подвижная система под действием пружины 11 пришла в нормальное положение. Дуга, возникшая между контактами 2 и 7, гасится в камере 5 с изоляционными перегородками 4. Втягивание дуги в камеру происходит за счет магнитного поля, созданного магнитной системой, состоящей из катушки 16, включенной последовательно в главную цепь, стального сердечника 1 и полюсных наконечников 17. На выходе из камеры установлена пламегасительная решетка 3, препятствующая выходу ионизированных газов за пределы камеры.
|
|
|
Для включения контактора подается напряжение на зажимы катушки 13 путем нажатия кнопки Пуск. В катушке создается магнитный поток, притягивающий якорь 10 к сердечнику. На якоре укреплен подвижный контакт 7, который после соприкосновения с неподвижным контактом 2 скользит по его поверхности, разрушая пленку окислов на поверхности контактов. Нажатие в контактах создается пружиной 8. Контактные
накладки 6 из серебра (металлокерамики) обеспечивают минимальное переходное сопротивление. Контактор удерживается во включенном положении своей катушкой. После включения контактора замыкаются вспомогательные контакты 12 (БК), шунтирующие кнопку Пуск, поэтому размыкание пусковой кнопки не разрывает цепь катушки 15 (К).
На якоре 10 предусмотрена немагнитная прокладка из латуни 9, которая уменьшает силу притяжения, обусловленную остаточной индукцией в сердечнике. Таким образом, при снятии напряжения с катушки 15 якорь не «залипает».
Контакторы не защищают установку от ненормальных режимов (перегрузка, токи КЗ), поэтому в схемах автоматического управления они сочетаются со специальным реле, которые реагируют на ненормальные режимы и размыкают цепь катушки электромагнита.
Контакторы изготовляют на токи 3 – 4000А, на напряжение 220, 440, 650, 750В постоянного тока и 380. 500 и 660В переменного тока и допускают
600 – 1500 включений в час. Некоторые специальные серии контакторов допускают до 14000 включений с час.
Магнитный пускатель – это устройство, состоящее, как правило, из трехполюсного контактора, встроенных тепловых реле и вспомогательных контактов. Они предназначены для управления электродвигателями трехфазного тока мощностью до 75 кВт.
|
|
|

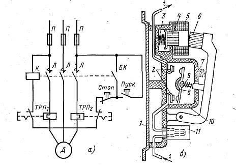
Рисунок 1.4 – магнитный пускатель серии ПА, а – электрическая схема;
б – конструктивная схема.
При нажатии кнопки Пуск подается питание в катушку 5 контактора К через размыкающие контакты тепловых реле ТРП1 и ТРП2 и кнопку Стоп.
Якорь электромагнита 6 притягивается к сердечнику 4, вращаясь вокруг оси О 1. При этом неподвижные контакты 2 замыкаются подвижным контактным мостиком 8. Нажатие в контактах обеспечивается пружиной 9. Одновременно замыкаются вспомогательные контакты БК, которые шунтируют кнопку
Пуск. При перезагрузке электродвигателя срабатывают оба или одно тепловое реле 11, цепь катушки размыкается контактами ТРП1 и ТРП2 . при этом якорь 6 больше не удерживается сердечником и под действием собственной массы и пружины 7 подвижная система переходит в отключенное положение, размыкая контакты. Двукратный разрыв в каждой фазе и закрытая камера 10 обеспечивают гашение дуги без специальных устройств. Точно так же происходит отключение пускателя при нажатии кнопки Стоп.
Амортизирующая пружина 3 предохраняет подвижную часть от резких ударов при включении. Все детали пускателя крепятся на металлическом основании 1. Магнитные пускатели, работающие на переменном токе на сердечнике имеют впрессованный короткозамкнутый виток, который создает дополнительный магнитный поток, удерживающий якорь при «переходе» тока через ноль, предотвращая вибрации.