Автоматические воздушные выключатели предназначены для автоматического размыкания электрических цепей при ненормальных режимах и для редких оперативных переключений при нормальных режимах работы.
В автоматических выключателях не применяется, какой – либо специальной среды для гашения дуги, она гасится в воздухе, поэтому они называются воздушными.
По числу полюсов автоматы бывают одно-, двух- и трехполюсными.
По времени срабатывания tср., т.е. времени от момента, когда контролируемый параметр (ток, напряжение, температура), до момента расхождения контактов различают: нормальные автоматы с tср.=0,02 – 0,1с; селективные автоматы с регулируемой выдержкой времени до 1с; быстродействующие автоматы с tср.<0,005с.
Селективные автоматы позволяют осуществить селективную защиту сетей путем установки автоматов с разной выдержкой времени t1< t2< t3.
Быстродействующие автоматы обеспечивают ограничение токов в сети, так как они отключают цепь до того, как ток КЗ в ней достигнет значения iу.
Автоматы изготовляют на токи до 6000 А при напряжении переменного тока до 660 В и постоянного тока до 440 В. Отключающая способность автоматов достигает 200-300 кА.
В любом автомате можно различить следующие основные элементы: контакты с дугогасительной системой; привод; механизм свободного расцепления; расцепители; вспомогательные контакты.
Контакты автоматов должны без перегрева длительно пропускать номинальные токи и выдерживать воздействие дуги при отключении токов КЗ. По первому условию необходимо контакты выполнять с небольшим переходным сопротивлением из материала с малым удельным сопротивлением, а по второму – из дугостойких материалов. Ввиду того что выполнить эти требования одновременно трудно, применяют две пары контактов – главные 1 и дугогасительные 2. В нормальном режиме основная
часть тока проходит по главным контактам, выполненным из меди, серебра
или их сплавов. При отключении сначала размыкаются главные контакты, но разрыва цепи не происходит, так как весь ток переходит в цепь дугогасительных контактов; затем размыкаются дугогасительные контакты, на которых и гасится электрическая дуга.
При отключаемых токах не более 30 кА дугогасительные контакты могут выполняться из меди, при больших токах – из вольфрама, его сплавов или металлокерамики.
В автоматах на небольшие токи предусматривается одна пара контактов. Для уменьшения переходного сопротивления нажатие контактов обеспечивается пружинами. При протекании токов КЗ между контактами создается электродинамическое усилие, стремящееся разомкнуть контакты. Чтобы компенсировать эту силу, шинки 1 изогнуты петлей, поэтому токи в шинках имеют разное направление, что создает электродинамическую силу, увеличивающую нажатие в контактах 2.

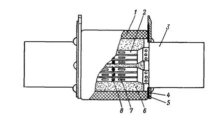
Рисунок 2.1– Основные узлы автомата.
1 – шинки; 2 – дугогасительные контакты; 3 – главные контакты; 4 – гибкая связь; 5 – биметаллический расцепитель; 6 – добавочное сопротивление; 7 – нагреватель; 8 – максимальный расцепитель; 9 – минимальный расцепитель; 10 – независимый расцепитель; 11 – механическая связь с расцепителем; 12 – рукоятка ручного включения; 13 – электромагнитный привод; 14, 15 – рычаги механизма свободного расцепителя; 16 – контактный рычаг;
17 – отключающая пружина; 18 – дугогасительная камера.
Дугогасительная система автомата предназначена для гашения дуги, возникающей при отключении автомата.
Широко применяют дугогасительные камеры со стальными пластинами (эффект деления длинной дуги на короткие). Втягивание дуги в камеру осуществляется магнитным дутьем. Материал камеры должен обладать высокой дугостойкостью.
Приводы автоматов могут быть ручными и дистанционными. В первом случае включение производится поворотом рукоятки 12. Во втором случае воздействие осуществляется электромагнитом 13 или от специальных защит электродвигателей. Отключение автоматов происходит под действием отключающих пружин 17 при срабатывании механизма свободного расцепления.
Механизм свободного расцепления обеспечивает отключение автомата в любой момент времени. Он состоит из шарнирно связанных рычагов 14 и 15 и опоры. При включении движение рукоятки 12 передается через рычаги 14 и 15 контактному рычагу 16, который замыкает сначала дугогасительные 2, а затем главные 3 контакты. Когда автомат включен, рычаги 14 и 15 встают в «мертвое» положение, опора не позволяет им переместиться вниз. Если производится включение на существующее КЗ, то от действия расцепителя 8 механическая связь 11 «сломает» рычаги 14 и 15 по шарнирному соединению О4 и под действием отключающей пружины 17 контактная система переместится влево, произойдет отключение, несмотря на то что рукояткой 12 будет передаваться усилие на включение.
Расцепители – это электромагнитные или биметаллические механизмы, которые контролируют заданный параметр цепи и вызывают отключение автомата при превышении параметра. Биметаллический (тепловой) расцепитель 5 получают тепло от нагревателя 7, присоединенного к сети через шунт 6. При нагревании биметаллическая пластина, состоящая из двух металлов с разными коэффициентами линейного расширения, изгибается и передает усилие тяге 11, ломающей рычаги механизма свободного расцепления. С помощью теплового расцепителя осуществляется защита от перегрузки.
Электромагнитные расцепители состоят из катушки и сердечника. При возникновении нарушения заданного параметра в защищаемой цепи, сердечник втягивается в катушку и создает усилие, ломающее рычаги 14, 15, что приводит к отключению автомата.
Максимальный расцепитель 8 срабатывает при перегрузке и КЗ. Ток срабатывания максимального расцепителя можно регулировать. Максимальный расцепитель может быть снабжен механизмом выдержки времени, зависящей или независящей от величины тока. Такие расцепители позволяют осуществить селективную защиту.
Минимальный расцепитель 9 отключает автомат при недопустимом снижении напряжения.
Независимый расцепитель 10 предназначен для дистанционного отключения автомата кнопкой КУ или от специальных защит двигателя.
Вспомогательные контакты (блок-контакты) механически связаны с главными контактами и используются в цепях управления, сигнализации и блокировки.
Автоматический выключатель серии А3710 на токи 160 – 630 А и напряжение переменного тока до 660 В, постоянного 440 В выпускают в пластмассовом корпусе. Автомат А3710 имеет одну пару контактов на полюс (5,4) с металлокерамическими накладками. Включение производится вручную рукояткой 6. Отключение происходит автоматически при срабатывании независимого расцепителя 9 или расцепителя максимального тока 13, якоря которых, воздействуют на отключающую рейку 11. Река освобождает защелку механизма свободного расцепления 7, и под действием пружин 8 контактный рычаг перемещается вправо, происходит размыкание контактов. Возникшая дуга гасится в камере 2.

Рисунок 2.2 – автоматический выключатель серии А3710 на 160 А.
1 – зажимы главной цепи; 2 – дугогасительная камера; 3 - пластмассовая
крышка; 4 – подвижный контакт; 5 – неподвижный контакт;
6 – рукоятка управления; 7 – механизм свободного расцепления; 8 – пружины моментного включения и отключения; 9 – катушка независимого расцепителя; 10 – полупроводниковый блок управления; 11 – отключающая рейка; 12 – якорь; 13 – магнитопровод расцепителя максимального тока мгновенного действия; 14 – шкала и ручка регулирования уставок; 15 – трансформаторы тока.
Полупроводниковый блок управления 10 съемный, размещен в пластмассовой оболочке, все полупроводниковые приборы и печатный монтаж защищены эпоксидной смолой. Шкала и ручка для регулирования уставок независимого расцепителя 14 закрыты прозрачной крышкой.
Автоматы серии АВМ выпускают на номинальные токи 400 – 2000 А и напряжение до 500 В переменного тока и 440 В постоянного тока. Автомат имеет три пары контактов на полюс – главные, предварительные и дугогасительные. Гашение дуги происходит в камере с дугогасительной решеткой. Автоматы имеют максимальные расцепители с регулируемой выдержкой времени в зависимой части и при срабатывании отсечки, что позволяет обеспечить селективную защиту. Привод автоматов может быть ручным или электродвигательным.
Автоматы АВМ изготовляются для стационарной установки, а для комплектных распределительных устройств – выдвижными на тележке с втычными контактами.

Рисунок 2.3 – автомат АВМ-15 на 1500 А в выдвижном исполнении.
1 – тележка; 2 – скользящий контакт для заземления; 3 – упоры тележки в распределительном устройстве; 4 – штепсельные контакты; 5 – контактные ножи; 6 – электродвигательный привод; 7 – дугогасительная камера;
8 – механизм свободного расцепления; 9 – съемная рукоятка для оперирования при ремонтах; 10 – съемная рукоятка вкатывающего устройства; 11 – фиксатор положения автомата.
Предохранителем называется аппарат, предназначенный для автоматического однократного отключения электрической цепи при КЗ и перегрузке.
Отключение цепи предохранителем осуществляется путем расплавления плавкой вставки, которая нагревается протекающим через нее током защищаемой цепи. После отключения цепи плавкая вставка должна быть заменена вручную.
Предохранители характеризуются номинальным током плавкой вставки, т.е. током, на который рассчитана плавкая вставка для длительной работы. В один и тот же корпус предохранителя могут быть вставлены плавкие вставки на различные номинальные токи, поэтому сам предохранитель характеризуется номинальным током предохранителя, который равен наибольшему из номинальных токов плавких вставок, предназначенных для данной конструкции предохранителя. В нормальном режиме тепло, выделяемое током нагрузки в плавкой вставке, передается в окружающую среду, и температура всех частей предохранителя не превышает допустимую. При перегрузках и КЗ увеличивается температура вставки, что приводит к ее расплавлению. Очевидно, что чем больше ток, тем меньше время плавления вставки.
Плавкие вставки – основной элемент предохранителя – могут изготовляться из меди, цинка, свинца и серебра. Цинк и свинец имеют низкую температуру плавления. Цинк устойчив к коррозии. Цинк и свинец имеют большие удельные сопротивления, поэтому изготовленные из них плавкие вставки имеют большое сечение и большие выдержки времени при перегрузках. Такие плавкие вставки можно применять в предохранителях без наполнителей.
Медь и серебро имеют малое удельное сопротивление, сечение вставки невелико, что обеспечивает их быстрое срабатывание. Такие вставки применяются в предохранителях с наполнителем, где очень важно уменьшить объем плавящегося металла.
Чтобы обеспечить быстрое срабатывание предохранителя, не допуская высоких температур, используют так называемый металлургический эффект. Это явление растворения тугоплавких металлов в менее тугоплавких. Так, например, на медную проволочку напаивают шарики из оловянно-свинцового сплава, что сокращает время расплавления плавкой вставки. В нормальном режиме работы оловянный шарик не влияет на работу предохранителя.
После плавления вставки возникает электрическая дуга, которую надо погасить как можно быстрее. В предохранителях для гашения дуги используют эффект узкой щели, высокое давление газов, дутье.
Предохранители до 1000 В.
Предохранители с закрытыми разборными патронами без наполнителя типа ПР-2 (рисунок 2.4) изготовляются на 220 и 500 В и токи патронов 15 – 1000 А. Предельный ток отключения зависит от номинального тока и лежит в пределах 1200 – 2000 А.

Рисунок 2.4 – предохранитель типа ПР-2; а – патрон на номинальные токи 100 – 1000 А; б – формы плавких вставок.
1 – фибровая трубка; 2 – плавкая вставка; 3 – латунные втулки; 4 – колпачки; 5 – шайба; 6 – контактные ножи.
Предохранители насыпные типа ПН-2 (рисунок 2.5) применяются для защиты силовых цепей до 500 В переменного и 440 В постоянного тока, и выполняются на номинальные токи 100 – 600 А.

Рисунок 2.5 – предохранитель типа ПН-2.
1 – фарфоровая, квадратная снаружи и круглая внутри трубка; 2 – плавкая вставка; 3 – контактные ножи; 4 – крышка; 5 – уплотняющая прокладка; 6 – кварцевый песок; 7 – прорези; 8 – шарики олова.
Плавкая вставка выполнена из одной или нескольких медных ленточек толщиной 1,15 – 0,35 мм и шириной до 4 мм. Для снижения температуры плавления вставки используется металлургический эффект.
На вставке сделаны прорези 7, уменьшающие перенапряжения. В насыпных предохранителях вместо фарфоровых трубок могут применяться трубки из стеклоткани, пропитанной теплостойкими лаками, из стеатита либо литые из пластмасс или изоляционных смол
Предохранители НПН подобны ПН, но имеют неразборный патрон без контактных ножей и рассчитываются на токи до 60 А. предельный отключаемый ток в предохранителях ПН-2 достигает 50 кА.
Предохранители выше 1000 В.
Предохранители серии ПК с мелкозернистым наполнителем выполняются на напряжения 3, 6, 10, 35 кВ и номинальные токи 400, 300, 200, и 40 А соответственно. Эти предохранители обладают токоограничивающим эффектом, полное время отключения при токах КЗ 0,005 – 0,007 с.

Рисунок 2.6 - предохранители серии ПК, а – на ток до 7,5 А; б – на ток
более 7,5 А.
1 – торцевая крышка; 2 – латунный колпачок; 3 – фарфоровая трубка; 4 – кварцевый песок; 5 – плавкая вставка; 6 – шарики из олова; 7 – указатель срабатывания.
Внутри патрона размещены медные или серебрянные плавкие вставки. Для обеспечения нормальных условий гашения дуги плавкие вставки должны иметь значительную длину и малое сечение. Это достигается применением нескольких параллельных вставок 5, намотанных на ребристый керамический сердечник (рисунок 2.6 а), или, при больших токах, нескольких
спиральных вставок (рисунок 2.6, б). после того как трубка заполнена кварцевым песком, торцевые отверстия закрываются крышками 1 и тщательно запаиваются. Для уменьшения температуры плавления плавкой вставки использован металлургический эффект. Срабатывание предохранителя определяется по указателю 7, который выбрасывается пружиной из трубки после перегорания стальной вставки, нормально удерживающей пружину в подтянутом состоянии.
Предохранители с автогазовым гашением дуги типа ПСН (стреляющие) применяются для открытых распределительных устройств.
Основной частью предохранителя является газогенерирующая трубка 2 (рисунок 2.7), внутри которой расположен гибкий проводник 3, соединенный с плавкой вставкой 4 и контактным наконечником 1. Параллельно медной вставке расположена стальная 5, воспринимающая усилие пружины, стремящейся вытащить гибкий проводник.

Рисунок 2.7 – предохранитель типа ПСН.
а – общий вид; б – патрон предохранителя.
Головка патрона предохранителя 1(рисунок 2.7, а) зажата специальным держателем на изоляторе 2. На нижнем изоляторе на оси 4 укреплен контактный нож 5 со спиральной пружиной, которая стремится повернуть нож в положение 5I. Нож охватывает шейку контактного наконечника 6.
При КЗ сначала расплавляется медная, затем стальная вставка. Под действием пружины нож 5 поворачивается и выбрасывается гибкий проводник. Дуга, образовавшаяся после расплавления вставок, затягивается в трубку, где интенсивно выделяется газ. Давление в трубке достигает 10-20 МПа, создается интенсивное продольное автодутье, гасящее дугу. Гашение сопровождается выбросом раскаленных газов и мощным звуковым эффектом – выстрелом.
Предохранители ПСНприменяются в комплектных трансформаторных подстанцияхдля защиты трансформаторов от токов КЗ, но не защищают от других видов повреждений.






