Лабораторная работа №1
Тема: Изучение конструкции, параметров рубильников, переключателей, контакторов и магнитных пускателей напряжением до 1000 В.
Цель работы:
- закрепление теоретических знаний по теме «Электрические аппараты напряжением до1000 В»;
- приобретение навыков работы с технической литературой; - развитие логического мышления; - ознакомление с новыми понятиями и терминами;
Рубильником называется неавтоматический выключатель с ручным приводом на два положения (включено, отключено). Рубильник, предназначенный для поочередного подключения к двум различным цепям, называется переключателем.
Рубильники и переключатели исполняются одно-, двух- и трех-полюсными на номинальные напряжения до 500 В. Рубильники без дугогасительных устройств предназначены для отключения цепи без тока и создания видимого разрыва. Рубильники с дугогасительными устройствами допускают отключение тока до Iном.

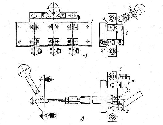
Рисунок 1.1 – Рубильники.
а – с центральной рукояткой (типа Р); б – с рычажным приводом (типа РПЦ); 1 – нож; 2 – шарнирные стойки неподвижных контактов; 3 – контактная стойка; 4 – дугогасительная камера.
|
|
|
Рубильники и переключатели с центральной рукояткой типа Р и П (трехполюсные) или РО, ПО (однополюсные) изготовляются на токи
100 - 600 А. все детали рубильника смонтированы на изоляционной плите. Проводники могут присоединяться с передней или задней стороны. Такими рубильниками и переключателями отключать ток не разрешается, так как возникающая дуга может вызвать короткое замыкание и привести к ожогам обслуживающего персонала.
Рубильники и переключатели с рычажным приводом (рисунок 1.1, б) широко применяются в щитах двухстороннего обслуживания. Такие рубильники имеют камеры с дугогасительной решеткой 4. При больших номинальных токах рубильники имеют несколько параллельных ножей.
Важное значение имеет обеспечение хорошего контакта между подвижным ножом и контактной стойкой рубильника. В настоящее время применяется линейный контакт (рисунок 1.2, б), обеспечивающий малое переходное сопротивление. Нажатие в контакте обеспечивается за счет пружинящих свойств самих деталей и специальными стальными пружинами.

Рисунок 1.2 – Типы контактов в рубильниках.
а – плоский; б – линейный; 1 – контактные губки; 2 – нож; 3 – стальная пружина.
Рубильники могут быть снабжены дугогасительными контактами или моментными ножами. При отключении таких рубильников сначала разрываются главные контакты, но дуги между ними не возникает, так как ток проходит по дугогасительным контактам. Затем разрываются дугогасительные контакты или моментальные ножи. Моментальное отключение выполняется следующим образом: параллельно с главным ножом включается второй, моментальный нож, связанный с главным пружиной. При отключении сначала из контактной стойки выходит нож, он растягивает пружину, которая быстро отключает моментальный нож.
|
|
|
Рубильники на 220 В постоянного тока и 380 В переменного тока, снабженные дугогасительной камерой, могут отключать токи до Iном., без камеры – соответственно 0,2 и 0,3*Iном.
Рубильники на 440 В постоянного тока и 500 В переменного тока с камерами могут отключать ток 0,5*Iном., без камеры отключение тока нагрузки не допускается.
Пакетные и кулачковые переключатели предназначены для сложных переключений одновременно в нескольких электрических цепях, например в цепях управления, измерения и т.п. Переключение цепей кулачковым переключателем осуществляется поворотом рукоятки на 450 . Имеются исполнения с фиксацией одного или нескольких положений с самовозвратом в нулевое положение. Количество контактов в таком переключателе может быть от 2 до 32.

Рисунок 1.3 – пакетный переключатель
1 – выводы; 2 – вал; 3 – кулачок; 4 – основание; 5 – шток; 6 – пружина; 7 – подвижный контакт; 8 – неподвижный контакт; 9 – рукоятка; I и II – пакеты.






