Электромагнитные выключатели для гашения дуги не требуют ни масла, ни сжатого воздуха, что является большим преимуществом их перед другими типами выключателей.
Выключатели этого типа выпускают на напряжение 6 – 10 кВ, номинальный ток до 3200 А и ток отключения до 40 кА.
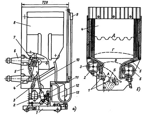
На рисунке 10.1 показан выключатель ВЭ-10-40, установленный на тележке и предназначенный для ячейки КРУ. Выключатель имеет рабочие и дугогасительные контакты, расположенные на открытом воздухе.

Рисунок 10.1 – выключатель ВЭ10-10-40, а – общий вид;
б – дугогасительная камера.
На сварном основании 1, установленном на катках, крепятся привод 13, три полюса 5, состоящих из двух изоляционных стоек, на которых крепятся два проходных эпоксидных изолятора 6 с розеточными контактами. На верхнем изоляторе смонтированы неподвижные контакты 7, на нижнем – подвижные контакты 4, связанные изоляционной тягой 10 с валом выключателя 12. Последний соединен с приводом 13 с помощью рычагов 11 и тяг. Дугогасительные камеры 8 крепятся на неподвижном контакте в специальных стойках. Каждый полюс изолирован кожухом. Передняя часть кожуха обшита металлическим листом, надежно заземленным вместе с рамой выдвижного элемента КРУ. Цепи вторичной коммутации заключены в металлический шланг и заканчиваются штепсельным разъемом 9.
При отключении сначала размыкаются рабочие, а затем дугогасительные контакты. Возникшая дуга действием электродинамических сил токоведущего контура и воздушных потоков выдувается вверх в дугогасительную камеру, при этом в цепь между медным рогом 3 и контактом включается обмотка электромагнита 2. Созданное поперечное магнитное поле перемещает дугу между левым 3 и правым 5 медными рогами. Включенная вторая обмотка 6 усиливает магнитное поле, дуга втягивается внутрь гасительной камеры с керамическими пластинами 4, растягивается, попадает в узкую щель и гаснет при очередном переходе тока через ноль. При отключении малых токов (до 1000 А) напряженность магнитного поля невелика и не может обеспечить быстрое втягивание дуги в камеру. Гашение дуги в этом случае обеспечивается дутьевым устройством 2 с трубой поддува 3, через которую подается поток воздуха на дугу.
Достоинства электромагнитных выключателей: полная взрыво- и пожаробезопасность, малый износ дугогасительных контактов, пригодность для работы в условиях частых включений и отключений, относительно высокая отключающая способность.
Недостатки: сложность конструкции дугогасительной камеры с системой магнитного дутья, ограниченный верхний предел номинального напряжения (15 – 20 кВ), ограниченная возможность для наружной установки.






