Привод выключателя предназначен для операции включения, для удержания во включен6ном положении и для отключения выключателя.
Привод – это специальное устройство, создающее необходимое усилие для производства перечисленных операций. В некоторых выключателях привод конструктивно связан в одно целое с его контактной системой (воздушные выключатели).
Основными частями привода являются: включающий механизм, запирающий механизм (защелка, собачка), который удерживает выключатель во включенном положении, и расцепляющий механизм, освобождающий защелку при отключении.
Наибольшая работа в существующих конструкциях выключателей совершается приводом при включении, так как при этой операции преодолевается собственная масса подвижных контактов, сопротивление отключающих пружин, трение и силы инерции в движущихся частях. При включении на существующее к.з. механизм привода, кроме того, должен преодолеть электродинамические усилия, отталкивающие контакты друг от друга.
Операция включения во избежание приваривания контактов выключателя должна производиться быстро. Чем меньше время включения, тем меньше пауза при АПВ (автоматическое повторное включение).
|
|
|
При отключении работа привода сводится к освобождению защелки, удерживающей механизм во включенном положении. Само отключение происходит за счет силы сжатых или растянутых отключающих пружин.
В зависимости от источника энергии, затрачиваемой на включение и отключение, имеются ручные, пружинные, грузовые, электромагнитные, пневматические приводы.
Ручные приводы применяются для маломощных выключателей, когда мускульной силы оператора достаточно для совершения работы включения. Отключение может быть автоматическим с помощью реле, встроенных в привод. В существующих установках встречаются такие приводы типов ПРБА (привод ручной блинкерный автоматический), ПРА (привод ручной автоматический). Эти приводы работают как на постоянном, так и на
переменном токе. Применение их ограничено, так как они не позволяют
дистанционно включать выключатель.
Пружинный привод является приводом косвенного действия. Энергия, необходимая для его включения, запасается в мощной пружине, которая заводится от руки или двигателем небольшой мощности. После каждого включения необходимо вновь завести пружину.
Обычно привод дополняется специальным двигателем, осуществляющим завод пружины. Такой привод позволяет осуществлять АПВ.
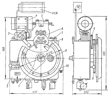
Недостатком пружинных приводов является уменьшение тягового усилия в конце хода включения вследствие уменьшения деформации пружин. Чтобы устранить этот недостаток, пружинные приводы дополняются маховиком, который поглощает избыточную энергию в начале и отдает накопленную энергию в конце включения и отдает накопленную энергию в конце включения. Основной частью привода ППМ-10 является спиральная пружина, встроенная в коробку, и обод штурвала 10. Завод пружины производится двигателем 4 мощностью 350 ВА через редуктор 5. Движение от редуктора передается шестеренке взвода 8, свободно вращающейся на переднем подшипнике. Ведущая собачка упирается роликом 7 в зуб рычага 1 и заводит пружину 9. Запорно-пусковой механизм привода удерживает пружину в заведенном состоянии. Для автоматического включения необходимо освободить заводящий рычаг, после чего энергия заведенной спиральной пружины поворачивает вал выключателя на включение.
|
|
|
Дистанционное и автоматическое отключение выключателя производиться с помощью реле, встроенных в нижней части привода, которые через планку отключения воздействует на механизм свободного расцепления. Привод допускает механическое АПВ. Импульс для работы такое АПВ дается при отключении благодаря освобождению включающего механизма привода. Если повторное включение произойдет на к.з., то выключатель опять отключится, но повторного АПВ не произойдет, так как включающая пружина не успеет завестись. Механическое АПВ можно вывести из работы при ручном или дистанционном отключении, для чего в приводе есть специальное устройство.
Пружинные приводы могут оснащаться схемами электрического АПВ с необходимой выдержкой времени. Кроме привода ППМ-10 применяются также приводы ПП-67 и ПП-74, отличающиеся типом пружины.
Пружинные приводы не требуют для своего управления источника постоянного тока, что является существенным преимуществом перед другими приводами. Недостатком привода является его малая мощность, поэтому он применяется в основном для маломасляных выключателей
6 – 10 кВ.

Рисунок 11.1 – пружинный привод с моторным редуктором ППМ-10
1 – заводной рычаг; 2 – корпус; 3 – конечный выключатель; 4 – мотор; 5 – редуктор; 6 – большая шестерня зубчатой передачи; 7 – ролик ведущей собачки; 8 – шестерня взвода; 9 – спиральная пружина; 10 – штурвал.
Электромагнитные приводы относятся к приводам прямого действия: энергия, необходимая для включения, сообщается приводу в процессе самого включения от источника большой мощности.
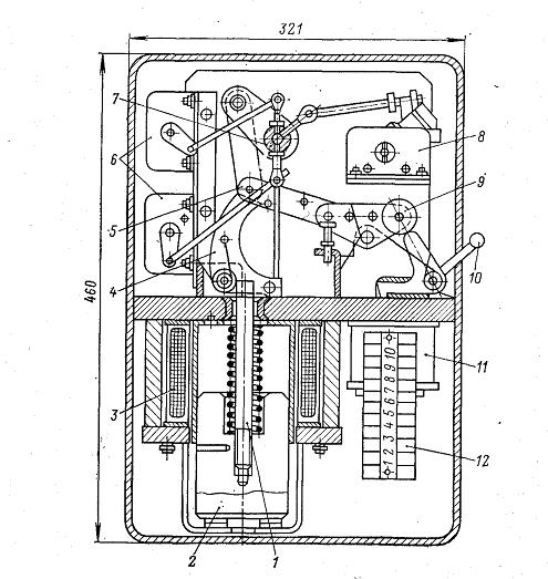
Усилие, необходимое для включения выключателя, создается стальным сердечником 2, который втягивается в катушку электромагнита 3 при прохождении по ней тока.
Шток сердечника 1 упирается в ролик 5 рычажного механизма, поднимает его вверх вместе с двумя шарнирно-связанными рычагами. Последние через приводной рычаг передают движение валу выключателя 7. При подъеме ролика защелка 4 отодвигается влево, а в конце хода сердечника, когда выключатель включился, срез защелки заскакивает под ролик и удерживает механизм во включенном положении.
В конце включения сигнальные вспомогательные контакты 6 разрывают цепь электромагнита и сердечник падает вниз. На рисунке 1.2 привод показан при включенном положении выключателя.
При отключении ток подается в электромагнит отключения 11, его боек ударяет в рычаг механизма свободного расцепления 9, благодаря чему «ломаются» рычаги механизма свободного расцепления и ролик 5 соскакивает с защелки. Вал выключателя под действием отключающей
пружины поворачивается против часовой стрелки – происходит отключение. В приводе предусмотрены вспомогательные контакты управления 8.
Электромагниты включения и отключения получают питание от аккумуляторной батареи через сборку зажимов 12.
В приводе имеется рычаг ручного отключения 10.

Рисунок 11.2 – привод электромагнитный ПЭ-11
1 – шток сердечника; 2 – сердечник; 3 – электромагнит включения;
|
|
|
4 – защелка; 5 – ролик; 6 – вспомогательные контакты; 7 – вал выключателя; 8 – вспомогательные контакты управления; 9 – рычаг механизма свободного расцепления; 10 – рычаг ручного отключения; 11 – электромагнит отключения; 12 – сборка зажимов.
Достоинствами электромагнитных приводов являются простота конструкции и надежность работы в условиях сурового климата.
Недостатки – большой потребляемый ток и вследствие этого необходимость мощной аккумуляторной батарей, а также значительное время включения (до 1 с).
Пневматический привод обеспечивает быстрое включение выключателя за счет энергии сжатого воздуха. Кинематическая схема его подобна электромагнитному приводу, но вместо электромагнита применяется пневматический цилиндр с поршнем (рисунок 11.3)

Рисунок 11.3 – привод пневматический ПВ-30
1 – пневматический цилиндр; 2 – фланец воздухопровода; 3 – шток демпфера; 4 – поршень; 5 – шток; 6 – удерживающая защелка; 7 – подъемный ролик; 8 – электромагнит отключения; 9 – система рычагов свободного расцепления; 10 – корпус привода; 11 – домкрат для ручного включения; 12 – указатель положения.
При включении выключателя открывается клапан, подающий сжатый воздух из резервуара в рабочий цилиндр 1. Поршень 4 со штоком 5 поднимается вверх и, воздействуя на подвижный ролик и систему рычагов, производят включение выключателя. Пружина над поршнем при этом сжимается, сглаживая удар при включении.
При отключении подается импульс на электромагнит отключения, который воздействует на механизм свободного расцепления. Сжатый воздух (2 МПа) подается от общей компрессорной установки, обслуживающей воздушные выключатели, или на каждом приводе устанавливаются баллоны со сжатым воздухом, обеспечивающие пять-шесть операций без подкачки воздуха. Для подкачки воздуха используются небольшие компрессоры с электродвигателем мощностью до 1 кВт.
Пневматические приводы не требуют установки мощной аккумуляторной батареи, так как ток, потребляемый электромагнитным клапаном включения, не превышает несколько ампер. Сечение проводов от схемы дистанционного управления к приводу значительно меньше, чем при электромагнитном приводе.
|
|
|






