Воздушные выключатели предназначены для установки в закрытых и открытых распределительных устройствах.
В воздушных выключателях гашение дуги происходит сжатым воздухом, а изоляция токоведущих частей и дугогасительного устройства осуществляется фарфором или другими твердыми изолирующими материалами.
Конструктивные схемы воздушных выключателей различны и зависят от их номинального напряжения, способа создания изоляционного промежутка между контактами в отключенном положении, способа подачи сжатого воздуха в дугогасительное устройство.
В выключателях на большие номинальные токи имеется главный и дугогасительный контуры.
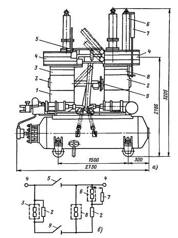
Воздушный выключатель ВВГ-20 предназначен для установки в цепях мощных генераторов и рассчитан на ток до 20000 А (рисунок 9.1).
Главный токоведущий контур состоит из контактных выводов 4 и разъединителя 5. Дугогасительный контур состоит из двух камер 3 и 8, резисторов 2, отделителя 9. Последовательно с резистором 2 второй камеры включена вспомогательная камера 6 со своим резистором 7 и искровым промежутком. Во включенном положении основная часть тока проходит по главному контуру.
|
|
|
Отключение происходит в следующем порядке: размыкаются контакты разъединителя 5 и весь ток переходит в дугогасительный контур, где размыкаются дугогасительные контакты в камерах 3 и 8. К этому моменту в камеры подается сжатый воздух (давление 2 МПа), создающий продольное дутье, в результате чего дуга гаснет через 0,01 с. Ток, проходящий через резисторы 2, разрывается контактами вспомогательной камеры 6. При этом возможны два случая. Если выключатель отключает большой ток КЗ, а реактивное сопротивление цепи значительно меньше активного сопротивления шунтирующих резисторов 2, то скорость восстанавливающегося напряжения мала и процесс отключения заканчивается гашением дуги на контактах вспомогательной камеры.
Если выключатель отключает ток в цепи с большим индуктивным
сопротивлением, которое соизмеримо или больше активного сопротивления резисторов, то скорость восстанавливающегося напряжения на контактах вспомогательной камеры велика. В этом случае после гашения дуги на контактах камеры 6 пробивается искровой промежуток и параллельно контактам включается шунтирующий резистор 7. При последующем переходе тока через ноль дуга на искровом промежутке гасится потоком воздуха.
Последним отключается нож отделителя, создавая окончательный разрыв цепи. После отключения отделителя прекращается подача воздуха в камеры 3 и 8 и подвижные контакты под действием пружин возвращаются во включенное положение. Полное время отключения этого выключателя 0,17 с. При включении сначала замыкается нож отделителя 9, а затем нож разъединителя 5.
|
|
|

Рисунок 9.1 – воздушный выключатель ВВГ-20, а – общий вид; б – схема электрическая функциональная.
1 – изолятор опорный; 2 – резистор; 3 – дугогасительная камера основная первая; 4 – выводы контактные; 5 – ножи разъединителя; 6 – камера вспомогательная; 7 – резистор; 8 – дугогасительная камера основная вторая; 9 – отделитель.
Рассмотренный выключатель не предназначен для автоматического повторного включения (АПВ).
Воздушные выключатели серии ВВБ имеют изолированный от земли резервуар сжатого воздуха, внутри которого находится контактная система. Давление воздуха к моменту гашения равно номинальному, поэтому эти выключатели имеют большую мощность отключения.

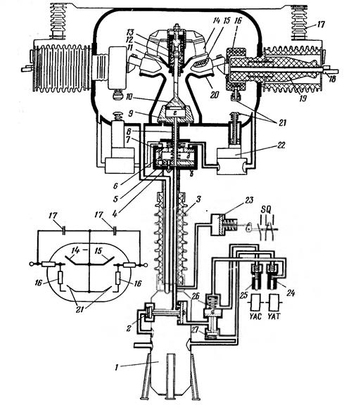
Рисунок 9.2 – электропневматическая и электрическая функциональная схема выключателя ВВБ-110.
Основным элементом выключателей серии ВВБ является дугогасительный модуль с двумя разрывами в металлическом резервуаре со сжатым воздухом (2 МПа). При номинальном напряжении 110 кВ на каждый полюс имеется один модуль. Основанием выключателя служит вертикальный резервуар 1 со сжатым воздухом. На котором сбоку закреплен шкаф управления с элементами электрического и пневматического управления. Запаса воздуха, содержащегося в дугогасительном модуле достаточно для двух отключений. Дугогасительная камера связана с дополнительным резервуаром трубой из изолирующего материала, по которой происходит
постоянная подпитка воздухом. Кроме того, в изоляторе проходит вторая труба меньшего диаметра, по которой подается или сбрасывается воздух в процессе включения и отключения. Это труба называется импульсной. На электропневматической схеме выключателя ВВБ-110 (рисунок 9.2) условно показан горизонтальный разрез дугогасительной камеры. Расположение емкостного делителя 17 показано условно. На опорном изоляторе 3 укреплен металлический резервуар – дугогасительный модуль, внутри которого находятся подвижные контакты в виде ножей 14, закрепленных на траверсе, и неподвижные контакты 15 внутри металлических стаканов с прорезями для входа ножей. Неподвижные контакты находятся внутри металлических конфузоров 20, экранирующих ножи в отключенном положении и создающих направленный поток воздуха при отключении.
На вводах 18, изолированных эпоксидными втулками 19 и фарфоровой рубашкой, внутри камеры расположены шунтирующие резисторы 16 и вспомогательные контакты 21.
На рисунке 9.2 выключатель в отключенном положении. Для включения подается командный импульс на электромагнит включения ЭВ, который открывает пусковой клапан 25. Воздух из полости обратного клапана 26 и объема а промежуточного клапана 27 сбрасывается в атмосферу. Промежуточный клапан перемещается вверх и обеспечивает сброс воздуха из объема б клапана управления, который перекрывает доступ сжатому воздуху из резервуара 1 и обеспечивает сброс воздуха их объема в под поршнем дутьевого клапана и из полости г через полый шток 8. При этом за счет разности давлений под поршнем 10 и над ним контактная система идет на включение. Ролики фиксатора 12 переходят через выступ на штоке 13. Контактные ножи 14 входят в пальцевый неподвижный контакт 15. Одновременно через золотники 6 сжатый воздух сбрасывается из полости д и запирающая шайба 7 под действием своей пружины перемещается
к поршню 5.
При закрытии клапана 2 обеспечивается сброс воздуха из-под поршня привода 23. Вспомогательные контакты переводятся в положение Включено.
Вспомогательные контакты 21 включаются с некоторым запаздыванием по отношению к главным с помощью клапана 22.
Во включенном положении ток проходит по токоведущему стержню ввода через неподвижный контакт 15, нож 14, траверсу, нож и контакт
|
|
|
второго разрыва во второй ввод.
Для отключения выключателя подается командный импульс на электромагнит отключения ЭО, который открывает пусковой клапан 24. Сжатый воздух из резервуара через обратный клапан 26 заполняет объем а. Клапан 27 открывается, обеспечивая доступ сжатому воздуху в объем б, при этом клапан 2 соединяет импульсную трубу с резервуаром 1. Сжатый воздух поступает в полость в, поршень 5 вместе с шайбой 7 перемещается вверх. Движение поршня через полый шток 8 передается тарелке дутьевого клапана 9, поршню механизма траверсы 10 и через шток 13 траверсе с контактными
ножами. Открывается дутьевой клапан, контакты размыкаются и возникает дуга. Мощным потоком воздуха дуга с рабочих контактов перебрасывается на противоэлектрод 11 и концы стаканов неподвижного 15. Время гашения дуги не превышает 0,02 с.
В конце хода поршня 5 шайба 7 закрывает выход в атмосферу из полости д. начинается переток воздуха из полости в в полость д через регулируемое отверстие в поршне, закрытое иглой 4. Когда давление в полости д увеличится, поршень под действием своей пружины возвращается в исходное положение, а шайба остается прижатой в верхнем положении. Вместе с поршнем опускается тарелка 9 и дутьевой клапан закрывается.
Отключение вспомогательных контактов, разрывающих ток через шунтирующие сопротивления, происходит с запаздыванием по отношению к главным за счет подачи воздуха в клапан 22 после того, как шайба 7 перекроет выход в атмосферу. Возникшая межу контактами дуга гасится потоком воздуха, проходящего через полый подвижный контакт.
При подаче воздуха в импульсную трубу при отключении часть воздуха попадает под поршень привода 23 и вспомогательные контакты переводятся в положение, соответствующее отключенному положению выключателя.
Выключатели серии ВВБ выпускаются на напряжение 35 – 750 кВ. полюс выключателя ВВБ-220 имеет два дугогасительных модуля, расположенных один над другим на общем изолирующем основании; полюс ВВБ-330 имеет четыре модуля на двух изолирующих основаниях, полюс ВВБ-500 состоит из шести модулей на трех опорных колонках, полюс
|
|
|
ВВБ-750 имеет восемь дугогасительных модулей на четырех опорных колонках.
В элегазовых выключателях для гашения дуги используется элегаз.
Элегаз (шестифтористая сера) представляет собой инертный газ, плотность, которого превышает плотность воздуха в 5 раз. Электрическая прочность элегаза в 2-3 раза выше прочности воздуха.
В элегазе при атмосферном давлении может быть погашена дуга с током, который в 100 раз превышает ток, отключаемый в воздухе в тех же условиях. Исключительная способность элегаза гасить дугу объясняется тем, что его молекулы улавливают электроны дугового столба и образуют относительно неподвижные отрицательные ионы. Потеря электронов делает дугу
неустойчивой и она легко гаснет. В струе элегаза, т. Е. при газовом дутье, поглощение электронов из дугового столба происходит еще интенсивнее. Высокая удельная теплоемкость (почти в 4 раза выше, чем у воздуха) позволяет уменьшить нагрузку токоведущих частей и уменьшить массу меди в выключателе.
Элегаз является инертным газом, не вступающим в реакцию с кислородом и водородом, а так же слабо разлагается дугой. При нормальной эксплуатации элегаз не действует на материалы аппаратов и не «стареет».
В продуктах разложения элегаза содержатся активные высокотоксичные фториды и сернистые соединения, которые в газообразном и твердом состоянии чрезвычайно опасны для человека.
Способы гашения дуги
Дугогасящая способность элегаза наиболее эффективна при большой скорости его струи относительно горящей дуги.
Применяются следующие дугогасительные устройства с элегазом:
- с автоматическим дутьем, необходимый для дутья перепад давления создается за счет энергии привода;
- с охлаждением дуги элегазом при ее движении, вызванном взаимодействием тока с магнитным полем.
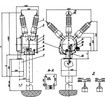
В состав выключателя ВГБ-35 (рисунок 9.3) входят привод, шесть высоковольтных вводов со встроенными трансформаторами тока и один газоплотный алюминиевый сварной бак, внутри которого размещены дугогасительные устройства 3-х фаз.
Дугогасительные устройства, содержащие неподвижный и подвижный контакты, а также катушки магнитного дутья, используют для гашения способ вращения электрической дуги в магнитном поле создаваемом током, протекающем через катушки. Подвижные контакты, расположенные под углом 1200, жестко закреплены на концах трехлучевой изоляционной траверсы, установленной непосредственно на центральном поворотном валу бака выключателя. Простота дугогасительных устройств, имеющих минимально возможное количество подвижных элементов, является основой их надежной работы.
Подогревательное устройство, размещенное под днищем бака, обеспечивает возможность работы выключателя, заполненного чистым элегазом, в условиях низких температур (до минус 600С).

Рисунок 9.3, а – элегазовый выключатель ВГБ-35, 1 – ввод;
2 – трансформатор тока; 3 – бак; 4 – фланец; 5 – клеммная коробка; 6 – устройство подогревательное; 7 – шкаф с приводом; 8 – сигнализатор плотности; 9 – клапан автономной герметизации; 10 – крышка; 11 – механизм; 12 – болт заземления; б – общий вид выключателя ВГБ-35
Выключатели серии ВГТ относятся к электрическим коммутационным аппаратам высокого напряжения, в которых гасящей и изолирующей средой является элегаз.
Выключатели ВГТ-110 (рисунок 9.4) состоят из трех полюсов (колонн), установленных на общей раме и механически связанных друг с другом. Все три полюса выключателя управляются одним пружинным приводом типа ППрК.
В выключателе ВГТ-220 (рисунок 9.5) каждый полюс имеет раму и управляется своим приводом. Полюс ВГТ-220 состоит из двух колонн, дугогасительные устройства которых установлены на опорных изоляторах и соединены последовательно двумя шинами. Для равномерного распределения напряжения по дугогасительным устройствам параллельно к ним подключены шунтирующие конденсаторы.
Принцип работы выключателей основан на гашении электрической дуги потоком элегаза, который создается за счет перепада давления, обеспечиваемого автогенерацией, т.е. за счет тепловой энергии самой дуги. Включение выключателей осуществляется за счет энергии включающих пружин привода, а отключение – за счет энергии пружины отключающего устройства выключателя.

Рисунок 9.4, а – элегазовый выключатель ВГТ-110, 1 – дугогасительный бак; 2 – опорный изолятор; 3 – рама; 4 – привод; б – общий вид выключателя ВГТ-110.

Рисунок 9.5– элегазовый выключатель ВГТ-220, 1 – дугогасительный бак; 2 – опорный изолятор; 3 – рама; 4 – привод;
Выключатель ВГУГ-220 (рисунок 9.6) представляет собой комплект из трех не связанных друг с другом полуполюсов и распределительного шкафа.
Каждый полуполюс включает в себя дугогасительное устройство с конденсаторами для равномерного распределения напряжения, опорную колонку фарфоровых изоляторов, установленную на цоколе с гидроприводом. Связь между приводом и контактами дугогасительного
устройства осуществляется посредством изоляционной тяги, проходящей внутри опорного изолятора. Каждый полуполюс снабжен индикатором плотности элегаза для сигнализации о снижении давления элегаза.
В распределительном шкафу размещены элементы электрической части
схем управления выключателем и гидронасосным агрегатом привода. Цоколь с гидроприводом и распределительный шкаф снабжены основным и антиконденсатным подогревами и системой автоматического управления
основным подогревом.
Выключатель ВГУГ-500 (рисунок 9.7) представляет собой комплект из трех не связанных друг с другом полюсов (шесть полуполюсов). На каждый полюс имеется два дугогасительных разрыва.
Достоинством выключателей серии ВГУГ является пониженный (0,5%) расход элегаза на утечки в год % от массы элегаза.

Рисунок 9.6 – выключатель ВГУГ-220, 1 – дугогасительная камера;
2 – опорный изолятор; 3 – привод;

Рисунок 9.7, а – элегазовый выключатель ВГУГ-500; б – общий вид выключателя; 1 – дугогасительная камера; 2 – опорный изолятор; 3 – привод;
Каждый полюс выключателя ВГК-500, элегазовый колонковый,
(рисунок 9.8) включает в себя двухразрывное дугогасительное устройство с конденсаторами для равномерного распределения напряжения, опорную колонку фарфоровых изоляторов, установленную на цоколе с гидроприводом. Связь между приводами и контактами дугогасительных устройств осуществляется посредством изоляционных тяг, проходящих
внутри опорных изоляторов. Каждый полюс снабжен индикатором плотности газа для сигнализации о снижении давления. В распределительном шкафу размещены элементы электрической части схем управления гидронасосными агрегатами привода.

Рисунок 9.8 – выключатель ВГК-500; 1 – дугогасительное устройство;
2 – опорный изолятор; 3 – привод; 4 – распределительный шкаф.






