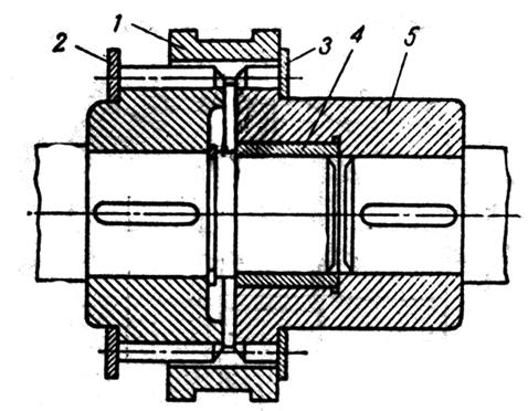
Муфта зубчатая сцепная (синхронная) (рис 5.2) по устройству и методике расчета подобна зубчатой компенсирующей муфте
(рис. 4.1) с той лишь разницей, что здесь, обойма 1 изготавливается подвижной и управляется с помощью отводки. На рис 5.2 обойма расположена в положении «включено». Диски 3 и 2 являются ограничителями, а втулка 4 центрирует валы и одновременно выполняет функцию подшипника при их относительном вращении (когда муфта включена).

Рис. 5.2. Муфта зубчатая сцепная
Применяют зубчатые муфты и без обоймы 1, у них одна полумуфта имеет внутренние, а другая внешние зубья.
Для устранения ударов при включении в зубчатых муфтах применяют синхронизаторы (например, в коробках скоростей автомобилей), которые выравнивают скорости валов перед их соединением (рис. 5.3) Синхронизатор здесь выполнен в виде двусторонней конической фрикционной муфты 2.

Рис. 5.3. Синхронизатор постоянного давления
При перемещении обоймы 1 с внутренними зубьями вправо или влево она через шарик передает осевую силу конусной полумуфте синхронизатора и сцепляет её с конусной полумуфтой одной из шестерен. Проскальзывание, которое наблюдается при включении, позволяет плавно разгонять ведомые элементы, происходит выравнивание угловых скоростей ведущего вала и ведомой шестерни. После преодоления сопротивления пружины фиксатора обоймы и смещения фиксирующих шариков внутрь муфты дальнейшим перемещением обоймы включается зубчатая муфта.
|
|
|






