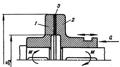
Простейшая однодисковая муфта с одной парой поверхностей трения (рис. 5.4) содержит неподвижную полумуфту 1, подвижную в осевом направлении полумуфту 2 и фрикционную накладку 3.

Рис. 5.4. Фрикционная однодисковая муфта
Для уменьшения силы прижатия и габаритов муфты применяют конструкции со многими парами поверхностей трения – многодисковые муфты (рис. 5.5) В этих муфтах имеются две группы дисков: наружные 7 и внутренние 8. Наружные диски соединены с полумуфтой 6, а внутренние – с полумуфтой 4 с помощью подвижного шлицевого соединения.
Правый крайний внутренний диск опирается на регулировочные гайки 5. На левый крайний диск от механизма управления действуют силы нажатия, которые передаются на все поверхности трения.

Рис. 5.5. Фрикционная многодисковая муфта
Применение многодисковых муфт позволяет увеличить крутящий момент в число раз, равное числу пар трущихся поверхностей по сравнению с однодисковой муфтой.






