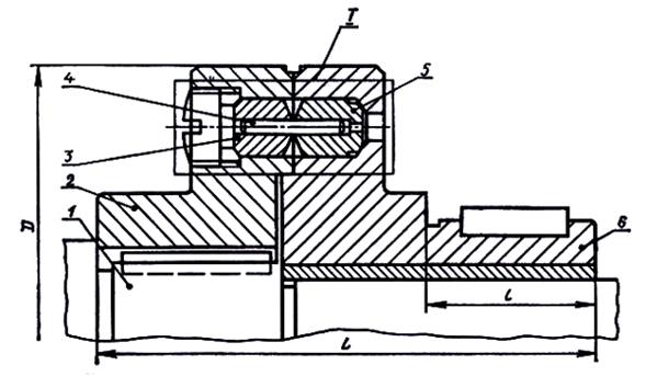
Предохранительные муфты с разрушаемым элементом применяют при редком возникновении перегрузки. Недостаток этих муфт – необходимость замены разрушаемых элементов. Из предохранительных муфт с разрушаемыми элементами чаще всего применяют муфту со срезными штифтами (рис. 6.1)
Полумуфты 2 и 6 соединены между собой стальными штифтами 4, заключенными в стальные каленые втулки 3 и 5, предохраняющие полумуфты от смятия их штифтами. При перегрузке машин (возрастании крутящего момента до недопускаемой величины) штифты срезаются и полумуфты расцепляются. Число штифтов один или два. Материал штифтов – среднеуглеродистая, реже, закаленная сталь. Недостатком этих муфт является необходимость замены разрушенного штифта после каждого срабатывания муфты.

Рис. 6.1. Муфта со срезным штифтом






