Обгонные муфты или муфты свободного хода характеризуются тем, что они автоматически сцепляют или расцепляют валы в зависимости от соотношения угловых скоростей валов. Если скорость ведущего вала становится больше скорости ведомого вала, то муфта сцепляет валы. А если скорость ведущего вала становится меньше скорости ведомого вала, то муфта расцепляет валы, не препятствуя ведомому валу свободно обгонять ведущий вал, откуда и происходит наименование муфт.
Муфты свободного хода широко применяются в велосипедах, мотоциклах, коробках передач автомобилей, металлорежущих станках, вертолетах и в других машинах.
Обгонные муфты по способу сцепления их полумуфт разделяются на храповые и фрикционные.
В храповой муфте (рис. 6.8) полумуфта 1 имеет венец с несимметричными внутренними зубьями, а на полумуфте 2 шарнирно закреплены храповики 3, которые пружинами прижимаются к зубчатому венцу. Храповики обеспечивают передачу вращающего момента в одном направлении, если угловая скорость ведущей полумуфты 1 превышает угловую скорость ведомой полумуфты 2. Иначе храповики отжимаются скошенной поверхностью зубьев, и момент не передается.
|
|
|

Рис. 6.8. Обгонная зубчато-храповая муфта
Применяются зубчато-храповые муфты для тихоходных валов, так как имеют ряд существенных недостатков: сильный шум при холостом ходе, резкое включение, сопровождающееся ударом.
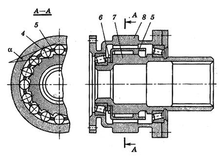
Преимущественное применение имеют фрикционные обгонные муфты с роликами (рис. 6.9 а и б), т.к. у них почти полностью отсутствует мертвый ход и работают они бесшумно.
Эти муфты имеют относительно малые габаритные размеры, они технологичны, просты в эксплуатации, не имеют мертвого хода и работают практически без шума. Односторонняя передача вращающего момента осуществляется при заклинивании роликов 3 между обоймой 1 и звездочкой 2 (рис. 6.9а, б).

Рис. 6.9(а). Роликовая фрикционная обгонная муфта

Рис. 6.9.(б). Роликовая фрикционная обгонная муфта
Ролики разделяют сепаратором 5. Контакт роликов с обоймой и звездочкой обеспечивается кольцевой пружиной 4. В такой муфте вращающий момент передается при ведущей обойме против часовой стрелки, а при ведущей звездочке, если она вращается по часовой стрелке.
При обратном вращении ролики западают в расширенную часть пазов звездочки (рис. 6.10) и свободно проворачиваются, вращающий момент не передается.

Рис. 6.10. Картина заклинивания роликов
Характеристикой, определяющей работоспособность и надежность муфты, является угол заклинивания роликов α – угол между касательными, проведенными через точки касания ролика с обоймой и звездочкой.
Обоймы и звездочки изготавливают из цементируемой стали 12Х2Н4А (твердость не менее 60 HRC), ролики из стали ШХ15 (61…65 HRC).
|
|
|

Рис. 6.11. Упругая фрикционная обгонная муфта
На рис 6.11 показана своеобразная конструкция упругой обгонной муфты.
При вращении полумуфты Б по часовой стрелке резиновые шары заклиниваются между обоймой А и полумуфтой Б, тем самым включая муфту. Обе полумуфты имеют желоба; причем желоб на полумуфте А – один и имеет кольцевую форму, в полумуфте Б число желобов соответствует числу шаров В.
Учебное издание






