Центробежные муфты (рис. 6.5, 6.6, 6.7) по способу сцепления полумуфт представляют собой фрикционные муфты, в которых в отличие от фрикционных управляемых муфт сцепления, полумуфты сцепляются или расцепляются автоматически при помощи специальных грузов, находящихся под действием центробежных сил и пружин.

Рис. 6.5. Центробежная самоуправляемая муфта

Рис. 6.6. Муфта с поворотными колодками, шарнирно
соединенными с полумуфтой и со свободными колодками, поставленными в крестовину.

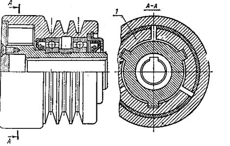
Рис. 6.7. Муфта центробежная с 4 колодками
При достижении ведущим валом определенной угловой скорости центробежные силы, действующие на грузы, связанные с одной из полумуфт, преодолевают силы пружин и прижимают (или отжимают) эти грузы к другой полумуфте, в результате чего полумуфты и соединяемые ими валы сцепляются (или расцепляются).






