Челюстной затвор
Челюстной затвор (рис. 72) состоит из двух цилиндрических секторных задвижек 1, соединенных между собой зубчатыми секторами 2, открывающимися либо вручную, либо одним или двумя пневматическими цилиндрами 3.
Челюстные затворы более распространены, чем секторные, так как они обеспечивают центральное истечение материала из бункера. Кроме того, у них ход штока пневматического цилиндра или рычага приблизительно в 2 раза меньше, чем у секторного затвора.
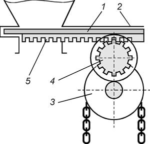
Шиберный затвор (рис. 73) состоит из плоской задвижки 1, плоских направляющих 2 или роликов. Приводом служит пневматический цилиндр или зубчатая рейка 5 с шестерней 4, вращение которой передается от цепного блока 3. Шиберные затворы в литейных цехах применяют реже, чем челюстные, так как они менее надежны в эксплуатации.
Рис. 70. Эпюра давления на стенки бункера | Рис. 71. Секторный затвор |
Рис. 72. Челюстной затвор | Рис. 73. Шиберный затвор |
Рис. 70. Эпюра давления на стенки бункера
Рис. 71. Секторный затвор
Рис. 72. Челюстной затвор
Рис. 73. Шиберный затвор