Поворотный дозатор
Коробчатый дозатор
Коробчатый дозатор (рис. 81) представляет собой коробку 1, расположенную под бункером и передвигающуюся от него к месту разгрузки пневмоцилиндром 2. Дном коробки является неподвижная плита 3. Регулировка объема дозы осуществляется перестановкой задней стенки коробки.
Поворотный дозатор (рис. 82) состоит из поворотного короба 1 и пневматического цилиндра 2. Дозатор легко управляется и обеспечивает точное дозирование. Объем дозы определяется объемом короба.
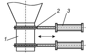
Шиберный дозатор (рис. 83) представляет собой трубу 1 прямоугольного сечения или мягкий рукав и два шибера 2, которые перемещаются пневматическими цилиндрами 3. Объем дозы определяется объемом трубы, заключенной между двумя шиберами.
Рис. 82. Поворотный дозатор
|
Рис. 83. Шиберный дозатор
|
Серьезным недостатком дозаторов периодического действия (рис. 79–82) является то, что у них почти невозможно изменять величину дозируемой порции, по крайней мере, без остановки агрегатов. В силу этого и некоторых других причин, например, из-за повышенного износа, эти дозаторы применяются все реже и реже.
Рис. 82. Поворотный дозатор
Рис. 83. Шиберный дозатор






