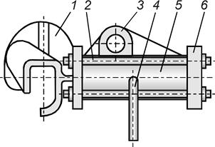
Подвесной вибратор (рис. 91) представляет собой литую скобу 1, к которой при помощи стяжек 2 и фланцев 6 прикреплен пневматический плунжерный вибратор 5. Подвесной вибратор может переноситься краном за кольцо 3.
При выбивке форм вибратор с помощью крана накладывается скобой на стенку опоки или отливку, подвешенные на поперечине, установленной на стойке. Привод вибратора осуществляется через систему подвода воздуха 4, включающую вентиль, лубрикатор, манометр, систему шлангов, тройник и пусковой клапан. Под действием вибрации, передаваемой через скобу на стенку опоки, форма разрушается, и отливка со смесью выпадает из опоки.
Рис. 91. Подвесной вибратор
|
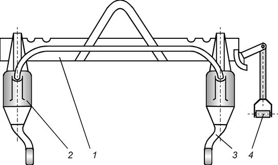
Вибрационная траверса (рис. 92) включает коромысло 1, на которое в различных положениях, в зависимости от размеров опок, подвешиваются скобы с крюками 3. На каждой скобе установлен пневматический вибратор 2. Вибраторы включают с помощью пусковой рукоятки 4.
Применяют также траверсы, имеющие электромеханический привод, установленный непосредственно на балке коромысла.
При выбивке траверсу подвешивают на крюк подъемника на пружинных подвесках. С помощью вибрационной траверсы выбивают формы массой до 3 т.
Рис. 92. Вибрационная траверса
|
Рис. 91. Подвесной вибратор
Рис. 92. Вибрационная траверса






