Ускорить процесс выбивки опочных форм позволяют установки, работающие «на провал», которые имеются в большинстве отечественных литейных цехов массового производства.
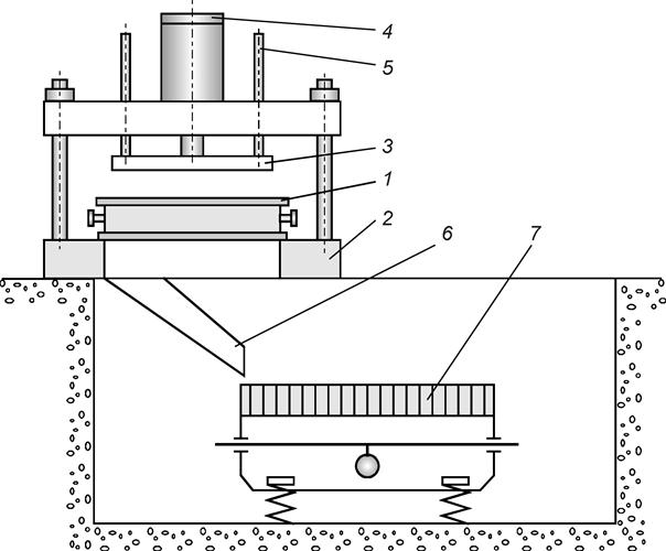
В состав установок входит гидравлический или пневматический пресс и инерционная выбивная решетка с транспортированием отливок или выбивной барабан. Процесс начинается с того, что форма 1 с охладительной ветви конвейера переставляется на стол 2, в котором имеется отверстие, соответствующее размерам формы в свету (рис. 96). При рабочем ходе цилиндра 4 происходит выдавливание кома смеси с отливками прошивной плитой 3. Выдавленный ком соскальзывает по наклонному спуску 6 на выбивную решетку 7 или в выбивной барабан, где происходит отделение отливок от смеси.
По периметру прошивной плиты 3 пресса устанавливается металлическая щетка, поэтому при прошивке происходит очистка внутренней боковой поверхности опок. Остается только снять опоки со стола пресса, разъединить (распарить) и подать к формовочным машинам.
Установки, с прошивкой форм обладают рядом преимуществ по сравнению с выбивкой непосредственно на выбивных решетках. Процесс выдавливания кома короче по времени процесса выбивки, поэтому опоки быстрее возвращаются на формовку. Опоки не разбиваются ударами полотна решетки, поэтому возрастает срок их службы. Ком смеси без опок быстрее разрушается на выбивной решетке, поэтому возрастает производительность установок. Опоки имеют значительную массу, поэтому при одной и той же грузоподъемности выбивной решетки в установках с выдавливанием кома можно одновременно выбивать больше форм или использовать решетку меньшей грузоподъемности.
Рис. 96. Установка выбивки опок с выдавливанием кома
|
Рис. 96. Установка выбивки опок с выдавливанием кома






