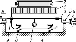
Выбивная эксцентриковая решетка (рис. 93) представляет собой корпус решетки 1, имеющий сверху рабочее полотно, на которое устанавливаются опоки 2 с выбиваемой формой. Вращающийся в подшипниках рамы 5 эксцентриковый вал 3 поднимает корпус решетки на величину эксцентриситета a. Вращение валу сообщается непосредственно от электродвигателя через муфту 8 или через клиноременную передачу. Амплитуда колебаний корпуса определяются эксцентриситетом приводного вала, а частота – его угловой скоростью. Причем амплитуда является постоянной величиной, равной эксцентриситету. Дебаланс 7, служит для динамической балансировки вала и уменьшения нагрузки на подшипники рамы.
При движении корпуса решетки вверх опока отрывается от него, а затем падает, соударяясь с рабочим полотном. В результате соударений форма разрушается, смесь просыпается сквозь отверстия в полотне, а отливка и опока остаются на нем. Передача ударов на фундамент 4 смягчается пружинами 6.
Рис. 93. Схема устройства выбивной эксцентриковой решетки
|
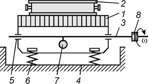
Рис. 94. Схема устройства выбивной инерционной решетки
|
Рис. 93. Схема устройства выбивной эксцентриковой решетки
Рис. 94. Схема устройства выбивной инерционной решетки






