Герметизация бескорпусных конструкций
- заливка эпоксидными компаундами
- метод обволакивания

- наносят несколько слоев тонкой пленки
полимерного материала с предварительным
подсушиванием каждого слоя
- закрепление выводов в приспособлении
- силанирование (гидрофобное защитное
покрытие на основе кремнийорганических
полимеров)
- нанесение защитного закрепляющего состава
- нанесение и полимеризация герметизирующего
состава
- контроль качества герметизирующего покрытия
- метод свободной заливки

заполнение жидким герметизирующим компаундом специальных
форм или корпусов, в которых размещают микросхемы с выводами
- свободная заливка во вспомогательные разъемные формы
- с предварительным подогревом разъемных форм
- без подогрева разъемных форм
- свободная заливка в предварительно изготовленные корпуса
пластмассовая оболочка, изготовленная горячим прессованием
или металлическая оболочка, изготовленная штамповкой
- прессование
некоторые полимерные материалы плавятся и текут под
|
|
|
действием температуры и давления - полимеры в виде
пресс-порошков и таблеток, сохраняющие свойства в
течение длительного времени - термореактивные полиры
- компрессионное
- литьевое
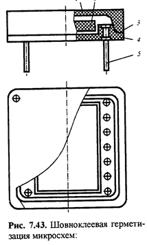
- шовноклеевая герметизация
пластмассовые корпуса с армированными выводами


- вакуум-плотная корпусная герметизация
- металлостеклянные
- керамические
- металлопластмассовые
- металлические корпуса и детали
холодная штамповка - металлические детали корпусов
вытяжка, вырубка, объемная штамповка - фланцы и крышки корпусов
вырубка на штампах - перфоленты и рамки
резка проволоки - штырьковые выводы
- стеклянные корпуса
материал - капилляры (стеклянные трубки), стеклопорошки и стеклотаблетки
- наклейка капилляров на подложку
- закрепление подложки в приспособлении
- нарезка капилляров на бусы
- металлокерамические
трехслойная керамическая лента
- верхняя лента (имеет форму рамки)
рисунок кольца для крышки
вжигание молибденовой пасты (1350° С, 40 мин в водороде)
припаивание выводной рамки и рамки для герметизации твердым
припоем в сухом воздухе
- средняя лента
рисунок молибденовой пастой связи контактных площадок корпуса
с выводной рамкой
- нижняя лента (имеет форму рамки)
рисунок посадочной площадки и ее соединение с контактом
заземления выводной рамки
- пластмассовые
полимеризующаяся при термообработке пластмасса
- герметизация клеем
- нанесение клея на площадь склеивания
- оплавление клея при 140..150° С с образованием формополимера
- установка корпусов на крышки и помещение в термошкаф
|
|
|
- склеивание
- желирование (155..160° С в течение 10..20 ч)
- отвердение (155..160° С в течение 24 ч)
- герметизация пайкой
мягкие припои: олово-свинец (240° С) или свинец-серебро (340° С)
пайку ведут в печах при нагреве конвекцией и струей горячего газа
- герметизация холодной сваркой
по замкнутому контуру корпуса без нагрева сжатие в прессах
- односторонняя сварка - деформируется одна из свариваемых деталей
- двусторонняя сварка - по замкнутому контуру деформируются обе детали
- герметизация аргонно-дуговой сваркой
в среде инертного газа плавящимися или неплавящимися электродами
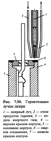
- герметизация лазерной сваркой
- герметизация шовной контактной (роликовой) сваркой



- герметизация на металлической ленте (толщина 50 мкм из ковара,
покрытая никелем);
герметизация чипов
- заливка
- опрессовка
- удаление внешней части рамки штамповкой






