Усилитель гидравлический, встроенный. В качестве рабочей жидкости применяется масло марки «Р», заменители масло веретенное АУ или масло АУп. Вместимость системы 4,2 л.
В состав рулевого усилителя входит масляный насос 4 (рис. 10), распределитель 19, силовой цилиндр 7, 25, масляный радиатор 28, шланги и трубопроводы.
Источником энергии в гидравлическом усилителе является масляный насос, приводимый в действие от коленчатого вала двигателя через шестерни привода агрегатов. Масляный насос лопастной, двойного действия. Масляный насос крепится к картеру привода агрегатов тремя болтами.

Рис. 10. Усилитель рулевого управления автомобиля КамАЗ-4310 (СЛАЙД № 17)
1 – рулевое колесо; 2 – пружина предохранительного клапана фильтра; 3 – фильтр; 4 – масляный насос; 5 – перепускной клапан; 6 – вал сошки с зубчатым сектором; 7 – задняя полость силового цилиндра; 8 – поршень-рейка; 9 – сошка; 10 – продольная тяга; 11 – поперечная тяга; 12 – переднее колесо автомобиля; 13 – магнитная пробка; 14 – шариковая гайка; 15 – винт; 16 – картер рулевого механизма; 17 – обратный клапан; 18 – предохранительный клапан рулевого усилителя; 19 – распределитель; 20 – золотник; 21 – упорный подшипник; 22 – реактивный плунжер; 23 – центрирующая пружина; 24 – угловой редуктор; 25 – передняя полость силового цилиндра; 26 – линия нагнетания; 27 – карданный вал; 28 – радиатор; 29 – труба рулевой колонки; 30 – заливной фильтр; 31 – бачок насоса (гидросистемы); 32 – линия слива; 33 – пружина перепускного клапана насоса; 34 – предохранительный клапан насоса; 35 – перепускной клапан; А, Б – дросселирующие отверстия
Насос состоит из корпуса 1 (рис. 11) с установленным на подшипниках 22, 25 валом насоса 26 и крышки 17, между которыми расположены статор 21 и ротор 19 с лопастями. В расточке крышки установлены распределительный диск 18 и блок клапанов – перепускной и предохранительный. В верхней части насоса установлен бачок 4, в котором размещены фильтр 13 насоса, заливной фильтр 5 с пробкой 6, оснащенной масломерным щупом, коллектор 3 и сливная трубка 14. Бачок закрыт крышкой 11, на которой установлен предохранительный клапан 10, отрегулированный на давление 0,12-0,24 кгс/м2.

Рис. 11. Масляный насос рулевого усилителя (СЛАЙД № 18)
1 – корпус; 2 – кольцо упорное; 3 – коллектор; 4 – бачок; 5 – фильтр заливной; 6 - пробка заливной горловины бачка; 7, 29 – шайба; 8 – гайка- барашек; 9, 20 – уплотнительное кольцо; 10 - клапан предохранительный; 11 – крышка бачка; 12, 15, 16 – прокладка уплотнительная; 13 – фильтр насоса; 14 – трубка бачка; 17 – крышка насоса; 18 - распределительный диск; 19 – ротор с лопастями; 21 – статор; 22 – подшипник роликовый; 23 – манжета; 24 – кольцо маслоотгонное; 25 – подшипник шариковый; 26 – вал насоса; 27 – гайка; 28 – шплинт; 30 – шестерня привода насоса; 31 – шпонка; 32 – кольцо стопорное
На вале насоса 26 установлена шестерня 30 привода, а на противоположном шлицевом конце - ротор с лопастями. Вал со стороны корпуса снабжен самоподвижной манжетой 23и маслоотгонным кольцом 24.
Главными элементами насоса, обеспечивающими создание давления, является рабочая пара статор - ротор с лопастями (рис. 12).
Статор 2 представляет собой стальную деталь с овальным отверстием специальной формы в центре. Ротор 3 - цилиндрическая деталь со шлицевым отверстием в центре для соединения с приводным валом, имеет радиальные пазы, в которые свободно установлены пластинчатые лопасти 1.

Рис. 12. Рабочая пара лопастного насоса (СЛАЙД № 19)
1 – лопасти; 2 – статор; 3 – ротор
С другой стороны к ротору прилегает распределительный диск 18. Между каждыми двумя лопастями и двумя торцовыми поверхностями образуется камера. Утечка масла из нее мала даже при максимальном давлении из-за малых торцовых зазоров.
Объем пространства между двумя лопастями, корпусом и распределительным диском при вращении ротора циклически изменяется от минимального до максимального два раза за один оборот ротора. В том месте, где начинается увеличение объема камеры, в корпусе насоса выполнено отверстие 8, через которое подводится из бачка масло (рис. 13,а). Диаметрально противоположно выполнено второе входное отверстие. За счет разрежения масло заполняет пространство между лопастями, причем подача масла в камеру производится с двух сторон, как со стороны корпуса, так и стороны распределительного диска через три перепускные отверстия 7 в статоре и лунки 4 в распределительном диске.
При дальнейшем вращении ротора происходит уменьшение объема между лопастями, что приводит к повышению давления масла, которое через нагнетательные каналы 1 в распределительном диске направляется в систему.
Полости нагнетания так же, как и полости всасывания расположены друг против друга. Поэтому силы давления масла на ротор взаимно уравновешиваются и не нагружают подшипники вала насоса радиальными усилиями.
Дополнительные каналы 2 и 3 меньшего размера в распределительном диске соединяют пространство под лопастями в роторе с полостью в крышке насоса. Этим предотвращается запирание масла, которое препятствовало бы радиальному перемещению лопастей и одновременно обеспечивается поджатие лопастей к статору давлением масла.

а


б
Рис. 13 - Распределительный диск (СЛАЙД № 20)
а – установка распределительного диска; б – общий вид; 1 – нагнетательные каналы; 2, 3 – разгрузочные каналы, 4 – лунки; 5 – центрирующие отверстия; 6 – нагнетательная полость; 7 – перепускные отверстия
Уплотнение рабочих полостей при давлении, доходящем до 8,7 МПа (75 кгс/см2), обеспечивается тем, что все зазоры, через которые оно может перетекать, очень малы. Это достигается высокой точностью изготовления деталей насоса и, кроме того, ротор, статор и лопасти сортируют по длине и собирают по размерным группам. Разукомплектовка их недопустима.
Производительность масляного насоса обеспечивает работу рулевого усилителя даже при минимальной частоте вращения коленчатого вала двигателя. Если насос подает в систему усилителя достаточное количество масла на холостом ходу, то при максимальной частоте вращения коленчатого вала двигателя его производительность может возрасти в 7-8 раз. Такого количества масла трубопроводы и распределитель не смогут пропустить. Для ограничения производительности насоса на выходе из полости А (рис. 14) выполнено калиброванное отверстие 5, способное пропустить в единицу времени строго определенное количество масла, и в крышке насоса установлен перепускной клапан 1, открывающийся когда производительность насоса превысит пропускную способность калиброванного отверстия 5. В этом случае избыточное количество масла направляется через коллектор на вход в насос.

Рис. 14. Крышка насоса (СЛАЙД № 21)
1 – перепускной клапан; 2 – предохранительный клапан; 3 – вертикальный канал; 4 – крышка насоса; 5 – калиброванное отверстие; 6 – распределительный диск
Для ограничения максимального давления в системе рулевого усилителя в расточке перепускного клапана установлен предохранительный клапан 2, который открывается в том случае, если давление в гидравлическом усилителе достигнет 0,79-0,84 МПа (80-85 кгс/см2). Открытие предохранительного клапана способствует открытию перепускного клапана, который снижает производительность насоса, одновременно ограничивая максимальное давление в системе рулевого усилителя. Работа клапанов насоса показана на рис. 15.

Рис. 15. Схема работы клапанов масляного насоса рулевого усилителя (СЛАЙД № 22)
а – работа перепускного клапана; б – работа предохранительного клапана
Очистка масла, поступающего из гидросистемы в насос, осуществляется масляным фильтром, установленным в бачке насоса. Фильтр полнопоточный, с бумажным фильтрующим элементом. В верхней части фильтра установлен предохранительный клапан, срабатывающий при засорении фильтрующего элемента. Для предохранения от попадания в насос инородных частиц при заправке масла в заливной горловине установлен заправочный сетчатый фильтр. Проверка уровня масла в бачке производится указателем, расположенным в крышке заливной горловины.
Исполнительным устройством рулевого усилителя является силовой цилиндр, выполненный вместе с картером рулевого механизма. Поршень, изготовленный вместе с рейкой рулевого механизма, имеет уплотнительные кольца и передает усилие непосредственно на зубчатый сектор вала сошки. Уплотнение силового цилиндра в зоне выхода винта рулевого механизма осуществляется также с помощью уплотнительного кольца.
Масляный радиатор алюминиевый, выполнен из оребренной трубки, установлен на кронштейнах перед радиатором системы охлаждения двигателя.
При работающем двигателе масляный насос постоянно подает масло в систему рулевого усилителя. Это масло поступает к распределителю, предназначенному для управления исполнительным механизмом - силовым цилиндром. Если рулевое колесо неподвижно, распределитель направляет масло, поступающее от масляного насоса одновременно в обе полости силового цилиндра и затем обратно в бачок.
Если водитель начинает поворачивать рулевое колесо, распределитель направляет все масло, подводимое от насоса, в одну из полостей силового цилиндра в зависимости от направления поворота. При этом противоположная полость силового цилиндра соединяется через распределитель со сливом в бачок.
В рулевом усилителе КамАЗ-4310 используется золотниковый распределитель с осевым золотником, реактивными плунжерами и центрирующими пружинами, который установлен в передней части углового редуктора и крепится к нему с помощью четырех шпилек с гайками и болтом.
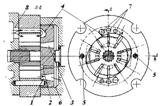
В состав распределителя входит корпус 3 (рис. 16) с передней крышкой 1; золотник 8; три пары реактивных плунжеров 2 с центрирующими пружинами 4, установленные в сквозных отверстиях корпуса; два плунжера 6 и один реактивный плунжер 16 с обратным клапаном 17, установленные в глухих отверстиях корпуса; два упорных роликовых подшипника 5 с деталями крепления, предохранительный клапан 15; масляные каналы и проточки, выполненные в корпусе распределителя.

Рис. 16. Распределитель рулевого усилителя (СЛАЙД № 23)
1 – передняя крышка; 2 – реактивный плунжер; 3 – корпус распределителя; 4, 7, 12 – пружины; 5 – упорный роликовый подшипник; 6 – плунжер глухого отверстия; 8 – золотник; 9 – тарельчатая пружина; 10 – гайка; 11 – регулировочный винт предохранительного клапана; 13 – контргайка; 14 – уплотнительное кольцо; 15 – предохранительный клапан; 16 – реактивный плунжер с обратным клапаном; 17 – обратный клапан; 18 – колпак регулировочного винта предохранительного клапана
От насоса к корпусу распределителя рулевого усилителя подведены рукава и трубки высокого и низкого давления. По первым масло направляется к механизму, а по вторым – возвращается в бачок насоса.