Теорема взаимности формируется таким образом: для любой линейной цепи с одним источником Э.Д.С. ток Ik в ветвях, вызванный Э.Д.С. Em, находящийся в m-ветви, будет равен току Im в m-ветви, вызванному Э.Д.С. Ek (численно равной Em) находящейся в k ветви.

Другими словами, сущность принципа взаимности состоит в следующем. Пусть имеется электрическая схема произвольной конфигурации с единственным источником Э.Д.С. Em, который действует в m-ветви в направлении от точки а к точке в (рис 2.4а) и создаёт в k-ветви с сопротивлением Rk ток Ik, направленный от точки с к точке d. Такой же источник Э.Д.С. Ek = Em, включенный в k-ветвь и действующий от точки c к точке d (рис 2.4б) создаёт в m-ветви с сопротивлением Rm = Rk ток Im, направленный от точки а к точке b и равный току Ik.
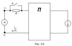
На рис. 2.4 пассивным четырёхполюсником (прямоугольником с буквой П) обозначена вся остальная часть схемы, не содержащая источников Э.Д.С. и источников тока.
Токи в ветвях m и k.
;
.
Можно отметить, что теорема взаимности справедлива не только для токов, но и для напряжений.
|
|
|
·
Для нелинейных цепей теорема взаимности невыполнима.
· Теорема взаимности справедлива лишь для тех линейных электрических цепей, которые содержат один источник Э.Д.С.
ПРИМЕР:
При замкнутом ключе К в цепи источника протекает ток, равный 5А, а ток через амперметр равен 6 мА. Е=100 В R=5 Ом. Как изменятся эти токи, если ключ разомкнуть?
РЕШЕНИЕ:
Определим входное сопротивление четырёхполюсника:
.
После размыкания ключа К ток в цепи источника будет равен:
.
Для нахождения тока
после размыкания ключа воспользуемся принципом взаимности, согласно которому источник Э.Д.С. Е и амперметр можно поменять местами. Схема приобретёт следующий вид:
Если ключ К замкнут, то
.
Если амперметр убрать из схемы, то можно определить напряжение холостого хода на зажимах 1-2 (такой приём называется методом холостого хода и короткого замыкания, которые обычно используются для определения входного сопротивления).
.
После размыкания ключа ток, протекающий через амперметр, будет равен:
.
ОТВЕТ:
.