Образование посадок в системе отверстия
Различные посадки можно получить изменением размеров соединяемых деталей. Но это не целесообразно. Поэтому изменяют предельные размеры только у одной детали, а у другой оставляют их неизменными.
В связи с этим различают систему вала и систему отверстия.
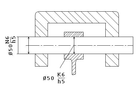
В системе отверстия посадки получаются путём изменения предельных размеров валов, а у отверстия размеры остаются неизменными. Отверстие считается основной деталью. Основное отверстие имеет предельное поле допуска EI=0. Обозначается Н.

Вал не основная деталь.
В системе вала посадки получают путём изменения предельных размеров отверстия. Вал считается основной деталью.
Основной вал имеет предельное поле допуска es=0. Обозначается h.

Посадки в системе отверстия.

Посадки в системе вала.

Система вала имеет преимущественное применение когда:
1 одна и та же поверхность вала контактирует с несколькими отверстиями с различным характером соединения.

2 В соединение с отверстием имеется стандартная деталь (подшипник)
3 Когда получают детали (валов) из сортового проката.
В остальных случаях предпочтительнее применять систему отверстия.






