Реле давления применяется для последовательного включения или выключения отдельных исполнительных органов машины и для осуществления дистанционного управления.

Рис.7.26. Реле давления Г62-2:
а - конструкция; б - условное обозначение реле давления;
1 - корпус; 2 - диафрагма; 3 - пружина; 4 - рычаг; 5 ось рычага;
6, 8 -винты; 9 - отверстие

Рис.7.27. Реле времени:
а - принципиальная схема; б - вариант схемы включения

Рис.7.28. Реле времени дроссельного типа
1, 11 - пружины; 2 - золотник; 3, 4 - подводящее и отводящее отверстия;
5, 8 - полости; 6 - канал; 7 - дроссель; 9 - сливное отверстие; 10 - шарик;
12 - колпачок; 13 - контрогайка

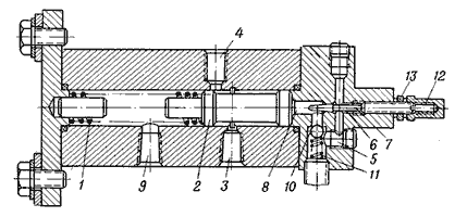
Рис.7.29. Реле времени объемного типа
1, 4 - отверстия; 2, 6, 7 - полости; 3, 5 - каналы; 8 - поршень;
9, 13 - пружины; 10 - шток; 11 - упор; 12 - золотник;
14 - сливное отверстие; 15 - винт; 16 – рукоятка






