|
|
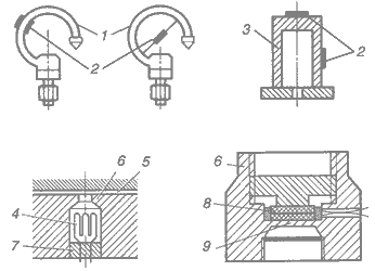
| Рис.7.30. Войлочный фильтр типа Г43: 1 - корпус; 2 - крышка; 3 - перфорированная труба; 4 - фильтрующие элементы | Рис.7.31. Магнитный фильтр типа С43-3: 1 - пробка; 2 - латунная шайба; 3 - корпус; 4 - шайба; 5 - прокладка; 6 - уплотнение; 7 - латунная труба; 8 - крышка; 9 - магниты |

Рис.7.32. Деформационные манометры:
а - мембранный; б - мембранный с двойной мембраной;
в - с консольной балкой; г - сильфонный;
1 - мембрана; 2, 4 - активный и компенсирующий тензорезистор; 3 - консольная балочка

Рис.7.32. Деформационные манометры:
а - мембранный; б - мембранный с двойной мембраной; в - с консольной балкой;
г - сильфонный; 1 - мембрана; 2, 4 - активный и компенсирующий тензорезистор;
3 - консольная балочка

Рис.7.34. Электрические манометры:
а - с трубкой Бурдона; б - тонкостенный цилиндрический датчик с наклеенными тензодатчиками; в - с манганиновой проволокой; г - пьезоэлектрический; 1 - трубка Бурдона; 2 - тензодатчики;
3 - тонкостенный стакан; 4 - манганиновый датчик; 5 - узкая щель; 6 - корпус; 7 - заливка эпоксидной смолой; 8 - пьезоэлектрический датчик; 9 - перегородка
|
|
|

Рис.7.35. Схемы расходомеров:
а - струйный; б - ультразвуковой; в - турбинный; г - тепловой; 1 - мембрана;
2 - неподвижный электрод; 3 - трубопровод; 4 - направляющая; 5 - корпус; 6 - подшипник; 7 - турбина; 8 - успокоитель; 9 - преобразователь сигнала; 10 - излучатель сигнала;
11 - дополнительный излучатель; 12 - приемник; 13 - дополнительный приемник;
14 - пластина; 15 - термопара; 16 - теплоизоляция; 17 - нагреватель






