Калориметрическая установка для определения теплоты сгорания состоит из собственно бомбы, калориметрического сосуда с мешалкой, оболочки для тепловой изоляции, контрольно-измерительной аппаратуры и вспомогательных приборов. Применяют самоуплотняющиеся и несамоуплотняющиеся бомбы.
Рис. 33. Калориметрические бомбы: а – самоуплотняющаяся; б – несамоуплотняющаяся |
Самоуплотняющаяся бомба (рис. 33, а) состоит из стакана 1, крышки 2, накидной гайки 3 с накаткой, металлического кольца 6 и уплотняющего резинового кольца 5.
Крышка с кольцами завинчивается от руки накидной гайкой, чем достигается предварительное уплотнение бомбы. При подаче в бомбу сжатого кислорода избыточное давление его приподнимает крышку вверх, сжимая резиновое кольцо. Этим достигается хорошее самоуплотнение бомбы.
Входной штуцер бомбы закрывается самоуплотняющимся клапаном 7, прижимаемым давлением кислорода в бомбе к эластичной кольцевой прокладке 8. Пружина 4 служит для предварительного уплотнения клапана. Снизу клапан заканчивается газопроводной трубкой 14, служащей одновременно одним из электродов. Второй электрод 12, ввинченный в крышку бомбы, заканчивается кольцом, в которое помещают чашечку 13 для сжигаемой навески угля.
Выходной штуцер 11 бомбы выполнен в виде игольчатого вентиля. Оба штуцера (входной и выходной) снабжены колпачками 9 и 10 с эластичными прокладками. Колпачки имеют штифты для подведения тока. Стакан бомбы стоит на ножках 15.
Несамоуплотняющаяся бомба (рис. 33, б) представляет собой цилиндрический стакан 1 емкостью около 300 мл. В нижней части стакана имеются три ножки, служащие для укрепления бомбы в специальной подставке.
Бомбу закрывают навинчивающейся на нее по резьбе крышкой 2, где сделан кольцевой желоб, куда для герметизации закладывают свинцовую прокладку 8.
Крышку завинчивают двуплечим ключом, который накладывают на выступающий прямоугольный выступ, на этот же выступ сверху ввинчивают контргайки с запорными вентилями 5 - для подачи в бомбу кислорода и вентилями 8 - для выпуска газов после испытания.
Под контргайки для герметичности укладывают набивку из баббита или фибры. На выступе крышки имеются два горизонтальных канала, закрываемые резьбовыми пробками 9. При наполнении бомбы кислородом пробку 9 вывинчивают, а вместо нее вставляют штуцер соединительной трубки для манометра. Трубка 4 служит для подачи в бомбу кислорода и одновременно является токоведущим стержнем для воспламенения запальной проволоки. Контактная проволока - второй электрически изолированный токоведущий стержень 10 из жароупорной стали, который имеет загнутый в виде кольца нижний конец, куда вставляется чашечка 11 с навеской испытуемого угля. К штифтам 6 и 7 присоединяют концы электрической схемы зажигания.
Для сохранения герметичности бомб их надо содержать в чистоте и промывать водой после каждого опыта, а обращение с вентилями, гайками и прокладками должно быть осторожным. Если замечено, что бомбы негерметичны, надо проверить и подтянуть контргайки, сменить набивку и т. д. Бомбы ежегодно опрессовывают гидравлическим давлением на 100 кг/см2, после чего тщательно промывают бензином, спиртом и эфиром.
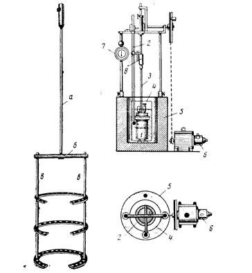
Рис. 34. Калориметрический сосуд с вертикальной мешалкой: 1 – бомба; 2 – термометр; 3 – мешалка; 4 – калориметрический сосуд; 5 – двухстенный кожух; 6 – электродвигатель; 7 – секундомер; 8 – лупа |
Калориметрический сосуд (рис. 34) представляет собой сделанный из латуни никелированный цилиндр, заполненный дистиллированной водой, в него погружают калориметрическую бомбу. Сосуд устанавливают в кожух, подкладывают под него подставку из теплоизоляционной пластмассы (эбонита, текстолита и др.) Или из стекла.
В сосуд опускают мешалку (рис. 34), состоящую из стержня а с поперечной планкой б, к концам которой прикреплены две вертикальные планки в, несущие три серповидные пластинки с отверстиями, перемешивающие при вращении воду около бомбы. Для вращения мешалки установлен электродвигатель мощностью 50 - 100 вт. Скорость вращения регулируют с помощью реостата.
Калориметрический сосуд защищен от внешних тепловых воздействий кожухом, называемым оболочкой калориметра, состоящей из двух стенок, сделанных из латуни с двойным дном. Сосуд покрыт текстолитовой или деревянной лакированной крышкой, состоящей из двух половинок и имеющей отверстия для термометра, стержня мешалки и шнура для запала навески угля. Пространство между стенками калориметрического сосуда заполняется воздухом или водой. Для предохранения воды от порчи в нее подливают несколько капель фенола. Для наблюдения за уровнем ртути в термометре имеется двухлинзовая лупа или короткофокусная зрительная труба с фокусным расстоянием 0,5 - 1,0 мм.
Рис. 35. Термометры калориметрического сосуда переменного наполнения |
Термометры применяют обычно ртутные, дающие точность замера температуры до 0,0010 С. Такую точность дают термометры так называемого переменного наполнения (рис. 35). Шкала термометра длиной около 250 мм разделена на 50 с делением каждого градуса до сотых долей. Наблюдение за шкалой ведется с помощью лупы. У верхнего конца капилляра термометра имеется в виде петли запасный резервуар. Чем выше измеряемая температура, тем больше переливается ртути из основного резервуара в запасный резервуар. Таким образом, этот термометр показывает не температуру среды, а лишь разность температур, но для калориметрических определений этого достаточно.
Для переливания ртути из основного резервуара в запасный (или обратно) термометр погружают в воду, температура которой несколько выше температуры верхнего предела, подлежащего измерению. Ртуть, поднимаясь, переливается в запасный резервуар. Вынув и порывисто встряхнув термометр, разрывают столбик ртути, благодаря чему часть ее остается в верхнем резервуаре.
Каждый термометр должен быть снабжен удостоверением института мер и измерительных приборов, в котором указаны область измеряемой температуры, средняя температура выступающего столбика ртути, значения деления, а также поправки на калибр к каждому делению.
Рис. 36. Пресс для брикетирования навесок угля |
Пресс для брикетирования навесок угля (рис. 36) имеет матрицу цилиндрической формы. В матрицу вставляется стальное донышко с отверстием в центре, в которое вставляют запальную петлю из проволоки. В матрицу засыпают навеску угля, сверху уголь прикрывают подушечкой. Уголь спрессовывается при надавливании пуансона на подушечку.
Калориметрическая чашечка для навески угля имеет высоту 14 мм, диаметр в верхней части 26 - 27 мм, у дна 19 - 20 мм. Чашечка делается из жароупорной нержавеющей стали или кварца.
Помимо описанных приборов в оборудование калориметрической установки входят:
– кислородный редуктор и манометры (иногда присоединяемые непосредственно к редуктору кислородного баллона). Один манометр контролирует давление (до 250 - 300 кг/см2) в кислородном баллоне, другой манометр показывает давление (до 70 кг/см2) в бомбе во время ее заполнения кислородом;
– соединительные трубки диаметром 1 и 1,5 мм, из красной меди или латуни, для соединения манометра с кислородным баллоном и манометра с калориметрической бомбой;
– деревянная кольцевая подставка для поддерживания крышки бомбы.
Калориметрическую установку обычно располагают в отдельной комнате, защищенной от действия солнечных лучей, с небольшими колебаниями температуры и влажности воздуха. В этой комнате не должно быть муфельных печей, плиток и других каких-либо установок, излучающих тепло.
Рис. 33. Калориметрические бомбы: а – самоуплотняющаяся; б – несамоуплотняющаяся
Рис. 34. Калориметрический сосуд с вертикальной мешалкой: 1 – бомба; 2 – термометр; 3 – мешалка; 4 – калориметрический сосуд; 5 – двухстенный кожух; 6 – электродвигатель; 7 – секундомер; 8 – лупа
Рис. 35. Термометры калориметрического сосуда переменного наполнения
Рис. 36. Пресс для брикетирования навесок угля 





