Рисунок 7.6. Характеристики насоса Д-320-70
Рисунок 7.5 Внешний вид насоса типа Д
Рисунок 7.4. Продольный разрез насоса типа Д
Рисунок 7.2. Продольный разрез насоса консольного типа
Рисунок 7.1. Внешний вид центробежного насоса типа К с напорным патрубком, обращенным вверх

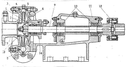
Рабочее колесо насоса состоит из двух дисков: переднего 1 и заднего 2, между которыми размещены лопасти 3. Передняя крышка 4, отвод 5 и задняя крышка 6 образуют герметичный корпус насоса, в котором вращается рабочее колесо и к которому посредством всасывающего 7 и нагнетательного 8 патрубков присоединяются соответствующие трубопроводы насосной установки. Вал 9 с жестко закрепленным на нем рабочим колесом размещается в подшипниковых опорах 10 на станине II и приводится во вращение электродвигателем, с валом которого он соединен посредством муфты 12.
При вращении рабочего колеса на жидкость, находящуюся в его каналах, действуют центробежные силы, направленные от оси вращения к периферии колеса. Кроме того, перемещаясь относительно жидкости, лопасти рабочего колеса оказывают на неё так называемое турбинное действие, вызывая перераспределение давлений и стимулируя циркуляцию в межлопастном канале. Проявляющиеся при этом силы реакции жидкости обусловлены её вязкостью. Посредством турбинного действия и центробежных сил энергия вращающегося лопастного колеса передается жидкости, в связи с чем жидкость приобретает некоторую скорость (запас кинетической энергии) при выходе из межлопастного канала и в ней повышается давление, характеризующее увеличение запаса потенциальной энергии.
Отвод 5 служит для сбора жидкости, выходящей из рабочего колеса, и представляет кольцевою камеру, постепенно переходящую в нагнетательный патрубок 8. Для того чтобы уменьшить вихреобразование и сделать постоянной скорость движения жидкости вдоль отвода, последнему придают спиральную форму. Нагнетательный патрубок обычно выполняется в виде диффузора, что позволяет постепенно, с минимальными потерями энергии, снизить скорость жидкости на выходе из насоса. В нагнетательном патрубке динамический напор (кинетическая энергия) жидкости частично преобразуется в статический напор (давление), который затем расходуется на преодоление сопротивлений внешней сети насоса.
Между выступом входного отверстия рабочего колеса и корпусом насоса установлены уплотнительные кольца 13, чтобы уменьшить перетоки жидкости из отвода через зазоры между колесом к корпусом обратно в полость всасывания. Сальниковые уплотнения 14 предотвращают утечки жидкости между корпусом и приводным валом.
Насосы этого типа рассчитаны на подачу 10 - 360 м3/ч. Создаваемые ими напоры лежат в пределах 10-100 м, частота вращения 1450- 2900 об/мин, диаметр рабочих колес 132 - 328 мм, полный КПД находится в пределах 50-84 %.
На рисунке 7.3представлена типичная для насоса типа К характеристика при n = 2900 об/мин.

Рисунок 7.3. Характеристики консольного насоса с диаметром
всасывающего патрубка 50 мм.
Для внесения большего разнообразия в рабочие параметры насосов заводы широко практикуют обрезку рабочих колес; это дает изменение параметров при сохранении конструкции и габаритов насоса. Приведенные на рисунке 7.3характеристики относятся к колесам двух различных диаметров, отмеченных на графике.
Продольный разрез насоса типа Д представлен на рисунке 7.4, а на рисунке 7.5 дан его внешний вал.


Насосы типа Д характеризуются двусторонним подводом жидкости к рабочему колесу, спиральной безлопаточной формой направляющих аппаратов и присоединением всасывающего и напорного патрубков к нижней половине корпуса при горизонтальной плоскости разъема.
Основные параметры насосов этого типа: подача 90-12500 м3/ч, напор 10 - 102 м, частота вращения 730 - 2950 мин-1, диаметр рабочих колес 265 - 900 мм полный КПДв пределах 64 - 92 %.
На рисунке 2.6 представлена типичная для насосов типа Д размерная характеристика.

Величина напора, развиваемого одним рабочим колесом, ограничивается его допустимой окружной скоростью.
Для создания высоких напоров применяют многоступенчатые насосы, в которых несколько рабочих колес соединяются последовательно и располагаются на общем валу в едином корпусе, разделенном на секции, формирующие ступени насоса.
Многоступенчатые насосы представлены тремя основными группами; секционные насосы типа С (секционные насосы с колесами одностороннего входа), насосы с колесами одностороннего входа и горизонтальным разъемом корпуса, насосы с первым колесом двустороннего входа и остальными колесами одностороннего входа и горизонтальным разъемом корпуса. Многоступенчатые насосы этих типов перекрывают подачу от 5 до 1000 м3/ч при напорах от 35 до 100 м. Специальные конструкции могут быть выполнены с основными параметрами, выходящими за указанные пределы.
В качестве примера на рисунке 7.7 дан внешний вид четырехступенчатого насоса и приведена, схема последовательного включения его колес (рисунки 7.7,а и 7.7,б).

| а) | б) |
| |
Рисунок 7.7. Внешний вид и схема соединения колес
четырехступенчатого насоса
Основными узлами многоступенчатого насоса рисунок 7.7,б являются корпус 1 и ротор, состоящий из вала 2 и рабочих колес 3. При работе насоса жидкость, поступая через всасывающий патрубок 4, последовательно проходит проточные каналы ступеней, каждая из которых включает в себя в качестве основных элементов подвод 5, рабочее колесо 3 и отвод 6. Из последней ступени жидкость через напорный патрубок поступает в соответствующий трубопровод.

Рисунок 7.8. Характеристики четырехступенчатого насосамарки ЭВ-200×4
Конденсатные насосы применяются для удаления конденсата, а также как горячие, дренажные насосы бойлерных установок. Они предназначены для перекачивания конденсата и дренажа при температуре до 393 К.
Питательные насосы применяются для подачи питательной воды в паровые котлы. В большинстве случаев это центробежные многоступенчатые насосы высокого давления, приспособленные к подаче воды с высокой температурой.
Насосы для кислых сред изготовляются из специальных нержавеющих сталей. Они перекрывают область расходов от 5 до 300 м3/ч при напорах от 7 до 500 м.
Насосы для подачи смесей жидкостей и твердых частиц. Условия работы таких насосов специфичны. Поток жидкости, содержащей твердые частицы, проходя большой скоростью через проточную часть, истирает внутренние поверхности насоса.
Поэтому к конструкциям и материалам таких насосов предъявляются особые требования.
В теплоэнергетике такие насосы употребляются для перекачки золосмесей и шлакосмесей в системах гидрозолоудаления, а также при производстве работ по очистке гидротехнических сооружений станции (каналов, колодцев)
Простейшим типом таких насосов является песковый насос марки ПН. Это одноступенчатый консольный насос, предназначенный для перекачивания смеси воды с рудой, гравием и песком с крупностью кусков от 2 до 15 мм в зависимости от размеров насоса.
Максимальная высота подъема при содержании в ней до 65 % твердых частиц крупностью 2 мм составляет до 30 м при частоте вращения до 1470 мин-1. Подача при содержании твердых частиц до 70 %. Доходит до 138 м3/ч.
Песковые насосы большей подачи с диаметром напорного патрубка до 200 мм могут подавать смеси с крупностью частиц до 25 мм и развивать подачу до 500 м3/ч. Эти насосы характеризуются боковым подводом смеси к рабочему колесу. Их заводская марка НП.
Шламовые (грязевые) насосы конструктивно сходны с песковыми, но применяются для перекачки смесей с включением более мелких фракций твердых веществ. Так, например, шламовый насос марки ШН-1 перемещает смеси с крупностью частиц всего лишь до 4 мм.
Земляные насосы (землесосы) служат для перекачки больших количеств грунтосмеси (пульпы) при весьма разнородном ее составе. Конструктивно они выполняются в виде консольных центробежных насосов с колесами, спиральными камерами и внутренними дисками, изготовленными из твердых белых чугунов.
В теории насосов применяется ряд терминов и определений, которые относятся к насосам всех типов. Рассмотрим схему работы насоса, включенного в систему, подающую воду из источника водоснабжения в напорный резервуар (рисунок 7.9). При работе насоса во всасывающей камере создается вакуум, который обеспечивает подъем воды через всасывающую трубу из водоприемного колодца в насос. Этот вакуум должен быть достаточным для подъема воды из колодца на высоту hwec (от уровня воды в колодце до центра насоса), для преодоления потерь энергии во всасывающей линии hwec, а также для создания скорости во всасывающей трубе. Вертикальное расстояние от уровня воды в колодце до центра насоса hec называется геодезической высотой всасывания; потери энергии во всасывающей линии hwec называются потерями при всасывании.
Жидкости, поступившей в насос, сообщается энергия (главным образом в виде энергии давления), которая расходуется на преодоление сопротивлений в напорном трубопроводе, по которому движется жидкость, и на подъем жидкости в резервуар.
