Рис. 4. Деталь соединения колонны с фундаментом
I - колонна; 2 - сборный железобетонный фундамент стаканного типа; 3 — заделка бетоном стыка колонны и фундаментного блока
Сечение колонн принимают обычно одинаковое по всей высоте здания.
Колонны нижних этажей выполняют с увеличением класса бетона и процента армирования.
Колонна снизу опирается на фундамент, как правило, стаканного типа. Для соединения с ригелями колонны имеют обычные скрытые консоли или могут быть бесконсольными, при котором соединение с ригелем осуществляется с помощью выпусков арматурных стержней их сварки и замоноличивания узла сопряжения.
Большинство проектов массовых общественных зданий базируется на основе каркасно-панельной системы с применением изделий, например, серии 1.020 -1 бывшего общесоюзного каталога унифицированных индустриальных изделий (табл.1).
Колонны предусматриваются бесстыковыми и стыковыми. Бесстыковые колонны имеют предельную высоту 13,75 м. Их применяют в зданиях малой и средней этажности.
|
|
|
Таблица 1
Габаритные схемы многоэтажных гражданских каркасных зданий на основе серии 1-020-1
| Шаг колонн в направлении пролета ригеля, мм | Высота этажей, мм | |
| Зиб | Колонны 400 х 400мм 2,8; 3,3; 3,6; 4,2; 4,8; 6; | 7,2 |
| 4,5 и 7,2 | 2,8; 3,3; 3,6; 4,2 | |
| 3,6; 4,2; 4,8; 6; 7,2 | ||
| 3, 4,5 и 6 | Колонны 300 X 300мм 2,8; 3,3; 3,6; 4,2 | |
| 7,2 | 2,8; 3,3; 3,6; 4,2 |
В унифицированном каркасе стандартные сечения колонны при няты 300 Ч 300 мм для зданий высотой до 5 этажей, включительно 400 Ч 400 мм для всех остальных случаев (табл. 2).
Колонны применяются в зданиях с высотой этажа 3,0; 3,3; 3,6; 4,2 4,8; 6,0 и 7,2 м при шаге колонн в плоскости рам каркаса 3,0;.4,5; 6,1 и 7,2 м (табл. 3, 4).
Стык колонн выполняется с помощью стальных оголовников или стыкованием бетонных торцов. В унифицированном каркасе приняты бетонные стыки с ванной сваркой арматуры. Стыки колонн располагают на 60-80 см выше уровня перекрытия, чтобы обеспечить доступ к месту стыкования (рис. 5, 6).
Соединения колонн с ригелями показаны на рис. 8.
В одноэтажных колоннах стык с ригелями выполняют с помощью стальных оголовников (платформенный стык). Стык ригелей на открытых консолях затрудняет монтаж и работу каркаса. Открытая консоль увеличивает расход бетона, уменьшает габариты помещения, ухудшает интерьер. Этих недостатков можно избежать при использовании стыка со скрытой консолью. Во всех видах стыков соединение колонн и ригелей осуществляют сваркой закладных деталей или выпусков арматуры с последующим их замоноличиванием или заделкой цементным раствором.
Несущие конструкции зданий с безбалочными перекрытиями представляют собой железобетонный каркас, решенный по рамной схеме жесткими элементами. Элементами каркаса являются колонна, капитель и плоские плиты (плиты перекрытия и капители.
|
|
|
Таблица 2
Типы и номенклатура колонн сечением 300х300 мм для зданий высотой до пяти этажей

Колонны зданий с безбалочными перекрытиями могут изготавливаться высотой на один-, два- и три этажа из бетона класса В15...В45 (табл. 4). Колонны армируются пространственными каркасами.
Стыки колонн располагаются на высоте 1 м от поверхности перекрытий и выполняются жесткими. Выпуски продольной арматуры колонн соединяются в стык с помощью ванной сварки и последующим замоноличиванием стыка (см. рис. 5-7). Железобетонные конструкции каркасных зданий в целом могут сопротивляться интенсивным сейсмическим воздействиям.
Железобетонные каркасы многоэтажных зданий, помимо требований по их унификации, технологичности и простоте устройства стыковых соединений, облегчению несущих ограждающих конструкций, должны быть способными к пластическому деформированию, поглощению энергии колебаний при сейсмических воздействиях и снижению инерционных
Таблица 3
Номенклатура колонн

Таблица 4
Номенклатура колонн серии 1.420.1-14

сейсмических нагрузок в зданиях. С этой целью на стадии проектирования целесообразно предусматривать специальные зоны образования пластических деформаций. Продольное армирование колонн принимается в пределах от 1% до 6°/о, а ригелей - от 1,5 до 3%. Поперечное армирование элементов каркасов осуществляется в виде замкнутых сваркой хомутов (рис. 9), объемных спиральных каркасов и т.п., узлов соединений ригелей с колоннами (рис. 10).

Рис.5. Варианты стыков колонн.

Элементы каркаса могут быть связаны между собой сваркой выпусков арматуры и замоноличиванием стыка бетоном или раствором с передачей усилий через железобетон.

Рис.6. Стык колонн с применением муфт.


Рис.7. Стык колонн с ванной сваркой арматуры


Рис.8. Узлы соединения колонн и ригелей.


Рис.9. Армирование узла сетками.


Рис.10. Армирование узла колонн и ригелей.
1 – ригель; 2 – колонна.
Ригели - горизонтальные элементы остова здания, воспринимающие вертикальные нагрузки, передаваемые преимущественно плитами перекрытий, распорками и передающие эти нагрузки на колонны. Кроме того, ригели участвуют в работе диска перекрытия по восприятию растягивающих и сжимающих усилий, возникающих в диске при его изгибе в своей плоскости.
Ригели различают: по местоположению - рядовые, фасадные, торцевые, коридорные, лестничные и т.д.; по несущей способности - в кН/м ригеля; по перекрываемому пролету - однопролетные, двухпро-летные, консольные и т.д.; по виду поперечного сечения - прямоугольные, тавровые с полкой понизу, с одно- или двусторонним опи-ранием настилов; по типу стыка с колонной - с подрезкой на опоре, с выпусками продольной арматуры; по классу бетона; по способу армирования; по способу производства - на предварительно напряженные с механическим натяжением арматуры, с электротермическим способом натяжения арматуры и т.д.
Ригели каркаса, как правило, имеют Т-образную форму с полкой понизу для опирания на нее настилов перекрытий. Такая конструкция ригеля позволяет уменьшить на толщину перекрытия размер выступающей в интерьер части ригеля. В опертой части ригели имеют подрезки, соответствующие размеру консоли колонн, в результате чего сопряжение ригеля с колонной осуществляется без выступающих в интерьер консолей или их частей. Ригели, как правило, имеют ширину понизу, равную ширине колонн.
Ригели изготавливают из бетона классов В25, ВЗО и В40 и армируют пространственными каркасами, в которые входят плоские каркасы, сетки и закладные детали, соединяемые с помощью дуговой или контактной сварки.
|
|
|
Ригели выполняют с подрезкой на опоре. Высота ригелей при легком каркасе принимается 300 мм при пролетах до 9 м включительно и 600 мм - при пролетах 12 м, а при тяжелом каркасе высота ригеля на опоре принимается не менее 600 мм.
Ригели монтируют к консолям колонн с приваркой их закладным деталям, что обеспечивает защемление концов ригелей и передачу растягивающих усилий, возникающих в диске перекрытий. Ригели легкого каркаса предназначены для связевых каркасов; ригели тяжелого каркаса - для использования, как в связевых, так и в рамных каркасах. Типы ригелей приведены на рис. 11.
Ригели легкого каркаса могут быть:
а) коридорными, высотой 300 мм, с пролетами 1,8... 3,6 м;
б) рядовыми, высотой 450 мм, с пролетами 1,8...6,6м и градацией 600 мм; высотой 600 мм, с пролетами 7,2 и 9 м; высотой 900 мм, с пролетами 12 м; в) лестничными (с одной полкой), высотой 450 мм, с пролетами 6 и 6,6 м;
г) фасадными, высотой 480 мм, с пролетами 1,8... 7,2 и 9 м.
Ригели тяжелого каркаса подразделяются на:
а) коридорные, высотой 600 мм, с пролетами 1,8; 2,4; 3 и 6 м;
б) рядовые, высотой 900 мм, с пролетами 6; 9 и 12 м;
в) фасадные, высотой 920 мм, с пролетами 3, 6 и 9м.
На фасадные ригели опирают панели наружных ограждений. Изготавливают ригели из бетона класса ВЗО и В40, а при высоте ригеля 300 мм - из бетона класса В25. Типы сборных ригелей приведены в табл. 5.

Рис.11. Железобетонные ригели.

Стык ригеля с колонной осуществляется приваркой его к консоли колонны в двух уровнях (частичное защемление); или в одном, нижнем, уровне (шарнирное опирание) (рис.12).
Опорный момент при частичном защемлении регулируется пределом текучести монтажных деталей ("рыбок"), воспринимающих верхнюю горизонтальную составляющую опорного момента. Частичное защемление ригеля обеспечивает устойчивость рам при монтаже, а также возможность организации каркаса в два этажа без диафрагм жесткости в направлении ригелей (верхние этажи здания).
Таблица 5.
Номенклатура ригелей по серии КМС-К1

Ригели каркаса с тавровым сечением высотой 450 и 600 мм с полками снизу и предназначены для рам пролетом 3,0; 6,0 и 7,2 м. Ригели имеют арматурные выпуски для жесткого соединения с уголковыми выпусками колонн (рис. 13).
|
|
|
Ригели высотой 450 мм применяются с колоннами каркаса для высоты этажей 3,0 и 3,3 м и предназначены для опирания многопустотных плит перекрытия; высотой 600 мм - для высот этажей в 3,6; 4,2; 4,8 и 6,0 м, предназначены для опирания многопустотных и ребристых плит.
Для устройства балконов предусмотрены консольные ригели с вылетом 1,2 и 1,8 м от грани колонны при высоте ригеля 450 и 490 мм.

Рис.12. Стык ригеля (а – рядового, б – коридорного) с колонной.

Для опирания лестничных маршей предусмотрены балки типа БЛ. Они имеют закладные детали для крепления с лестничными маршами.
Верхняя зона ригелей предусмотрена с обнаженными выступающими замкнутыми хомутами по всей длине (для пролета 3,0 м) или только на опорных участках, в которые в последующем устанавливается продольная арматура.
Верхнюю опорную арматуру закрепляют после монтажа ригеля сваркой с выпусками колонн и замоноличивают.
Для замоноличивания арматурных выпусков из панелей перекрытия и образования единого жесткого диска перекрытий ригеля должны иметь высоту сечения ниже верха перекрытия. Верхнюю зону ригелей замоноличивают после укладки панелей перекрытия.

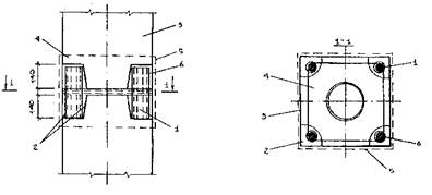
Рис.13. Узлы соединения ригеля и колонны.
1 – ригель; 2 – колонна; 3 – стальная консоль; 4 ванная сварка; 5 – арматура ригеля; 6 – дополнительное армирование.
Продольное армирование ригелей рекомендуется принимать от 1,5 до 3%. Особое внимание уделяется поперечному армированию элементов каркаса (см. рис. 13).






