Тема № 4. АВТОМАТИЧЕСКОЕ УПРАВЛЕНИЕ ТРАНСМИССИЕЙ
Содержание
Лекция №7
План
Тема № 4. АВТОМАТИЧЕСКОЕ УПРАВЛЕНИЕ ТРАНСМИССИЕЙ
4.1. Системы управления сцеплением и коробкой передач
4.2. Датчики и исполнительные механизмы
Одна из наиболее актуальных проблем современного автомобилестроения — упрощение и облегчение управления автомобилем не может быть решена без автоматизации управления трансмиссией. Как показывает опыт создания автоматических трансмиссий, их совершенствование идет по двум направлениям:
1. Автоматизация управления механическими трансмиссиями, состоящими из ступенчатой коробки передач и фрикционного сцепления (т.е. такими трансмиссиями, которыми оборудуется подавляющее большинство выпускаемых автомобилей);
2. Оснащение автомобилей автоматическими специализированными трансмиссиями, которые обеспечивают высокую комфортабельность, наиболее удобное, простое и легкое управление автомобилем.
По уровню автоматизации управления, трансмиссии могут быть разделены на:
|
|
|
1. Полуавтоматические, которые автоматизируют управление не целиком всей трансмиссией, а только отдельными ее узлами (например, сцеплением);
2. Автоматические, которые управляется без участия водителя.
Чем выше уровень автоматизации, тем более сложные задачи должна решать система управления, что, естественно, связано с ее усложнением и удорожанием. Поэтому автоматические трансмиссии применяются преимущественно в автомобилях более высоких классов, хотя есть и конструкции, предлагаемые для установки на автомобилях малого класса. При этом основное применение в качестве автоматических трансмиссий в настоящее время получили гидромеханические передачи. Повысился интерес к полуавтоматическим и автоматическим механическим трансмиссиям.
Благодаря достижениям микроэлектроники решение проблемы автоматического управления обычными фрикционными сцеплениями обрело реальную базу, потому что именно электроника способна сформировать все необходимые режимы работы фрикционного сцепления:
- принудительное выключение на период переключения передач и при снижении частоты вращения коленчатого вала до уровня, соответствующего режиму холостого хода двигателя;
- принудительную блокировку, гарантирующую его работу без пробуксовки, после того как в процессе разгона автомобиля отпадает надобность в получении разности частот вращения коленчатого вала двигателя и ведущего вала коробки передач;
- регулирование момента трения по заданным законам во время разгона автомобиля с целью наименьшего буксования при одновременном сохранении высоких тягово-скоростных качеств автомобиля.
|
|
|
Первые два режима реализуются достаточно простыми средствами, поскольку для них необходимо только выработать команды либо полного включения, либо полного выключения сцепления. Последний режим, особенно с учетом того, что регулирование момента трения должно выполняться по законам, предусматривающим оптимальную работу сцепления при самых разнообразных условиях движения автомобиля, осуществить гораздо труднее
Функцию же управления отпусканием педали сцепления берет на себя электроника, реагирующая на положение педали подачи топлива или на частоту вращения коленчатого вала, либо на то и другое одновременно.
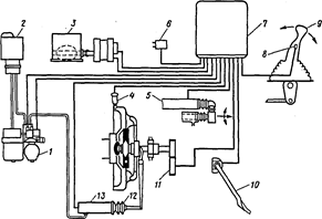
Системой, реагирующей на положение педали подачи топлива, является, например "Drive-Matic" (рис. 4.1) фирмы "Petri und Ler", выпускаемая в Германии в качестве оборудования автомобилей, предназначенных для инвалидов.

Рис. 4.1. Система автоматического управления сцеплением "Drive-Matic":
1 - вакуумная сервокамера; 2 — полость разрежения; 3 — диафрагма; 4 — шток вакуумной камеры; 5 - рычаг; 6 — тяга; 7 — педаль сцепления; 8 — педаль подачи топлива; 9 — трос; 10 — рукоятка переключения передач; 11 — рычаг рукоятки переключения передач; 12 — датчик; 13 — ЭБУ; 14 — потенциометр; 15 — стравливающее отверстие; 16, 26 — обмотки электромагнитов; 17, 21 — каналы сервокамеры; 18 — корпус золотника; 19 — золотник; 20 — поворотный элемент; 22, 23 — каналы золотника; 24— воздушный клапан; 25— вакуумный клапан; 27 —вакуум-ресивер; 28 - клапан; 29 — коллектор; 30 — трубопровод
Исполнительное устройство этой системы представляет собой вакуумную сервокамеру 1, между корпусом которой и диафрагмой 3 располагается полость 2 регулируемого режима.
При установке рычага 11 переключения передач в нейтральное положение и отпущенной педали подачи топлива 8 расположенные в его рукоятке и под рычагом электроконтакты ВС и ВП разомкнуты. Поэтому обмотки электромагнитов 16 и 26 оказываются отключенными от источника электропитания. Вакуумный клапан 25 при этом закрыт, и полость 2 сервокамеры соединена не с вакуум-ресивером 27, а с атмосферой (через открытый воздушный клапан 24). Сцепление находится во включенном состоянии. Как только водитель при неподвижном автомобиле включает какую-либо передачу, на обмотки электромагнитов 16 и 26 через замкнувшиеся контакты выключателя ВП и замкнутую выходную цепь электронного блока управления (ЭБУ) 13 подается электропитание. В результате электромагниты срабатывают и воздушный клапан 24 отсоединяет полость 2 сервокамеры от атмосферы, а клапан 25 подключает ее к вакуум-ресиверу 27. Сцепление выключается (позиция II).
Чтобы автомобиль начал движение, водитель нажимает педаль 8 подачи топлива. При этом контакты микровыключателя МВх размыкаются, и цепь питания обмотки электромагнита 26 размыкается. Поэтому клапан 25 закрывается, отсекая полость 2 сервокамеры от ресивера. Но поскольку обмотка электромагнита 16 остается под напряжением, воздушный клапан 24 оказывается также закрытым, и разрежение в полости 2 вакуумной камеры определяется только положением золотника 19. Дело в том, что корпус 18 золотника установлен по отношению к его поворотному элементу 20 таким образом, что при отпущенной педали 8 подачи топлива и расположении штока 4 вакуумной камеры в крайнем левом (по схеме) положении (полностью выключенное сцепление) каналы 22 и 23 золотника соединены между собой. Одновременно и полость 2 сервокамеры через каналы 17 и 21 соединяется с атмосферой, что приводит к постепенному уменьшению в ней разрежения и, как следствие, к перемещению штока 4 слева направо.
Движение штока будет продолжаться до тех пор, пока элемент 20, поворачиваемый этим штоком, не разобщит каналы 22 и 23. Как только это произойдет, шток 4 прекратит движение, поскольку связь полости 2 сервокамеры с атмосферой прерывается.
|
|
|
При дальнейшем перемещении педали 8 подачи топлива трос 9 поворачивает элемент 20, соединяя каналы 22 и 23. Это повлечет за собой соединение полости 2 сервокамеры с атмосферой и дальнейшее перемещение штока в направлении включения сцепления. Перемещение прекратится, когда шток 4 опять установится в положение, соответствующее разобщению каналов 22 и 23. Очевидно, что чем на больший угол была открыта дроссельная заслонка, тем дальше в направлении включения сцепления должен перемещаться шток 4 — до положения, при котором произойдет разобщение каналов 22 и 23. Угол открытия дроссельной заслонки изменяется от минимального в позиции III на рис.6.1 до максимального при полностью открытом дросселе в позиции I.
После того как автомобиль разгонится до скорости срабатывания датчика 12, сигнал от этого датчика поступает на электронный блок 13. Последний отключает от "массы" свою клемму К, разрывая тем самым цепь питания обмотки электромагнита 16. В результате воздушный клапан 24 открывается, полость 2 сервокамеры соединяется с атмосферой независимо от того, в каком положении находятся элементы золотника. Сцепление блокируется. Чтобы оно при этом включалось плавно, диаметр стравливающего отверстия 15 выбран так, что скорость поступления воздуха через него не зависит от скорости открытия воздушного клапана. Принудительная блокировка сцепления после разгона автомобиля до заданной скорости, устанавливаемая при помощи потенциометра 14, предотвращает повышенное изнашивание выжимного подшипника сцепления при движении автомобиля с малыми углами открытия дросселя.
Принудительное выключение сцепления в процессе переключения передач при всех частотах вращения коленчатого вала двигателя и скорости движения автомобиля обеспечивается замыканием контактов выключателя ВС, встроенного в рукоятку 10 переключателя передач. В этом случае включается электромагнит 26, благодаря чему полость 2 сервокамеры через открывшийся вакуумный клапан соединяется с вакуум-ресивером. Сцепление полностью выключается.
|
|
|
Как видим, система "Drive-Matic" обеспечивает плавное увеличение крутящего момента, передаваемого сцеплением, только по мере увеличения угла открывания дроссельной заслонки. Если водитель уменьшает угол, то этот момент не уменьшается. Чтобы не произошло остановки двигателя или "рывков" автомобиля, водитель должен сначала полностью отпустить педаль подачи топлива (замкнуть контакты микровыключателя МВх и соединить тем самым полость 2 сервокамеры с ресивером), а затем перевести эту педаль в требуемое условиями движения положение.
Данная особенность с точки зрения уменьшения опасности работы сцепления с длительной пробуксовкой — явление положительное. Однако она усложняет маневрирование на автомобиле при низких скоростях движения, а также ухудшает возможности трогания автомобиля с места на больших подъемах.
Система "Drive-Matic" не единственная из реализующих первый закон регулирования и нашедших коммерческое применение. Еще одним примером подобных систем может служить сервофрикцион S фирмы "Guidosimplex" (Италия). У нее практически такие же показатели, что и у системы "Drive-Matic". Отличается она лишь конструкцией клапанного устройства, которое регулирует разрежение в рабочей полости вакуумной сервокамеры: здесь четыре клапана, два из них имеют электромагнитный привод.
Автоматическое сцепление английской фирмы "Automotive Products" (АР) позволяет использовать только две педали управления автомобилем с механической коробкой передач. Эта конструкция основана на старой концепции, возрожденной с помощью электроники. Идея простая: сцепление отключается, как только водитель берется за рычаг переключения передач, и включается снова, когда осуществлен переход на очередную ступень.
В предложенной фирмой АР системе сцепления (рис. 4.2) имеется гидравлический привод высокого давления, который связан с управлением дроссельной заслонкой во время переключения передач с помощью шагового электродвигателя. В результате частота вращения коленчатого вала может быть оптимизирована для каждого переключения ступеней, что устраняет участие в этом человека и риск возможного перегрева механизма, рывков и потери скорости автомобиля. Микропроцессор получает информацию от выключателей 7, связанных с рычагом переключения передач, и приводит в действие гидропривод сцепления.

Рис. 4.2. Электрогидравлическая схема автоматического сцепления:
1 — двигатель; 2 — механическая коробка передач; 3 — датчик хода штока рабочего цилиндра; 4 — рабочий цилиндр; 5 — гидравлический блок питания; 6 — рычаг переключения передач; 7 — выключатели; 8 — выводы к датчикам частоты вращения коленчатого вала и включенной передаче; 9 —ЭБУ; 10 — датчик положения педали подачи топлива; 11 — педаль подачи топлива; 12 — электродвигатель регулятора положения дроссельной заслонки.
Крутящий момент, передаваемый сцеплением, определяет специальное нагрузочное устройство, которое выдает сигнал, только когда передача включается, или выключается, а не во время перемещения рычага 6 по направлению к той ступени, которая уже включена. Это предотвращает неожиданное выключение сцепления, когда рука водителя лежит на рычаге в ожидании следующего переключения. Выключатель реагирует только на перемещение рычага вперед и назад и не воспринимает легкие толчки.
Информация о частоте вращения коленчатого вала и включенной ступени вводится в электронный модуль. Датчик включенной ступени также позволяет предотвратить трогание автомобиля с места на любой передаче, кроме 1-й или 2-й. Другие датчики выдают информацию о положении педали подачи топлива 11 и ходе штока рабочего цилиндра 4 привода сцепления (датчики 10 и 3 соответственно).
Рабочий цилиндр 4 приводится в действие гидравлическим блоком питания 5, состоящим из электронасоса и запасного бачка для жидкости под давление 0,4 МПа. В этом случае отпадает необходимость в главном цилиндре.
Системы автоматического управления сцеплением, реагирующие на частоту вращения коленчатого вала, формируются по иным принципам (в том числе системы с коррекцией положения педали подачи топлива и разности частот вращения ведущего и ведомого элементов сцепления). Для них характерно минимальное число клапанов или других управляющих механических, гидравлических или электромагнитных устройств. Но формирование законов автоматического регулирования момента, передаваемого сцеплением, а также принудительного включения и выключения последнего осуществляется электронным блоком, по этой причине достаточно сложным.
Пример — электронно-гидравлическая система ACTS (рис. 4.3), разработанная фирмой "Automotive Products" (Великобритания). В качестве источника энергии для действия привода сцепления используется гидравлический блок 1, в состав которого входят резервуар 2 гидросистемы, гидронасос с электродвигателем, гидроаккумулятор, электромагнитный клапан регулирования давления жидкости, в исполнительном гидроцилиндре 13 привода рычага 12 сцепления. В этом гидроцилиндре находится датчик 11 положения его штока, который выполняет функции элемента обратной связи (по положению органа привода сцепления).

Рис. 4.3. Система автоматического управления сцеплением ACTS.
1 – гидравлический блок; 2 – резервуар гидросистемы; 3 – электродвигатель постоянного тока; 4 – датчик частоты вращения коленчатого вала двигателя; 5 – датчик контроля включения передач; 6 – датчик положения дроссельной заслонки; 7 – электронный блок; 8 – выключатель; 9 – рукоятка переключения передач; 10 – датчик положения педали подачи топлива; 11 – датчик частоты вращения ведущего вала коробки передач; 12 – рычаг сцепления; 13 – гидроцилиндр
Управление электромагнитным клапаном регулирования давления обеспечивается по командам, поступающим к нему от электронного (микропроцессорного) блока автоматики 7. Этот блок, в свою очередь, работает как по сигналам датчика положения штока гидроцилиндра 13, так и от датчиков 4, 11. 10, 5 (соответственно частот вращения коленчатого вала двигателя и ведущего вала коробки передач, положения педали подачи топлива, контроля включения передач) и выключателя 8, расположенного в рукоятке 9 рычага переключения передач.
В системе ACTS вместо механического привода дроссельной заслонки карбюратора применен привод электромеханический, содержащий электродвигатель 3 постоянного тока. Управляет этим электродвигателем электронный блок 7, обратную связь обеспечивает электрический датчик 6 положения дроссельной заслонки.
Такой привод дроссельной заслонки в сочетании с датчиком частоты вращения коленчатого вала двигателя и ведущего вала коробки передач придал новое качество системе управления автомобилем: водитель получил возможность переключать передачи без изменения положения педали подачи топлива. Это означает, что процесс переключения передач сводится только к переводу рычага в желаемое положение.
Однако и эта, и ей подобные системы тоже заметно удорожают и усложняют автомобиль. Поэтому их, по всей видимости, будут устанавливать лишь на дорогие модификации автомобилей малого класса и автомобили среднего класса. Тем более что сейчас уже есть системы автоматического управления сцеплением, не требующие оборудования автомобиля дополнительным источником энергии и способные работать в комплексе с бензиновыми и дизельными двигателями (в том числе турбонаддувными). Это системы с электромеханическим приводом сцепления.
Типичный пример — система EKS, разработанная фирмой «Sax» (Германия), для установки на грузовых автомобилях «Mersedes-Benz».
Ее особенность состоит в том, что в составе исполнительного устройства применен реверсивный приводной электродвигатель постоянного тока в сочетании с мощной компенсирующей пружиной, действие которой направлено на выключение сцепления.
Система EKS относится к числу многопараметрических систем автоматического управления. Формируемые ею законы регулирования крутящего момента, передаваемого сцеплением, вырабатываются на основе сигналов датчиков частоты вращения коленчатого вала двигателя и ведущего вала коробки передач, скорости автомобиля, положения педали подачи топлива, а также положения выключателя в рычаге переключения передач и датчика в самой коробке передач, сигнализирующего об их включении.