ЦНД.
Большие габаритные размеры делают литую конструкцию ЦНД нерациональной, так как масса его была бы слишком большой. Поэтому корпус ЦНД конденсационной турбины выполняют сварным из тонкой листовой стали. Для придания ему жесткости, устанавливается большое количество ребер и подкосов.
Корпус ЦНД также выполняют двух типов: одностенными и двухстенными.
Одностенный корпус называют еще корпус с внешней обоймой. Он состоит из сварной (реже литой) средней части-обоймы, в расточках которой укрепляются диафрагмы. К обойме с обеих сторон технологическими разъемами присоединяются два выходных патрубка, в которые вварены нижние половины корпусов подшипников.

Недостаток данной конструкции в том, что в ней обойма и выходные патрубки представляют собой единое целое, поэтому деформация каждой из частей сказывается на деформации остальных. (Температура обоймы 200-240 0С, а патрубков 20-30 0С).
Поэтому во всех современных ЦНД используют двухстенный корпус (или корпус с внутренней обоймой). Внутренняя обойма свободно устанавливается во внешнем корпусе, и их деформации не передаются друг другу.
|
|
|
Фиксация внутреннего корпуса относительно внешнего осуществляется с помощью шпонок (две вертикальные, четыре продольные), которые не препятствуют температурным расширениям.
Крепление диафрагм. (Обоймы).
Диафрагмы устанавливают либо непосредственно в корпус турбины, либо в обоймы, объединяющие обычно несколько диафрагм. А обоймы уже устанавливают в кольцевые расточки корпуса.

Такая конструкция имеет ряд преимуществ:
1. Большое кольцевое пространство между гребнями соседних обойм создает удобные камеры для организации отборов пара на регенерацию.
2. Упрощается сборка и монтаж турбин.
3. Повышается маневренность турбин, так как обоймы оказывают экранирующее действие по отношению к корпусу при быстрых изменениях температуры в проточной части.
Недостатки:
1. Корпус приобретает большой диаметр, а так как сила пропорциональна площади (диаметру), то необходимо увеличивать размеры фланцев и крепежа.
2. Цилиндр с обоймами имеет большую массу и габариты, более трудоемок в изготовлении.
Материалы деталей статора.
Выбор материала зависит от условий работы. Внутренний корпус двухстенных ЦВД турбин ТЭС и АЭС изготавливают обычно из легированных жаропрочных сталей (15•1М1ФЛ÷0,15% С;1% хром; 1% молибден; ванадий и бериллий).
Основным требованием к корпусам ЦВД ТЭС является жаропрочность, а к корпусам турбин насыщенного пара АЭС – высокая эрозионная стойкость. Поэтому части корпуса, в которых возможна щелевая эрозия, снабжаются специальными наплавками или накладками из хромистой стали.
|
|
|
Для внешних корпусов ЦВД используются менее дорогие стали. Например:20•МФЛ; 20•МЛ.
Холодные части литых корпусов (вых. ЦСД ТЭС) могут быть изготовлены из углеродистой стали. Например:25Л.
Корпуса ЦНД турбин всех типов изготавливают из листов углеродистой стали.
Обоймы изготовляются из того же металла, что и корпус.
Шпильки и болты, являются самыми напряженными элементами корпусов ЦВД и ЦСД, должны обладать высоким пределом текучести, релаксационной стойкостью. Их изготавливают: для
t ≥500 0C – сталь 25•2МФ (ЭИ – 10); для t ≤ 400 0C - 35•М; для t ≤ 300 0С – углеродистая сталь 35.
Диафрагмы ЦВД и ЦСД турбин ТЭС – из легированных сталей 15•1М1Ф; 12•МФ; 20•М. Диафрагмы, работающие до температуры 350 0С могут быть изготовлены из углеродистой стали (сварные диафрагмы ЦНД); а при t< 250 0C используются серые чугуны С421–40 и С418-36, при t≥250 0С - высокопрочный чугун В445-5.
Сопловые лопатки и бандажные ленты сварных диафрагм изготавливают из нержавеющих хромистых сталей.
Уплотнения.
В ПТ используют 4 вида уплотнений:
- концевые;
- промежуточные;
- диафрагменные;
- рабочей решетки.
Концевые – для уплотнения валов, выходящих из цилиндров.
Промежуточные – разделяют отсеки проточной части с разными направлениями потоков пара (двухкорпусный противоточный цилиндр).
Диафрагменное – препятствует протечке пара между диафрагмой и валом.
Уплотнение рабочей решетки: надбондажное, корневое.
Утечка пара
, где Z- число гребешков уплотнения.
Требования к уплотнениям:
- должны обеспечивать min утечки пара;
- легкость ремонта и замены в условиях электрической станции;
- виброустойчивость (не должно возникать аэродинамических сил, возбуждающих колебания ротора).
Конструкции.
. Концевое уплотнение ЦВД мощной турбины


Лента для гребешков изготовляется из жаропрочной нержавеющей стали толщиной 0,4 мм. На токарном станке ленту завальцовывают проволокой из нержавеющей стали 12•13 в вал.
Концевые уплотнения ЦНД.

В камеру 1 подается пар с Р > Ратм., а из камеры 2 пар отсасывается в холодильник эжектора.
Втулка уплотнения насаживается на вал с натягом и осуществляет как бы сопловое демпфирование, не давая разогреваться валу при задеваниях, может легко заменяться при ремонтах.
При задеваниях сегменты могут утапливаться в расточках обойм, сжимая пружины, поэтому зазоры можно устанавливать минимальными.
Аналогичные уплотнения используются для диафрагм.
Расчет на прочность корпуса.
Точный расчет выполнить очень сложно, в связи с большим разнообразием геометрических форм корпуса, наличием ребер жесткости, фланцев, обойм диафрагм; значительной неравномерностью давлений и температур пара по длине корпуса. Наиболее сложным является расчет ЦВД.
Поэтому на начальной стадии проектирования пользуются приближенными методами определения напряжений в корпусе, представляя его ассиметричной оболочкой (цилиндром) без разъемов, фланцев и патрубков.
Расчет выполняют на режим, при котором давление пара в корпусе будет максимальное. Этот режим соответствует максимальному расходу пара – Gmax.. Давление пара, соответствующее Gmax, можно определить по формуле Флюгеля:

где G0, Р0, Рко – расчетные расход и давления.
Очень приближенно напряжения (тангенциальные) в корпусе можно посчитать по формуле для тонкостенных цилиндрических сосудов:
,
где dвн – внутренний диаметр корпуса (цилиндр),
δст- толщина стенки,
Рmax – внутренние избыточное давление.
Толщина стенки корпуса выбирается обычно по конструктивно-технологическим соображениям, а напряжения в корпусе проверяется после его изготовления методом тензометрирования.
Приближенно рассчитать толщину корпуса можно приняв, что напряжения в корпусе должны быть равны допустимым [σ]доп для данного материала, тогда толщина
|
|
|
,
Для толстостенных корпусов, dH/dвн>1,3 данная формула дает уменьшенную толщину стенки.
Максимальные напряжения возникают на внутренней поверхности корпуса, которые по теории прочности для толстостенного цилиндра закрытого с торцов:

где
, rн – радиус наружный; rвн – радиус внутренний.
Регулирование паровых турбин
1. Основная задача регулирования
Электростанции (ТЭС, АЭС) работают в энергосистемах параллельно, а т. к. электроэнергия в системе не аккумулируется, то ее производство в любой момент времени должно соответствовать потреблению. Критерием этого соответствия является постоянство частоты сети. Качество электрического тока определяется напряжением и частотой в сети. Регулирование напряжения является задачей электрических служб.
Номинальное значение частоты сети в РФ (а также в европейских странах) равно 50 Гц и должно поддерживаться с высокой точностью.
Частота переменного электрического тока определяется частотой вращения якоря генератора
F=k n, [c-1],
где k- число пар полюсов генератора, n- число оборотов якоря в секунду.
Поэтому основная задача системы регулирования паровой турбины – поддержание частоты вращения валопровода на постоянном уровне не зависимо от изменения нагрузки.
2. Моментные характеристики ТУ
К ротору ПТ в установившемся режиме приложены три силы:
1) движущая сила, развив=аемая паром на рабочих лопатках;
2) силы полезного сопротивления, обусловленные сопротивлением магнитного поля и обеспечивающие выработку электроэнергии;
3) силы сопротивления вращению от трения (в подшипниках), на привод маслонасосов (на валу ПТ).
В установившемся режиме взаимодействие этих сил можно представить в виде равновесия вращающих моментов турбины и генератора
Мт=Мг.
Возможно нарушение этого равновесия как со стороны потребителя электроэнергии Мг, так и со стороны производителя Мт. При этом возникает ускорение ротора турбогенератора

где J- момент инерции валопровода, w- угловая частота вращения,
- угловое ускорение
При Мт>Мг Þ
>0 и частота вращения возрастает.
|
|
|
При Мт<Мг Þ
<0 – частота вращения уменьшается.
Следовательно, допуская некоторое небольшое отклонение частоты вращения от заданного значения, можно использовать его в качестве командного импульса для автоматического управления ПТ. Для повышения быстродействия регулирования могут быть использованы дополнительные импульсы по угловому ускорению
или по нагрузке (возмущению).
Графически моментные характеристики можно представить следующим образом:
- момент турбины можно выразить как
,
причем Н0 считаем постоянным, hое зависит от режима, а значит от G. Тогда Мт=Мт(G, w).
На графике эта зависимость представляется семейством гипербол, построенных для множества значений G.
Момент генератора Мг=Мг(w) зависит только от условий частоты.
Пусть при нарушении равновесия (падение нагрузки) моментная характеристика генератора сместилась – Мг2.
Система Т–Г самостоятельно придет в новую равновесную точку– b под действием саморегулирования системы. Но при этом будет нарушено качество электрического тока (nb>na), и кроме того, повышение частоты вращения может привести к аварии. Поэтому при каждом смещении характеристики Мг необходимо смещать характеристику Мт, т. е. Изменять G
.
Характеристика Мт2 должна быть смещена в точку d (nd=na), но может остановиться в точке с, частота nc в которой отличается от na на заранее обусловленную небольшую величину неравномерности.
Линия a-c, характеризующая незначительное отклонение частоты от начальной, называется статической характеристикой регулирования.
Таким образом, задачей системы регулирования ПТ является такое автоматическое воздействие на пропуск пара, при котором равновесные режимы достигаются при незначительных отклонениях частоты.
Система регулирования частоты вращения ротора ПТ должна содержать следующие элементы:
1) импульсный орган, измеряющий частоту вращения (регулятор скорости механического, гидравлического или электрического типов);
2) передаточный механизм, преобразующий и усиливающий управляющее воздействие от импульсного органа к исполнительному механизму (это механическая, гидравлическая, пневматическая или электрическая система передачи в виде рычагов, золотников, сервомоторов, соленоидов, электронных и электрических схем и др.);
3) исполнительный механизм, выполняющий команду импульсного органа на восстановление регулируемого параметра (это регулирующие клапаны, поворотные заслонки, поворотные диафрагмы).
3. Статическая характеристика регулирования
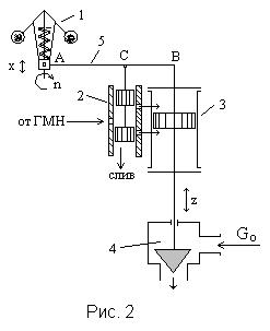
Рассмотрим схему регулирования ПТ с центробежным грузовым регулятором частоты вращения 1. С увеличением числа оборотов n центробежная сила на грузы увеличивается и муфта регулятора, сжимая пружину, поднимается, увлекая за собой рычаг 5 и поднимая поршень золотника 2. Масло от ГМН под давлением поступит в верхнюю полость сервомотора 3, а в нижней его полости откроется канал для слива масла. Поршень сервомотора переместится вниз, и регулирующий клапан приоткроет канал для прохода пара в ТП. Одновременно будет перемещаться вниз и поршень золотника (система обратной связи) устанавливая его (возвращая) в исходное (среднее) положение. Этим стабилизируется переходный процесс и обеспечивается устойчивость регулирования.
Совокупность установившихся режимов работы ПТ и положений органов ее систем регулирования изображается графически в виде развернутой статической характеристики регулирования (рис. 3).
В квадрате I – характеристика импульсного органа. В условиях эксплуатации ПТ она снимается на холостом ходу турбины, при этом от регулятора скорости отсоединяют передаточный механизм и изменяют частоту вращения ротора в пределах ±5% от номинальной (nо), замеряя перемещения муфты регулятора (x).
В квадрате II – характеристика передаточного механизма. Ее снимают на остановленной турбине, перемещая вручную муфту регулятора и замеряя положение регулирующего клапана.
В квадрате III – характеристика исполнительного механизма. Ее снимают при увеличении нагрузки турбины, записывая одновременно положение регулирующего клапана и мощность ПТ.
В квадрате IV – строится статическая характеристика регулирования частоты вращения n=f(Nэ) по трем ранее построенным характеристикам.
Как видно из характеристики (рис. 3), при изменении мощности частота вращения не остается постоянной, а несколько снижается с ростом Nэ.
Разница частот на холостом ходу (х.х.) и на номинальной нагрузке (Nэ ном), отнесенная к номинальной частоте вращения nо, носит название степени неравномерности регулирования частоты вращения ПТ

По ПТЭ d=(4,5±0,5)% или 4¸5%. При меньших значениях d трудно обеспечить достаточную устойчивость регулирования, а при больших ухудшается точность регулирования и возрастает динамическое повышение частоты вращения при сбросах нагрузки.
Статическая характеристика регулирования обычно имеет участки с разной крутизной (рис. 3а), которая характеризуется местной степенью неравномерности

Степень неравномерности при Nэ<0,15Nэном не регламентируется. Ее увеличение облегчает включение ТА в сеть, повышает устойчивость работы ПТ на х.х. и на малых нагрузках.
Регламентируется нижняя граница местной d – не менее 2%, что объясняется необходимостью исключить горизонтальные участки статической характеристики, на которых теряется устойчивость.
Приведенная на рис. 3. статическая характеристика является теоретической. Реальная статическая характеристика, полученная экспериментально при увеличении и уменьшении нагрузки ПТ, не является однозначной (рис. 3а).
Внутри заштрихованной зоны регулирование ²не чувствует² изменение параметров на ±Dn. Зона 2Dn называется областью нечувствительности, а ее отношение к номинальной частоте вращения называется степенью нечувствительности

Полная степень неравномерности с учетом нечувствительности

Степень нечувствительности (обусловленная главным образом силами трения и люфтами в механической передаче) ухудшает качество и снижает быстродействие регулирования. Кроме того, она имеет тенденцию ²накапливаться² с течением времени (выработка люфтов, загрязнение гидравлической системы и т.д.). Она регламентируется e£0,3%.