Двери
Окна
Окна и двери
Окна должны обеспечивать достаточную дневную освещенность помещений, необходимая степень которой устанавливается нормами.
Как ограждающие элементы, окна должны удовлетворять теплотехническим и акустическим требованиям. Они также должны быть увязаны с архитектурно - художественным решением фасадов и интерьеров.
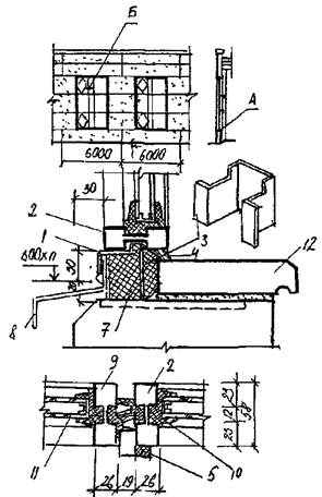
Заполнение оконного проема состоит из оконных переплетов, оконных коробок и оконной доски (рис. 112.).
Оконными переплетами называют остекленные элементы окон: - наружный и внутренний.
Они состоят из створок и фрамуг. Створки и фрамуги бывают открывающиеся и глухие. Открываются, как правило, вовнутрь.
По материалу изделия бывают:
а) деревянные, стальные и алюминиевые;
б) металлические (магазины) - пропускают больше света;
в) железобетонные - глухие;
г) из пластмасс - экспериментальные;
д) стеклоблоки и стеклопрофили (рис. 113.-116.).
Оконная коробка - это рама, в которую вставляются переплеты.
В коробку вводят горизонтальные и вертикальные импосты (при больших проемах). Они бывают раздельные и общие для обоих переплетов.
|
|
|
Подоконные доски бывают деревянные и железобетонные (рис. 112,115.).
Оконными переплетами - называют остекленные элементы окон: -наружный и внутренний.
Двери состоят из открывающихся полотен и дверной коробки однопольные, двупольные и полуторные.
По положению в здании: наружные, внутренние и шкафные. Наружные делятся на входные и балконные (рис. 112.).
Размеры дверей выбирают в зависимости от необходимой пропускной способности и габаритов мебели и оборудования.
Размеры полотен:
600, 700, 800, 900 и 1100 – однопольные;
1200, 1400 и 1800-двупольные;
h = 2000 и 2300 мм.
Глухие и остекленные для освещения вторым светом. Иногда вставляют в общую коробку - фрамугу. Коробка состоит из обвязки с четвертями, импост
при фрамуге.
Крепление дверных коробок производится аналогично оконным.
Дверные полотна по конструкции бывают щитовые и филенчатые.
Щитовые - сплошные или пустотелые щиты с обкладками или без них. (из склеенных деревянных реек, или из других стружечных плит).
Реечные с двух сторон облицовываются шпоном, фанерой или твердыми древесноволокняными плитами (рис. 117.).
Филенчатые состоят из обвязки, и филенок. Филенки бывают дощатые или из древесноволокняных плит.
(Щитовые - гигиеничны, дешевы - поэтому они вытеснили филенчатые).
В подвалах и хозяйственных постройках применяют плотничные двери (на планках и на шпонках).
На стройплощадку двери доставляются в дверных блоках - коробка с полотном и приборами.
ЗАПОЛНЕНИЕ ОКОННОГО ПРОЁМА

1-оконная коробка» 2 – гидроизоляция; 3 – конопатка; 4 – ж.б. перемычка; 5 – форточка; 6 – оконный откос; 7 – подоконная доска; 8 – ниша подоконно отопительного прибора; 9 – створка подоконного переплета; 10 – ветроостанов; 11 – шпингалет; 12 – подоконный наружный слив; 13 – деревянная пробка в стене для крепления коробок; 14 – оконная четверть; 15 – штанга фрамуги; 16 – фрамуга.
|
|
|

А – В распашные (А-однопольная; Б-полуторная; В-двупольная); Г – вращающаяся дверь – турникет; Д – подъёмная шторная; Е – откатная; Ж – прямораздвижная; И, К – шарнирно – складывающаяся; 1 - фрамуга
Рис. 112.
ТИПЫ И ГАБАРИТНЫЕ РАЗМЕРЫ ОКОН
| ОКНА | БАЛКОННЫЕ ДВЕРИ | ||||
|
ГАБАРИТНЫЕ РАЗМЕРЫ ДВЕРЕЙ С ДВОЙНЫМ ОСТЕКЛЕНИЕМ СЕРИИ С – СО СПАРЕННЫМ И Р – С РАЗДЕЛЬНЫМИ ПЕРЕПЛЕТАМИ ДЛЯ ЖИЛЫХ ДОМОВ
| ||||
| УСТАНОВКА ОКОННЫХ БЛОКОВ | |||||
| СО СПАРЕННЫМИ ПЕРЕПЛЕТАМИ | С РАЗДЕЛЬНЫМИ ПЕРЕПЛЕТАМИ | ||||
|
| 1 – коробка; 2 – переплет; 3 – упругая прокладка; 4 – наплыв; 5 – замазка; 6 – деревянный штапик; 7 – прорезь для отвода воды | |||
| ДЕТАЛИ УСТАНОВКИ ОКОННЫХ БЛОКОВ | |||||
| С РАЗДЕЛЬНЫМИ ПЕРЕПЛЕТАМИ | СО СПАРЕННЫМИ ПЕРЕПЛЕТАМИ | 1-1 | |||
|
Рис. 113.
| ||||
| 1 – деревянная антисептированная пробка; 2 – стальной костыль; 3 – слив из оцинкованной кровельной стали; 4 – герметик; 5 – конопатка; 6 – рубероид; 7 – штукатурка; 8 = ерш; 9 – подоконная доска; 10 – антисептированные доски при зазоре больше 35 мм | |||||
СВЕТОНЕПРОНИЦАЕМЫЕ СТЕНОВЫЕ ОГРАЖДЕНИЯ И ПАНЕЛИ ИЗ СТЕКОРА (ПО СЕРИИ 2.230 - 1), СТЕКЛОПАКЕТОВ И СТЕКЛОБЛОКОВ
| СТЕКОР ШВЕЛЛЕРНОГО, ДВОЙНОГО ШВЕЛЛЕРНОГО И КОРОБЧАТОГО СЕЧЕНИЯ | СТЕКЛОПАКЕТЫ | СТЕКЛОБЛОКИ | ||
| ||||
| УПЛОТНЕНИЕ СТЫКОВ ВО ВНУТРЕННИХ И ГЕРМЕТИЗАЦИЯ В НАРУЖНЫХ ОГРАЖДЕНИЯХ | УСТАНОВКА СТЕКЛОПАКЕТА В СТАЛЬНЫЕ И ДЕРЕВЯННЫЕ ПЕРЕПЛЕТЫ | |||
| ВАРИАНТЫ СОЕДИНЕНИЯ СТЕКОРА ШВЕЛЛЕРНОГО СЕЧЕНИЯ В НАРУЖНЫХ ОГРАЖДЕНИЯ |
| |||
| ||||
| ПРИМЕРЫ ПРИМЕНЕНИЯ СВЕТОПРОНИЦАЕМЫХ ОГРАЖДЕНИЙ | ||||
| В ПРОЁМАХ ЛЕСТНИЧНОЙ КЛЕТКИ | В СТЕНАХ ЛЕСТНИЧНОЙ КЛЕТКИ | В ВЫНОСНЫХ ТАМБУРАХ | ||
|
| |||
| В РАЗДЕЛИТЕЛЬНЫХ ЭКРАНАХ САНТЕХКАБИН И ЛОДЖИЙ | ||||
| ||||
Рис. 114.
СВОДНАЯ НОМЕНКЛАТУРА СВЕТОПРОНИЦАЕМЫХ ОГРАЖДЕНИЙ ИЗ СТЕКОРА И СТЕКЛОБЛОКОВ
| УСТАНОВКА ПАНЕЛИ ИЗ СТЕКЛОБЛОКОВ
|
УСТАНОВКА СТЕКОРА ШВЕЛЛЕРНОГО И КОРОБЧАТОГО СЕЧЕНИЯ, ШТУЧНОГО И СМОНТИРОВАННОГО В ПАНЕЛИ
ДЛЯ ВОСПРИЯТИЯ МОНТАЖНЫХ НАГРУЗОК ПРИ УСТАНОВКЕ ПАНЕЛЕЙ ВЕРХНИХ И НИЖНИХ КОРОБОК ИЗ ДЕРЕВА, ЖЕЛЕЗОБЕТОНА ИЛИ СТАЛЬНОГО ПРОКАТА СКРЕПЛЯЮТСЯ ТЯЖАМИ ИЗ Ø12÷16 ЧЕРЕЗ ≤ 1000. УДАЛЯЕМЫЕ ПОСЛЕ УСТАНОВКИ ТЯЖИ МОГУТ ПРОПУСКАТЬСЯ В ГАБАРИТЕ СТЕКОРА. ПРИ ПОШТУЧНОЙ УСТАНОВКЕ БОКОВИНЫ И ИМПОСТЫ КОРОБКИ ПОДДЕРЖИВАЮТ ВЕРШНИК; ЕСЛИ ВЕРШНИК КРЕПИТСЯ К ПЕРЕМЫЧКЕ, ОНИ НЕ НУЖНЫ
| В ДЕРЕВЯННОЙ КОРОБКЕ |
|
| |
| В ЖЕЛЕЗОБЕТОННОЙ КОРОБКЕ ИЛИ ПАНЕЛИ | В СТАЛЬНОЙ РАМЕ |
|
|
Рис. 115.
| ОКНА С АЛЮМИНИЕВЫМИ ПЕРЕПЛЕТАМИ | |
| 1 – переплет створки; 2 – коробка; 3 – утеплитель; 4 – штукатурка; 5 – стальная пружина; 6 – нащельник; 7 – самонарезающий винт; 8 – стекло; 9 – уплотнитель; 10 – штапик; 11 – эластичная прокладка; 12 – мастика; 13 – смоляная пакля; 14 – слив; 15 – термовкладыш; 16 – комбинированный переплет; 17 - стеклопакет |
ОКНА ИЗ ГНУТОСВАРНЫХ ПРОФИЛЕЙ
| 1 – нащельник; 2 – глухой переплет; 3 – сухарь; 4 – мастика; 5 – резиновые профили; 6 – нащельник притвора; 7 – утеплитель; 8 – слив; 9 – переплет фрамуги; 10 – резиновые профили; 11 – стеклопакет; 12 – подоконная плита |
Рис. 116.
| номенклатура входных дверей (входные и тамбурные) | Установка дверных блоков в наружных стенах | |||
ФАСАДЫ ДВЕРЕЙ
|
| |||
| ЛИСТОВОЙ КОНСТРУКЦИИ | ОБВЯЗОЧНОЙ | РЕШЕТЧАТО -ОСТЕКЛЕННОЙ | ||
| 1 – конопатка; 2 – толь; 3 – наличник; 4 – костыль;
5 – антисептированная
ДЕТАЛИ
КОНСТРУКЦИЙ ДВЕРЕЙ
1 – упругая прокладка;
2 – бумажно – слоистый пластик
УСТАНОВКА ДВЕРНЫХ БЛОКОВ ВО ВНУТРЕННИХ СТЕНАХ
| |||
| ВНУТРЕННИЕ ДЕРЕВЯННЫЕ ДВЕРИ | ||||
| ||||
| 1 – конопатка; 2 – толь; 3 – штукатурный слой; 4 – костыль; 5 – антисептированные деревянные пробки размером с кирпич | ||||
Рис. 117.
|
|
|
Слова, слова...
Итак, что же такое маркетинг? Что обычно принято понимать под этим новым для нас термином и как к нему следует относиться? Стоит ли допускать его в наш могучий русский язык, которым мы все так гордимся и который мы так любим, или, может быть, разумнее не обращать на него никакого внимания? А может быть, найти ему соответствующий аналог и не засорять родной язык всякими иностранными словами? Многие весьма уважаемые люди (ученые, писатели) так и думают, и их трудно упрекнуть в предвзятости оценок.
В последнее время в наш язык стало проникать действительно очень много иностранных слов, без которых в общем-то довольно легко можно было бы обойтись или к которым можно было бы весьма легко и без потери смысла подобрать соответствующие аналоги на русском языке. Но такой подход вряд ли будет приемлем относительно таких терминов, как "менеджмент", "маркетинг".
В частности, относительно менеджмента известный американский теоретик этой науки и практической сферы деятельности Питер Друкер заявил: "Термин "менеджмент" исключительно труден для понимания... Он специфически американского происхождения и едва ли может быть переведен на какой-либо другой язык, включая и английский язык Британских островов" [80].
Ну, уж если с одного английского на другой (тоже, кстати, английский) без потери смысла нельзя перевести эти слова, то на такой непохожий по структуре язык, как русский, тем более этого делать не стоит - ничего не получится. Кроме того, есть такая "неписаная" международная норма: если в какой-то стране появилось что-то новое (изобрели, создали, придумали), получившее название на языке данной страны, то и во всех других странах это новое, если его начинают применять, обозначают чужим для себя словом, отдавая тем самым дань уважения стране, предоставившей миру возможность пользоваться этим достижением. Так, искусственное тело, вращающееся вокруг Земли, во всех странах называют русским словом "спутник", и никого это не обижает, не коробит, никто не встает в благородную позу защитника родного языка и т.п. Таким образом, если мы решили использовать в своей хозяйственной практике концепции управления, разработанные не у нас, а за рубежом, то и мы в знак уважения к ее создателям и в полном соответствии с "неписаной" нормой международного общения должны называть их так, как они были названы у себя на родине, в частности маркетинг.
|
|
|
Рис. 113.
ФАСАДЫ ДВЕРЕЙ






