Структуры коммутационных систем и принципы установления соединения
В предыдущем разделе была рассмотрена структурная схема и внутристанционное соединение в системе, где коммутация и управление распределены по ступеням.
Теперь рассмотрим еще одну распределенную систему, где обслуживающее оборудование и функции распределены по модулям [74]. Каждый из модулей имеет ограниченную емкость и выполняет определенные функции. Это позволяет иметь систему, гибко адаптирующуюся как по емкости, так и по функциям.
В основе такой системы лежит понятие «модуль». Главное свойство модуля — он позволяет громадное разнообразие внешних терминалов и протоколов привести к единому виду, принятому для передачи и обработки в данной коммутационной системе. Происходит согласование одновременно двух потоков — информационного и сигнализации (протоколов обмена).
Информационный поток подразумевает переход от различного типа трактов (цифровых асинхронных и синхронных, аналоговых и других) к одному типу, используемому внутри системы (в настоящее время это синхронный цифровой тракт).
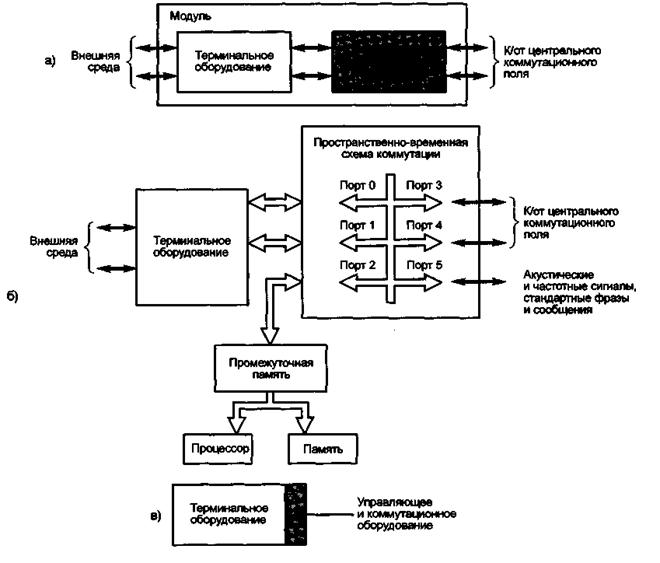
Поток сигнализации приводит многочисленные системы сигнализации (например, аналоговую или сигнализацию DSS, рассмотренную в первом разделе) к единому виду (в настоящее время это подобно отдельному каналу сигнализации, который будет рассмотрен в дальнейшем). Стандартный вид модуля представлен на рис. 14.
Модуль содержит две части — терминальную, управляющую. Задача терминальной части — взаимодействие с внешними источниками заданного типа и преобразование информационного потока к внутристанционному виду. Терминальная часть выделяет (или устанавливает в обратном направлении) сигналы управления и взаимодействия от/к внешнего источника и передает их в управляющую часть терминала.

Рис. 14 Принцип построения модуля: а) общий вид; б) состав управляющих и коммутационных устройств; в) условное обозначение.
Управляющая часть терминала содержит универсальный компьютер с ресурсами, достаточными для обработки задач, поступающих от источников, подключенных к данному модулю. Программное обеспечение этого компьютера можно разделить на две части:
обработка задач от внешних источников;
взаимодействие с другими модулями системы и выполнение общестанционных и общесистемных задач.
Состав и объем этого обеспечения имеет фиксированную часть для обслуживания источников и стандартного взаимодействия. В зависимости от емкости и задач, выполняемых системой, резервные ресурсы могут быть заняты общегрупповыми или общесистемными задачами.
В больших станциях для решения задач, не связанных с конкретными источниками, могут быть выделены групповые (например, модуль абонентских услуг для группы аналоговых абонентских модулей) или общесистемные модули (например, задача маршрутизации). Поскольку такие задачи не связаны с обработкой сигналов физического интерфейса, они содержат только управляющую часть.
В управляющем оборудовании содержатся два компонента:
- коммутационное поле;
- управляющее устройство.
На рис. 14, 6 показаны основные составляющие модуля. На рис. 14, в показано условное обозначение этого модуля. Часть, закрашенная серым цветом, соответствует управляющему и коммутационному оборудованию. Коммутационное поле модуля коммутирует информационные потоки к центральному коммутационному полю, а управляющую информацию — к процессору. Для обеспечения синхронизации процессор подключен через промежуточную память к одному из портов коммутационного поля. Это позволяет ему непосредственно подключаться к центральному полю и передавать необходимые сигналы управления в сторону внешних источников. Кроме того, при наличии специальной операционной системы он может иметь доступ к памяти другого модуля, что создает большие программные возможности и увеличивает возможность наращивания ресурсов.
Число информационных портов составляет два (как в сторону терминального оборудования, так и в сторону центрального поля), что повышает необходимую надежность системы. Еще один порт используется для подключения цифровых сигналов, которые в модуле могут быть преобразованы в стандартные акустические сигналы («ответ станции», «занято», «контроль посылки вызова»), а также для передачи звуковых объявлений (например, «абонент выключен из обслуживания») или стандартных фраз, записанных абонентом.
Структурная схема станции с полностью распределенным управлением изображена на рис. 15, где приведен один из возможных вариантов компоновки станции. Набор модулей позволяет реализовать внутристанционное соединение. На рисунке не показаны модули вызывных сигналов, технического обслуживания, которые являются обязательной принадлежностью станции и в том или ином количестве присутствуют в любой комплектации.

Рис. 15 Упрощенная структура станции с полностью распределенным управлением (S-12)
Рассмотрим функции изображенных на рисунке модулей.
Модуль аналоговых абонентских линий предназначен для взаимодействия с данным типом линии, получает и преобразует сигналы «абонент снял трубку», «абонент положил трубку». Осуществляет передачу в сторону абонента акустических сигналов «ответ станции», «посылка вызова», «контроль посылки вызова», «занято» и др. Все они, кроме сигнала «посылка вызова», подключаются ко входу модуля. Сигнал «посылка вызова» из-за относительно высокого напряжения коммутируется в абонентском модуле. Туда же подключаются некоторые цепи, контролирующие параметры абонентского шлейфа.
Модуль цифровых абонентских линий. Этот тип модуля предназначен для работы с цифровыми абонентскими линиями. Он также обеспечивает обмен сигналами при инсталляции цифровых линий и их обслуживании.
Модуль аналоговых соединительных линий предназначен для обеспечения работы с существующими станциями, которые передают информацию в аналоговой форме.
Модуль цифровых трактов обеспечивает работу с цифровыми трактами. Наиболее распространенными являются комплекты для работы с системами импульсно-кодовой модуляции.
Модуль многочастотных приемопередатчиков применяется при внутристанционной связи для принятия сигналов набора номера от частотного номеронабирателя. При входящей и исходящей связи он обеспечивает передачу управляющих сигналов к станциям координатной системы (например, АТС-КУ).
Далее идет группа модулей, не содержащих терминальной части. Это процессоры, обеспечивающие выполнение определенных задач. На рисунке они окрашены серым цветом.
Групповые модули управления абонентскими услугами управляют основными и дополнительными видами услуг. Например, проверяют возможность абонента пользоваться «исходящей связью» (в случае, если он принадлежит абонентской группе), принимать переадресованный вызов и т.д. В станциях малой емкости эти модули не используются, а их функции распределяются по другим модулям.
Системный модуль следит за наличием ресурсов в системе (например, при наличии нескольких модулей многочастотных приемопередатчиков собирает сведения о наличии в них свободного приемопередатчика). Он выполняет системные задачи, например, выбора направления и маршрута, тарификации.
Рассмотрим алгоритм работы этой системы при установлении внутристанционного соединения (рис. 16).
Модуль аналоговых абонентских линий определяет, что абонент А снял телефонную трубку (замкнулся шлейф абонентской линии), и посылает команды установления соединения модулям управления абонентскими услугами. Это необходимо для проверки возможных дополнительных видов обслуживания. После установления соединения посылается номер вызывающего абонента.

Рис. 16 Пример установления соединения с полностью децентрализованной системой коммутации
Модуль управления абонентскими услугами на основе полученной информации и абонентских данных, накопленных в его памяти, определяет, что абонент имеет аппарат с многочастотным набором и обращается к коммутационному полю с командами для установления соединения с системным модулем. Это необходимо для определения одного из модулей, в котором имеется свободный приемник многочастотного набора. Затем модуль передает ему запрос для установления соединения с модулем аналоговой абонентской линии (номер вызывающего абонента).
3. После получения необходимых сведений системный модуль осуществляет выбор одного из модулей многочастотных приемопередатчиков, передает команды на соединение с выбранным модулем многочастотных приемопередатчиков и передает в управляющее устройство этого модуля номер
исходящего абонента и запрос на поиск путей между ними.
4. Модуль многочастотных приемопередатчиков устанавливает путь к модулю аналоговых абонентских линий и по информационному каналу передает акустический сигнал «ответ станции».
5. После набора первой цифры отключается сигнал «ответ станции»и происходит соединение многочастотного модуля с модулем управления абонентскими услугами, после набора всех цифр в подсоединенный модуль передается информация о набранном номере (это также необходимо для дальнейшего управления дополнительными видами обслуживания).
6. По набранному номеру модуль управления абонентскими услугами
обращается к системному модулю, который определяет направление (в данном случае внутристанционное).
7. После определения направления системный модуль передает его номер модулю аналоговых абонентских линий (через модуль управления абонентскими услугами), и устанавливается соединение 7 между модулями абонентских линий А и Б.
8.Модульгруппы Б устанавливает соединение со своим модулем управления абонентскими услугами для осуществления дополнительных видов обслуживания (переадресация вызова).
9. Модули абонентских услуг устанавливают между собой соединение и в дальнейшем совместно управляют этапами «посылка вызова», «ответ абонента» и т.д. После ответа абонента Б все соединения со служебными модулями разрушаются и остаются соединения между абонентскими модулями.
10. После отбоя абонента (в данном случае А) устанавливается соединение с модулем управления абонентскими услугами, и это порождает межмодульный обмен для процесса «отбой».