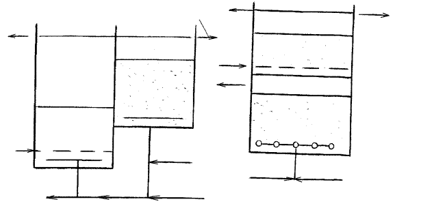
Доочищення біологічно очищених стічних вод виробляється в основному на микрофиль-трах і фільтрах із зернистим завантаженням.
Вибір типу фільтрів виробляється відповідно до вимог до ступеня доочищення й технико - економічних показників.
Мікрофільтри забезпечують видалення зважених речовин на 50...60% і БПКПОЛН -25...30 % при З
= 15...20 мг/л. Розмір комірок 40...70 мкм. У процесі експлуатації виробляється безперервне промивання фільтруючої сітки фільтрувальною водою. Витрата промивної води становить 2...5% загальної витрати оброблюваних стічних вод
Промивна вода повертається в канал перед первинними відстійниками або в аэротенки.
При розрахунку мікрофільтрів, розрахункова швидкість фільтрування приймається в межах 20...35м3/м2 година, втрати напору на сітці 100...150 мм.
У процесі експлуатації мікрофільтрів відбувається биообрастание сітки. Тому роблять періодичну обробку сітки хлорною водою.
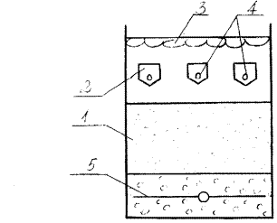
Широке застосування для доочищення стічних вод одержали фільтри із зернистим завантаженням з: кварцового піску, антрациту, доменних шлаків, керамзиту, щебенів, пенополистирола, пінополіуретану й ін.
Перед фільтрами, як правило, установлюють барабанні сітки з комірками 0,3...0,5 мм для видалення грубодисперсных домішок і вирівнювання концентрацій зважених речовин.
На зернах завантаження фільтрів утвориться біологічна плівка до складу якої входять аеробні мікроорганізми. Т.е. фільтруюче завантаження виконує роль біофільтра в якому тривають процеси біохімічного окислювання забруднень. Швидкість і глибина процесу залежать від концентрації розчиненого кисню.
Ефективність роботи швидких фільтрів із ІЗ
= 15...20 мг/л становить по зважених речовинах - 70...80%, по БПКПОЛН - 50...60%.
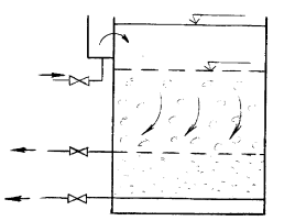
Інтенсифікувати фільтрування можна: насиченням біологічно очищених стічних вод киснем перед фільтруванням, що сприяє підвищенню ефекту очищення, шляхом попереднього посвітління стічної води напірною флотацією. Як флотатор використається обсяг фільтра розташований над фільтруючим завантаженням.


1. Фільтруюче завантаження; 2. Промивний жолоб; 3. Флотационный шлам; 4. Дірчасті труби для розподілу робочої рідини; 5. Дренажна система.
Стічна вода попередньо насичується повітрям (0,2...0,3 МПа, t = 3 хвилини) подається через дірчасті труби 4. Забруднення флотируются виділюваним повітрям, а прояснена вода фільтрується через завантаження й віддаляється дренажною системою 5.
Флотационный шлам віддаляється під час промивання фільтрів через жолоб 2.
При флотационном посвітлінні відпадає необхідність в установці перед фільтрами барабанних сіток, збільшується тривалість фильтроцикла, більш повно знижується БПК.
Для більше глибокого видалення органічних забруднень і насичення стічних вод кислоро-дом застосовують аэрируемые зернисті фільтри:
Двоступінчасті й двох'ярусні фільтри.








Застосовуються так само:
двошарові фільтри із завантаженням з антрациту або керамзиту й кварцового піску, що дозволяє збільшити швидкість фільтрування й подовжити тривалість фильтроцикла;
засипний^-засипні-каркасно-засипні фільтри з 40...60 мм завантаженням із гравію або щебенів (каркас) пори якої в нижній зоні засипані дрібнозернистим матеріалом (пісок, антрацит, мармурова крихта й т.д.) (0,8...1 мм). При промивання дрібнозернисте засипання зважується й происхо-дит промивання як завантаження так і каркаса;
фільтри із плаваючим завантаженням з пенополистирола й ін. матеріалів з

< 1.

Відпадає необхідність в установці барабанних сіток. Промивання виробляється вихідною не фільтрованою водою находящейся в надфільтровому просторі.
Відкриваємо засувки на трубопроводі відводу промивної води при цьому відбувається розширення завантаження й бурхливе перемішування гранул, і відмивання забруднень. При досягненні
промивання припиняють.
Робота фільтрів погіршується при підвищенні виносу активного мулу із вторинних отстой-ников (при збільшенні J
тобто “спуханні” мулу або при загниванні мулу у вторинних відстійниках), а також при кисневому голодуванні активного мулу в аэротенках і вторинних відстійниках.