ВОПРОС 2. Расчет деталей сцепных устройств
Дня оптимизации типоразмеров тяговых и седельных сцепных устройств, т. е. определение минимальных размеров при обеспечении работоспособности во всем диапазоне нагрузок, производят расчет деталей сцепных устройств.
Наиболее неблагоприятны нагрузки, возникающие при резком изменении тяговых или тормозных сил. Нагрузки зависят от ряда конструктивных и эксплуатационных факторов.
Конструктивные факторы:
– жесткость упругой связи;
– размеры зазоров в сцепных устройствах;
– величины и их отношение масс звеньев автопоезда.
На детали сцепных устройств действуют максимальные нагрузки (до силы тяжести тягача): Fкр max = Ga, где Ga – сила тяжести тягача. Эта нагрузка и принимается как расчетная.
Диаметр тягового стержня в наиболее опасном сечении рассчитывают по деформации растяжения, используя зависимость:
, (1)
где σ – статическое напряжение растяжения, МПа.
Для выполненных конструкций тягово-сцепных устройств при нагрузке равной силе тяжести тягача Fкр max = Ga значения статического напряжения растяжения σ принимают для небольших тягачей (типа ГАЗ-66 – 25 МПа), а для тягачей типа КрАЗ – 100 МПа. Для других типов тягачей принимают значение в указанном диапазоне.
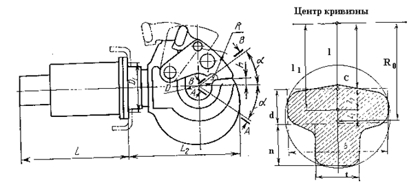
Рог тягового крюка, строго говоря, имеет непостоянную площадь сечения, но это изменение невелико, не превышает 7%, поэтому им пренебрегают. Это допущение незначительно сказывается на конечном результате, а расчеты существенно упрощаются.
Наиболее нагружено сечение А–А несколько ниже зева крюка. Его форма и геометрические размеры показаны на рис. 3.4. Опасные напряжения действуют в точке С. Напряжения растяжения от Fкр max суммируются с напряжениями от изгибающего момента Ми:
,(2)
где Rо – радиус кривизны бруса. Суммарные напряжения в точке С можно определить по формуле:
, (3)
где А – площадь поперечного сечения рога крюка; l – расстояние от центра кривизны бруса до рассчитываемой точки; l1 – расстояние от центра кривизны бруса до нейтрального слоя.

Рис. 3.4. Тяговый крюк
При критической максимальной нагрузке Fкр max = Ga значения расчетных напряжений σ достигают:
УАЗ-469 – 20 МПа,
ГАЗ-66 – 280 МПа,
ЗИЛ-131 – 560 МПа.