АЦ данной группы предназначены для транспортирования, кратковременного хранения и заправки техники отфильтрованным продуктом с замером выданного количества или для выполнения некоторых из этих функций.
Общее устройство автоцистерн:
– резервуар-цистерна;
– горловина для компенсации температурного расширения продукта с дыхательным клапаном и ограничителем наполнения;
– отстойник с водоотделителем;
– трубопроводные коммуникации;
– фильтры и счетчики;
– насос;
– уровнемер;
– волнорезы;
– пеналы, рукава (шланги).
У автопоезда резервуары тягача и прицепа соединены при помощи рукава, перекачка – насосом тягача.
Оборудование цистерны должно обеспечить выполнение следующих операций:
– наполнение цистерны, в том числе и сторонними насосами;
– выдача горючего из цистерны с помощью насоса или самотеком;
– перемешивание горючего в цистерне;
– откачка продукта из рукавов в цистерну.
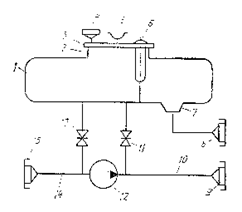
Для выполнения этих операций применяют самые различные технологические схемы оборудования в зависимости от объема выполняемых операций. Например, оборудование АЦ-4.2–53А предельно просто (рис. 9.1).
|
|
|

Рис. 9.1. Схема технологического оборудования автомобилей-цистерн АЦ-4,2-53А и АЦ-4,2-130: 1 – цистерна; 2 – горловина; 3 – крышка горловины; 4 – наливная горловина; 5 – дыхательный клапан; 6 – уровнемер; 7 – отстойник; 8 – сливной штуцер; 9 – штуцер напорного патрубка; 10 – напорный патрубок; 11, 13 – задвижки; 12 – насос; 14 – всасывающий патрубок; 15 – штуцер всасывающего патрубка
Оборудование АЦЗ-4,4-131 сложнее и позволяет выполнять еще и заправку техники (рис. 9.2).

Рис. 9.2. Схема технологического оборудования автомобиля-цистерны АЦЗ-4,4-131: 1 – цистерна; 2 – уровнемер; 3 – наливная горловина; 4 – дыхательный клапан; 5 – водоотделитель; 6, 7, 10, 22, 24 – задвижки; 8 – насос; 9 – предохранительный клапан; 11 – мановакуумметр; 12, 23 – вентили; 13 – фильтр грубой очистки; 14 – штуцер приемного патрубка; 15, 18 – раздаточные рукава; 16, 17 – раздаточные краны; 19 – счетчик жидкости; 20 – манометр; 21 – фильтр тонкой очистки; 25 – штуцер напорного патрубка
Кратко об устройстве и работе оборудования:
1. Ограничитель наполнения – поплавок, всплывая, замыкает электрическую цепь (герметичные контакты) или перемещает золотник отключения коробки отбора мощности для привода насоса. Кроме того, в горловине установлена калибровочная метка с точностью наполнения до одного литра.
2. Дыхательный клапан по назначению и принципу действия аналогичен клапанам пробки радиатора и служит для сокращения потерь паров нефтепродукта.
3. Отстойник предназначен для сбора подтоварной воды и снабжен поплавком с плотностью меньшей, чем у воды, но большей, чем у нефтепродукта. Таким образом, в чистом нефтепродукте поплавок тонет, а в скопившейся воде всплывает и перекрывает расположенный над ним вход во всасывающий трубопровод.
|
|
|
4. Трубопроводные коммуникации выполнены из стальных или алюминиевых труб и соединяют узлы и агрегаты технологической схемы, обеспечивая выполнение перечисленных выше операций.
5. Во всасывающем трубопроводе установлен фильтр грубой очистки (сетчатый), а в напорном – тонкой очистки и счетчик для замера количества выданного нефтепродукта. Раздаточные рукава оборудуют раздаточными кранами, а остальные – быстроразъемными соединениями с заглушками.
6. Уровнемер поплавкового типа. Поплавок, всплывая, поворачивает ось со стрелкой. Точность измерения незначительна, с погрешностью до 200 л. Уровнемер предназначен для ориентировочного определения заполнения резервуара.
7. Волнорезы предназначены для предотвращения быстрого перемещения массы продукта вдоль цистерны при частичном заполнении. В противном случае возможны гидравлические удары в днища и резкое смещение центра тяжести. Волнорезы представляют собой волнистые (для жесткости) перегородки с отверстиями, составленные из нескольких полотен (листов). Кренятся волнорезы вертикально, поперек цистерны к приваренным изнутри кольцам жесткости, изготовленным из уголка.
8. Рукава укладываются в пеналы или шкафы, приваренные справа и слева цистерны. Раздаточные рукава у некоторых автоцистерн наматываются на барабан.
9. Насосы на автоцистернах, как правило, самовсасывающие (не требующие заполнения перед перекачкой). Для перекачки горючего применяют центробежные с дополнительным вихревым колесом для обеспечения самовсасывания и вихревые насосы. Для перекачки масел – шестеренные. При эксплуатации шестеренных (объемных) насосов необходимо помнить, что они способны развивать большой напор (давление), ограничиваемое только мощностью привода и прочностью деталей. Поэтому очень важно следить за исправностью и работой редукционного клапана и включать насос при открытой задвижке напорной магистрали.
Автобитумовозы выпускают с хорошей теплоизоляцией и подогревателем мазута. Источник тепла – две стационарные керосиновые горелки, установленные в жаровых теплообменных трубах и одна переносная – для подогрева коммуникаций.
Подача насоса подбирается в зависимости от вместимости цистерны из расчета опорожния (заполнения) цистерны за 10–15минут.






