Системные представления о потребностях и мотивах
2.1. Потребности и мотивы – основные регуляторы целеполагания
Отечественная психология видит единственный источник психической активности в потребностях индивида и в субъективных переживаниях потребности – мотивах, а единственные цели – в удовлетворении потребностей и мотивов индивида.
При этом необходимо отметить, что категория цели не подвергалась должному анализу. Сама категория цели – управленческая категория и рассматривается в психологии в связи с тем, что психика всегда считалась связанной с управлением. Иными словами, когда говорят об источниках активизации психики, используют понятия потребности и мотива, а когда говорят об управлении процессом достижении этих потребностей и мотивов, используется понятие цели.
Достижение любой цели всегда связано с удовлетворением какого-либо определенного мотива. Необходимо отметить, что достижение определенных целей не ведет, как правило, к снижению активизации психики, поскольку удовлетворение одних потребностей и мотивов немедленно ведет к актуализации и достижению удовлетворения других.
|
|
|
Необходимо отметить, что у всех живых организмов должна быть какая-то наиболее общая инвариантная и устойчивая «цель жизни», определяющая все другие индивидуальные и ситуативные цели.
Различные психологические теории по-разному понимают такую цель жизни (хотя в явном виде они могут не содержать указаний на такую цель). Например, из контекста теории деятельности (и бихевиоризма) можно усмотреть такую цель жизни в эффективной социальной деятельности.
С точки зрения системной концепции, цель жизни – в развитии, причем жизнь является необходимым условием развития. Именно целенаправленная активность характерна для живого организма. Известное положение о том, что цель жизни в самой жизни, представляется недостаточно общим, потому что жизнь является обязательным условием развития, в то время как развитие, являясь более общим понятием, необязательно для жизни.
В отечественной психологии существуют три тенденции в понимании соотношения категорий мотив и деятельность.
1. Первая тенденция признает мотив как конкретное побуждение к деятельности, связанное с удовлетворением определенной потребности. Иными словами, мотив выступает как причина, а вся другая психическая активность, в том числе и деятельность, рассматривается как следствие. Эта тенденция в большей степени соответствует психологической парадигме, принятой большинством психологов во всем мире: в ней находит отражение классическая формула бихевиоризма – стимул–реакция.
|
|
|
2. Вторая тенденция, свойственная именно отечественной теории деятельности, состоит в том, что мотив понимается как предмет деятельности, который формируется и изменяется в процессе деятельности индивида. Иными словами, деятельность рассматривается как причина, а мотив – как следствие, вызванное этой причиной. Это – «бихевиоризм наоборот», с формулой «реакция–стимул».
Из истории отечественной психологии известно о научной дискуссии между представителями этих двух направлений, которая закончилась формальным признанием как прямой, так и обратной системной связи мотивов и деятельности. Однако признание детерминирующей, в некоторых случаях, роли мотивов не соответствует теории деятельности и, поэтому, фактически не вошло в отечественную психологическую традицию.
3. В соответствии с системной концепцией психики основная функция потребностей и мотивов как одного из элементов функциональной системы – психики – это целеполагание и активизация психики по достижению цели.
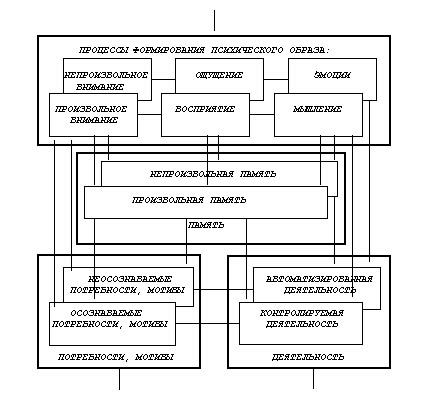
Потребности и мотивы связаны с другими ее элементами, включая деятельность, как прямыми, так и обратными связями. Именно в этом случае мотив выступает одновременно и как причина активизации психики, и как предмет, на который направлена деятельность индивида (рис. 4).

Рис. 4
В.А. Ядовым была разработана диспозиционная концепция, которая предполагает наличие у индивида не одной, а одновременно нескольких актуализированных целей и соответствующих им мотивов, которые можно представить в виде определенной иерархии по степени их общности.
С точки зрения системной концепции психики точно такую же иерархию можно построить, если проранжировать цели по их актуальности или важности для индивида.
Безусловно, существует очень сложная разветвленная система потребностей и мотивов, образующих различные иерархии, которые меняются по мере достижения тех или иных актуальных целей, причем некоторые мотивы не являются осознанными или осознаются не в полной мере.
Отвлекаясь от частностей, следует отметить, что потребности и мотивы, как один из элементов системы с обратной связью активизируют психику таким образом, что ее активность оказывается направленной на снижение актуальности и значимости или полное удовлетворение этих потребностей и мотивов. В технике такая связь называется отрицательной обратной связью.
Потребности и мотивы как элементы функциональной системы могут быть осознаваемыми, такими, например, как интересы, убеждения и стремления, и неосознаваемыми как установки. Причем осознаваемые мотивы традиционно считаются более важными, играющими «основную роль в направленности личности». Однако с точки зрения системной концепции психики, понимая сознание и «несознание» как два относительно самостоятельных контура управления жизнедеятельностью организма, их важность правильнее было бы считать равноценной друг другу.






