Принцип зарядовой независимости ядерных сил. Изотопический спин ядра
В 1932 г., когда был открыт нейтрон, природа ядерных сил всё ещё оставалась таинственной. Но уже к 1936 г. основные особенности ядерных сил были установлены. Очень много дал анализ данных по рр - и pn - рассеянию. После вычитания поправок, учитывающих влияние кулоновских сил в рр - рассеянии, оказалось, что рр - и pn - адронные силы имеют примерно равную величину и приблизительно одинаковый радиус действия. Эти эксперименты позволили следующим образом сформулировать принцип зарядовой независимости ядерных сил.
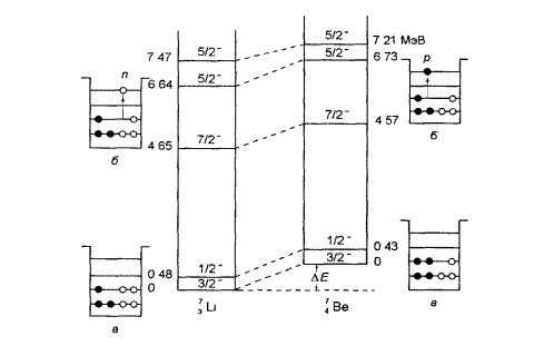
Зарядовая независимость ядерных сил привела к введению нового сохраняющегося квантового числа – изоспина (I). Ещё в 1932 г. Гейзенберг стал рассматривать нейтрон и протон как два состояния одной частицы – нуклона. Он предположил, что если не учитывать электромагнитного взаимодействия, эти две частицы неразличимы как по массе, так и по спину. Идея о том, что нейтрон и протон – два состояния одной и той же частицы –нуклона, подкрепляется изучением структуры уровней зеркальных ядер (пример сравнение уровней ядер
; (см. рис. 3.4).
Чтобы описать два рассматриваемых состояния нуклона, вводят изоспиновое пространство и используют аналогию с двумя спиновыми состояниями частицы со спином ½, вводя при этом новое квантовое число I =1/2, которое называется изоспином. По своим формальным свойствам изоспин полностью аналогичен обычному моменту количества движения, в частности пространственному спину. В терминах этого нового квантового числа протон и нейтрон отличаются проекциями ±1/2 изоспина на некоторую ось квантования, аналогичную обычной оси z, но уже в другом, формальном трёхмерном евклидовом пространстве – изоспиновом или зарядовом.
Таким образом, формально пару протон – нейтрон можно рассматривать как два зарядовых состояния одной частицы, называемой нуклоном, и имеющиеся различия между протоном и нейтроном –небольшое различие в массах и разный магнитный момент –приписать электромагнитному взаимодействию.
Выбор в качестве изоспинового вектора нуклона вектора, характеризуемого квантовым числом I =1/2, обусловлен необходимостью иметь две возможные проекции этого вектора (±1/2) на одну из осей зарядового пространства, отвечающие двум зарядовым состояниям нуклона. Выбор знака проекции для протона и нейтрона произволен. Принято обозначать оси изоспинового пространства цифрами 1,2,3. Как обычно для квантовомеханического вектора, определённое значение может иметь проекция изоспина лишь на одну из осей (аналог оси z). Условились считать, что (I3)p=+1/2, (I3)n= -1/2
Итак, мы видим, что с формальной точки зрения всё действительно обстоит также, как и с обычным спином. Два состояния частицы с обычным спином ½, различающиеся проекциями на ось z, рассматривают не как две различные частицы, а как состояния одной и той же частицы (см. рис 3.5).

Рис. 3.4. Изодублеты (I =1/2) уровней ядер
. Схематически показано расположение нуклонов по уровням в ядерной потенциальной яме для изодублетов основных (а) и возбуждённых (б) состояний
____________________________________________________ Аналогично протон и нейтрон можно считать не двумя разными частицами, а двумя зарядовыми состояниями одной частицы – нуклона с изоспином, направленным в зарядовом пространстве либо вдоль оси 3 (протон), либо вниз (нейтрон).
Рис. 3.5. Векторы состояний протона и нейтрона в изопространстве.
Формализм изоспина идентичен формализму обычного спина. Удобно обозначать состояния с I и I 3 как ½ I, I 3 ñ, тогда нейтронное и протонное состояния нуклона можно записать как
, (3.17)
причём
. (3.18)
Из зарядовой независимости ядерного (сильного) взаимодействия следует, что куда бы ни был повёрнут вектор изоспина, это взаимодействие не меняется, т. е. система сильновзаимодействующих частиц (в данном случае нуклонов) инвариантна относительно поворотов в изоспиновом пространстве. Физический смысл имеет только третья проекция изоспина. Она связана с измеряемой величиной –электрическим зарядом. Заряд нуклона qN даётся выражением
(3.19)
Лекция 4. Атомные ядра – связанные системы нуклонов.






